Запчасти Komatsu WA150-1 БОКОВ. СДВИГ¤ PITCH И ANGLE SNOW PНИЗ. (ЦИЛИНДР НАКЛОНА ЛИНИЯ)(№(9)-) СПЕЦ. APPLICATION ЧАСТИ

Схема запчастей Komatsu WA150-1 - БОКОВ. СДВИГ¤ PITCH И ANGLE SNOW PНИЗ. (ЦИЛИНДР НАКЛОНА ЛИНИЯ)(№(9)-) СПЕЦ. APPLICATION ЧАСТИ
FIT
1:1
100%

Артикул

Название

Примечание

Количество

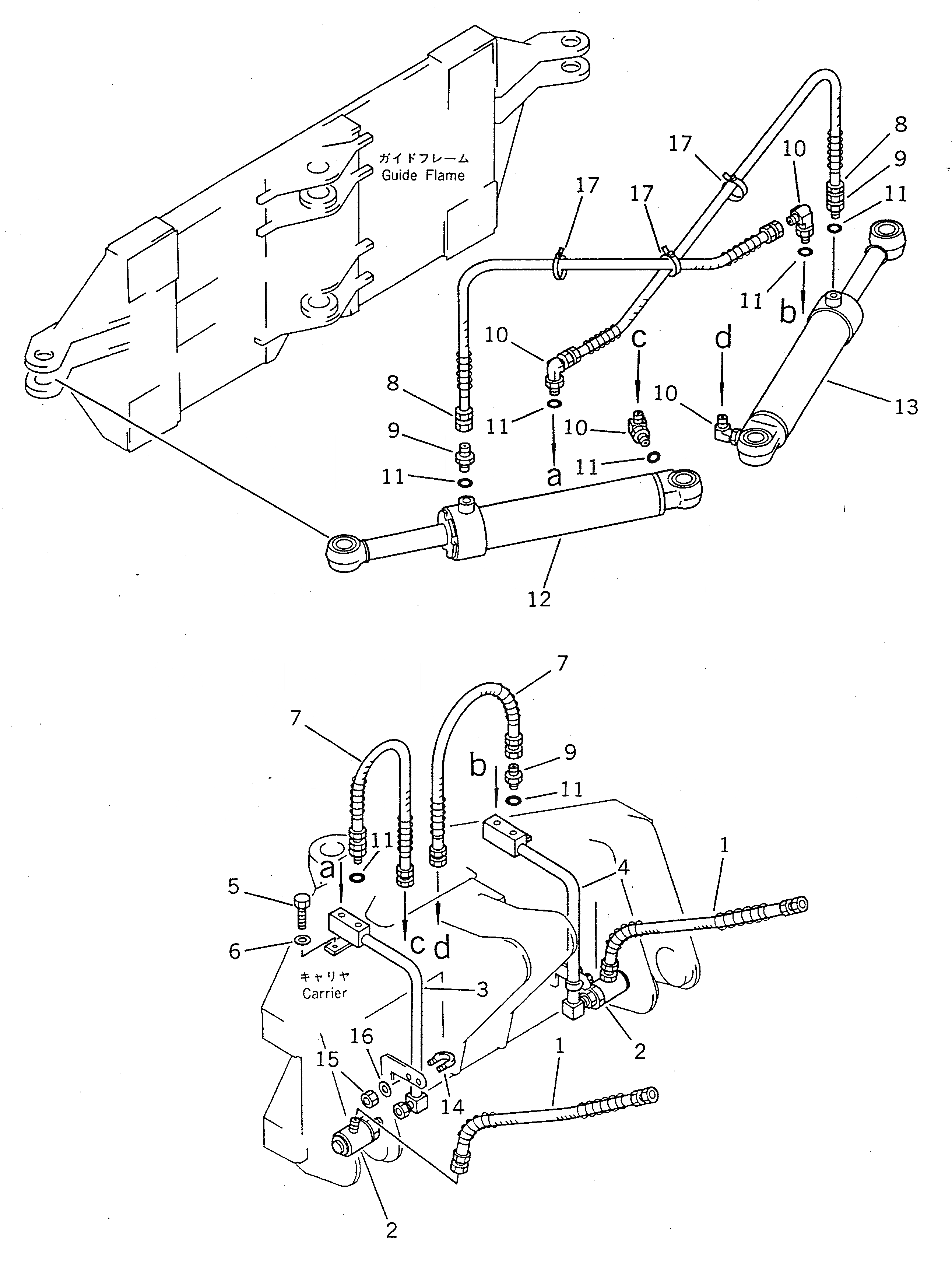
1

416-904-1220

HOSE

SN: .-UP

2шт.

|1

07123-20408

HOSE

SN: 10001-.

2шт.

2

41H-914-1250

JOINT,SWIVEL

SN: .-UP

2шт.

|2

07129-10400

JOINT,SWIVEL

SN: 10001-.

2шт.

3

416-904-1311

TUBE

SN: .-UP

1шт.

|3

416-904-1310

TUBE

SN: 10001-.

1шт.

4

416-904-1321

TUBE

SN: .-UP

1шт.

|4

416-904-1320

TUBE

SN: 10001-.

1шт.

5

01010-31020

BOLT

SN: 10001-UP

2шт.

6

01643-31032

WASHER

SN: 10001-UP

2шт.

7

07123-20307

HOSE

SN: 10001-UP

2шт.

8

07123-20311

HOSE

SN: (009)-UP

2шт.

9

07230-10315

UNION

SN: (009)-UP

4шт.

10

07235-10315

ELBOW

SN: (009)-UP

4шт.

11

07002-12034

O-RING

SN: 10001-UP

8шт.

12

707-00-80061

CYLINDER ASS'Y,L.H.

SN: (009)-UP

1шт.

13

707-00-80071

CYLINDER ASS'Y,R.H.

SN: (009)-UP

1шт.

14

07283-22236

CLIP

SN: 10001-UP

2шт.

15

01599-01011

NUT

SN: 10001-UP

4шт.

16

01643-31032

WASHER

SN: 10001-UP

4шт.

17

08034-00823

BAND

SN: (009)-UP

3шт.

Выбрано товаров: 21