Запчасти Komatsu WA150-1 ПЕДАЛЬ АКСЕЛЕРАТОРАAND МЕХАНИЗМ(№-) КОМПОНЕНТЫ ДВИГАТЕЛЯ И ЭЛЕКТРИКА

Схема запчастей Komatsu WA150-1 - ПЕДАЛЬ АКСЕЛЕРАТОРАAND МЕХАНИЗМ(№-) КОМПОНЕНТЫ ДВИГАТЕЛЯ И ЭЛЕКТРИКА
FIT
1:1
100%

Артикул

Название

Примечание

Количество

|1

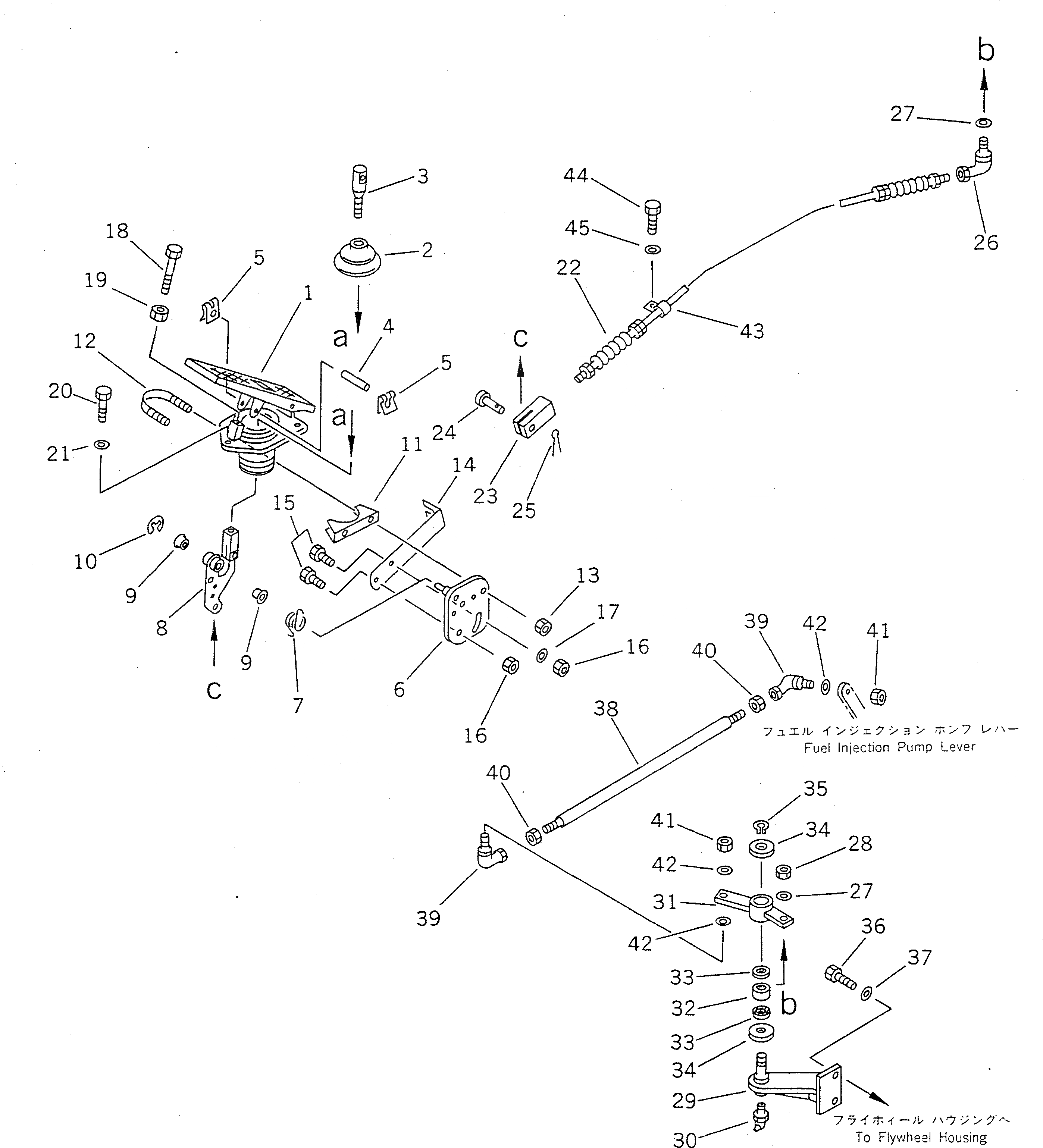
417-43-11200

PEDAL ASS'Y

SN: 20001-UP

1шт.

1

417-43-11210

PEDAL AND BODY A.

SN: 20001-UP

1шт.

2

417-43-11360

BOOT

SN: 20001-UP

1шт.

3

417-43-11310

ROD

SN: 20001-UP

1шт.

4

417-43-11320

PIN

SN: 20001-UP

1шт.

5

417-43-11330

CLIP

SN: 20001-UP

2шт.

6

417-43-11220

PLATE

SN: 20001-UP

1шт.

7

417-43-11240

SPRING

SN: 20001-UP

1шт.

8

417-43-11230

LEVER

SN: 20001-UP

1шт.

9

417-43-11250

BEARING

SN: 20001-UP

2шт.

10

417-43-11260

CLIP

SN: 20001-UP

1шт.

11

417-43-11290

SUPPORT

SN: 20001-UP

1шт.

12

417-43-11270

U-BOLT

SN: 20001-UP

1шт.

13

417-43-11280

NUT

SN: 20001-UP

2шт.

14

417-43-11340

SUPPORT

SN: 20001-UP

1шт.

15

01010-50616

BOLT

SN: 20001-UP

2шт.

16

417-43-11350

NUT

SN: 20001-UP

2шт.

17

01643-30623

WASHER

SN: 20001-UP

1шт.

18

01010-50860

BOLT

SN: 20001-UP

1шт.

19

01580-10806

NUT

SN: 20001-UP

1шт.

20

01010-50620

BOLT

SN: 20001-UP

3шт.

21

01643-30623

WASHER

SN: 20001-UP

3шт.

22

417-43-11612

CABLE

SN: 20001-UP

1шт.

23

04210-20624

YOKE

SN: 20001-UP

1шт.

24

04205-10620

PIN

SN: 20001-UP

1шт.

25

04050-11612

PIN,COTTER

SN: 20001-UP

1шт.

26

424-09-12450

JOINT

SN: 10001-UP

1шт.

27

01643-30623

WASHER

SN: 10001-UP

2шт.

28

426-09-11130

NUT

SN: 10001-UP

1шт.

29

417-43-11152

BRACKET

SN: 10568-UP

1шт.

30

07020-00900

FITTING,GREASE

SN: 10001-UP

1шт.

31

417-43-11142

LEVER

SN: 20001-UP

1шт.

32

06120-01612

BEARING,NEEDLE

SN: 10001-UP

1шт.

33

06122-01603

SEAL,BEARING

SN: 10001-UP

2шт.

34

01643-31645

WASHER

SN: 10001-UP

2шт.

35

04064-01610

RING,SNAP

SN: 10001-UP

1шт.

36

01010-51030

BOLT

SN: 10568-UP

2шт.

37

01643-31032

WASHER

SN: 10001-UP

2шт.

38

416-855-1530

ROD

SN: 20001-UP

1шт.

39

424-09-12450

JOINT

SN: 10001-UP

2шт.

40

01580-10605

NUT

SN: 10001-UP

2шт.

41

426-09-11130

NUT

SN: 10001-UP

2шт.

42

01643-30623

WASHER

SN: 10001-UP

3шт.

43

08036-01814

CLIP

SN: 20001-UP

1шт.

44

01010-51016

BOLT

SN: 20001-UP

1шт.

45

01643-31032

WASHER

SN: 20001-UP

1шт.

Выбрано товаров: 46