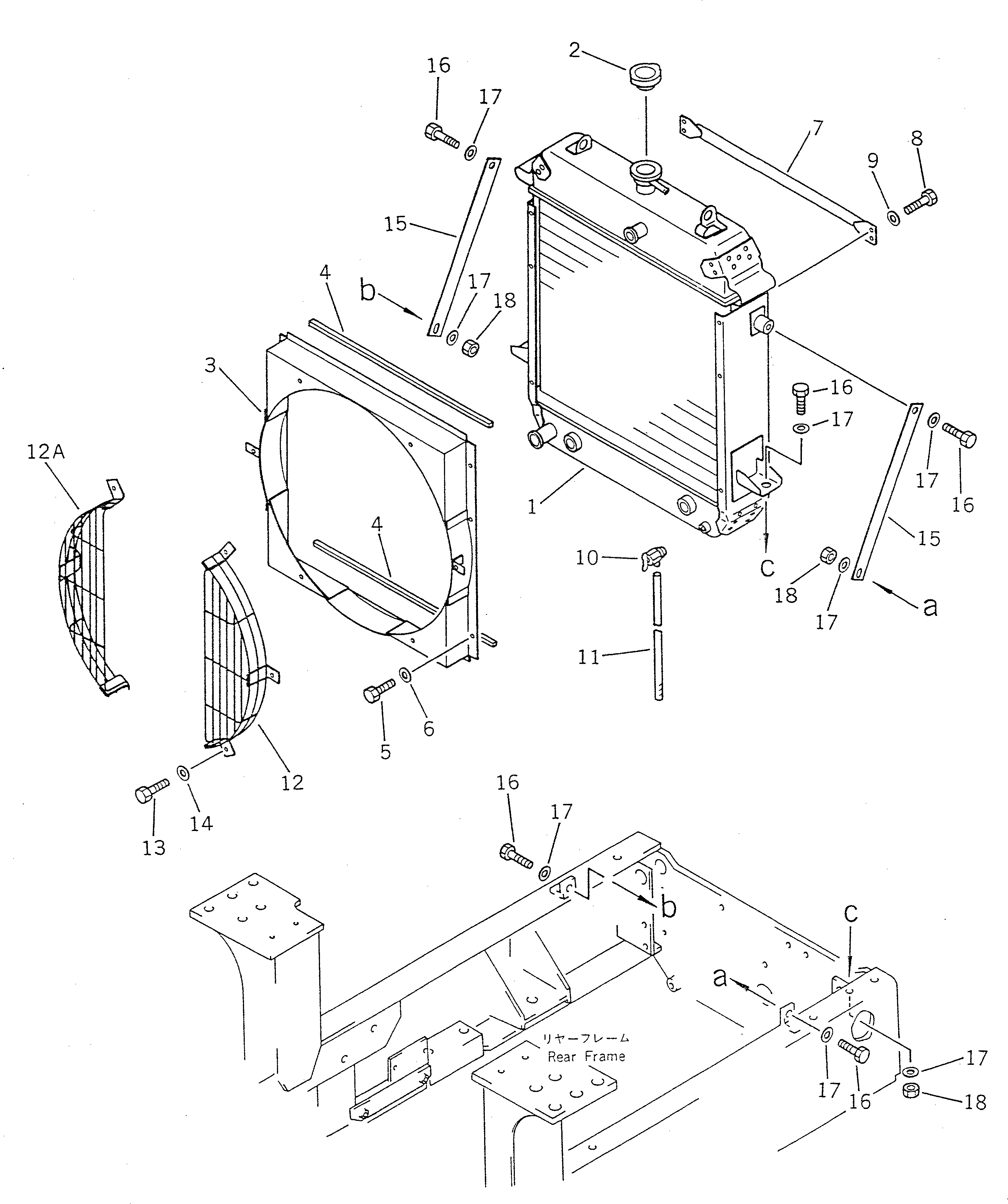
Запчасти Komatsu WA150-1 РАДИАТОР(№-9999) КОМПОНЕНТЫ ДВИГАТЕЛЯ И ЭЛЕКТРИКА

Схема запчастей Komatsu WA150-1 - РАДИАТОР(№-9999) КОМПОНЕНТЫ ДВИГАТЕЛЯ И ЭЛЕКТРИКА
FIT
1:1
100%

Артикул

Название

Примечание

Количество

|1

417-03-11100

RADIATOR ASS'Y

SN: 10001-19999

1шт.

1

417-03-11110

CORE ASS'Y

SN: 10001-19999

1шт.

2

23S-03-11150

CAP ASS'Y

SN: 10001-19999

1шт.

3

416-03-11120

SHROUD

SN: 10001-19999

1шт.

4

416-03-11130

PACKING

SN: 10001-19999

2шт.

5

01010-50616

BOLT

SN: 10001-19999

6шт.

6

01643-30623

WASHER

SN: 10001-19999

6шт.

7

416-03-11140

STAY

SN: 10001-19999

1шт.

8

01010-50620

BOLT

SN: 10001-19999

4шт.

9

01643-30623

WASHER

SN: 10001-19999

4шт.

10

419-03-11340

VALVE,DRAIN

SN: 10001-19999

1шт.

11

416-03-11150

HOSE

SN: 10001-19999

1шт.

12

417-03-10220

GUARD,FAN

SN: 10001-@

1шт.

|12

417-963-1530

GUARD,FAN (FOR AIR CONDITIONER)

SN: 10001-19999

1шт.

12A

417-03-10220

GUARD,FAN

SN: 10001-@

1шт.

13

01010-31025

BOLT

SN: 10001-@

6шт.

14

01643-31032

WASHER

SN: 10001-@

6шт.

15

417-03-10210

PLATE

SN: 10001-19999

2шт.

16

01010-31440

BOLT

SN: 10001-19999

6шт.

17

01643-31445

WASHER

SN: 10001-19999

10шт.

18

01580-01411

NUT

SN: 10001-19999

4шт.

Выбрано товаров: 21