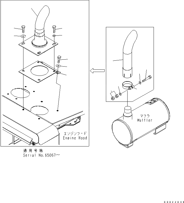
Запчасти Komatsu WA150-5-A ВЫХЛОПНАЯ ТРУБА КОМПОНЕНТЫ ДВИГАТЕЛЯ

Схема запчастей Komatsu WA150-5-A - ВЫХЛОПНАЯ ТРУБА КОМПОНЕНТЫ ДВИГАТЕЛЯ
1
1
2
2
3
3
4
5
5
6
6
7
8
9
FIT
1:1
100%

Артикул

Название

Примечание

Количество

1

416-02-31210

PIPE

SN: 65067-UP

1шт.

|1

416-02-31122

PIPE

SN: 65001-65066

1шт.

2

416-02-31152

BRACKET

SN: 65067-UP

1шт.

|2

416-02-31160

CLAMP

SN: 65001-65066

1шт.

3

01010-81230

BOLT

SN: 65067-UP

2шт.

|3

01010-81070

BOLT

SN: 65001-65066

1шт.

4

01643-31032

WASHER

SN: 65001-65066

1шт.

5

175-54-34170

WASHER

SN: 65067-UP

2шт.

|5

01643-31032

WASHER

SN: 65001-65066

1шт.

6

01010-81225

BOLT

SN: 65067-UP

2шт.

|6

01580-11008

NUT

SN: 65001-65066

2шт.

7

175-54-34170

WASHER

SN: 65067-UP

2шт.

8

01010-81225

BOLT

SN: 65067-UP

2шт.

9

01643-31232

WASHER

SN: 65067-UP

2шт.

Выбрано товаров: 0