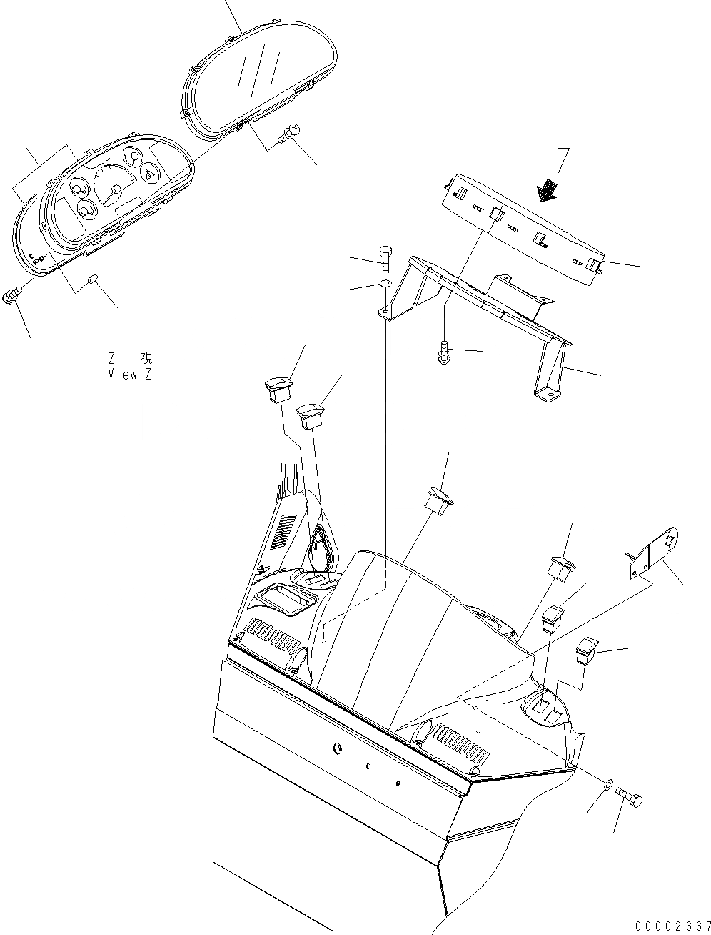
Запчасти Komatsu WA150-5 ПОЛ (ОСНОВН. МОНИТОР) K OPERATORґS ОБСТАНОВКА И СИСТЕМА УПРАВЛЕНИЯ

Схема запчастей Komatsu WA150-5 - ПОЛ (ОСНОВН. МОНИТОР) K OPERATORґS ОБСТАНОВКА И СИСТЕМА УПРАВЛЕНИЯ
2
4
1
4
3
8
9
15
14
1
12
11
10
7
6
13
5
15
14
FIT
1:1
100%

Артикул

Название

Примечание

Количество

1

418-06-35113

MONITOR

SN: H50001-UP

1шт.

2

418-06-35140

GLASS

SN: H50001-UP

1шт.

3

418-06-35150

VALVE

SN: H50001-UP

20шт.

4

418-06-35160

SCREW

SN: H50001-UP

14шт.

5

418-06-36110

SWITCH

SN: H50001-UP

1шт.

6

418-06-36120

SWITCH

SN: H50001-UP

1шт.

7

418-06-36130

SWITCH

SN: H50001-UP

1шт.

8

418-06-36140

SWITCH

SN: H50001-UP

1шт.

9

418-06-36150

SWITCH

SN: H50001-UP

1шт.

10

418-06-36230

PLUG

SN: H50001-UP

2шт.

11

01023-20616

SCREW

SN: H50001-UP

6шт.

12

418-926-3613

SUPPORT

SN: H50001-UP

1шт.

13

418-926-3651

BRACKET

SN: H50001-UP

1шт.

14

01010-80620

BOLT

SN: H50001-UP

8шт.

15

01643-30623

WASHER

SN: H50001-UP

8шт.

Выбрано товаров: 15