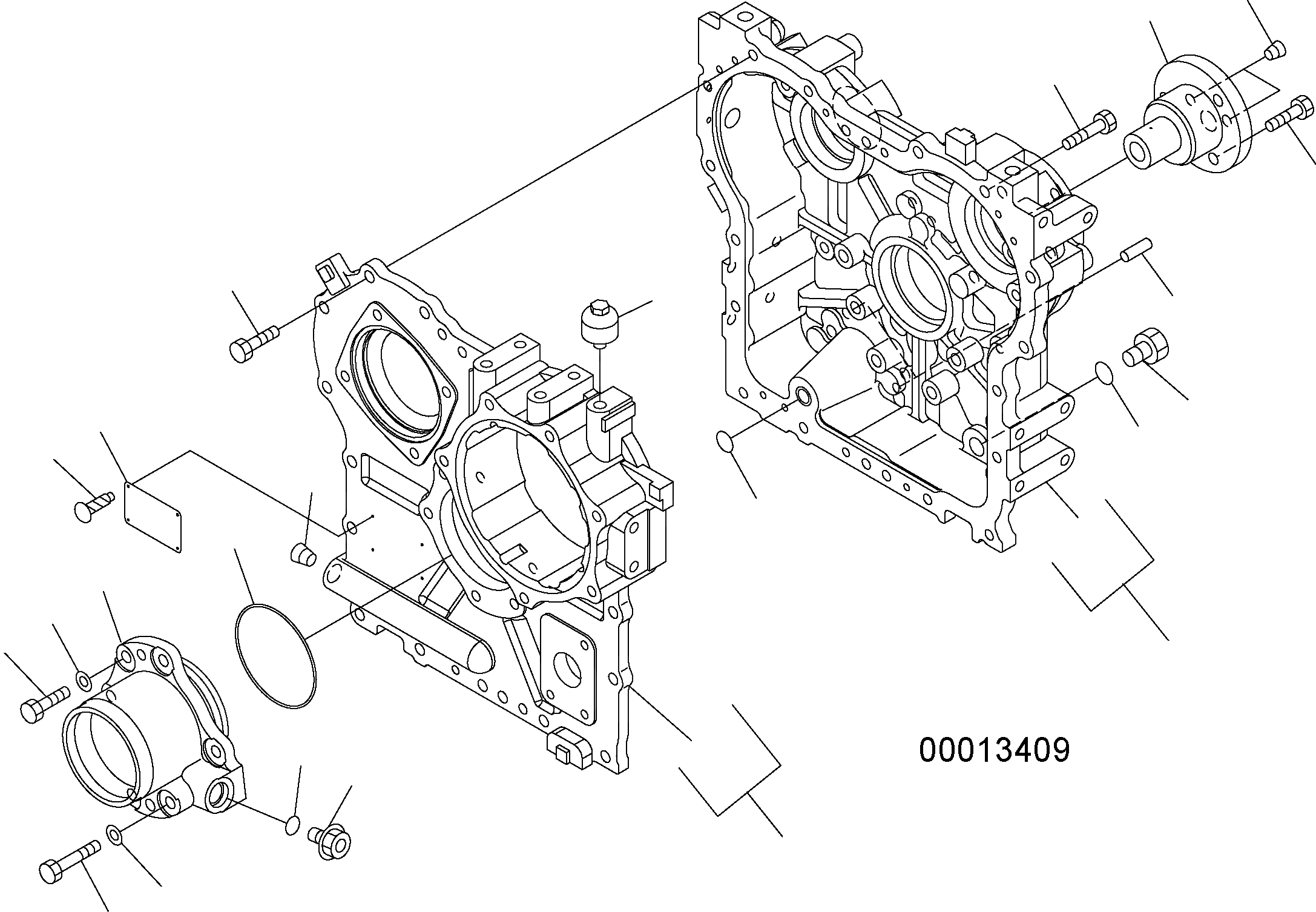
Запчасти Komatsu WA150PZ-5 ПЕРЕДАЧА (/ - КОРПУС) F ТРАНСМИССИЯ

Схема запчастей Komatsu WA150PZ-5 - ПЕРЕДАЧА (/ - КОРПУС) F ТРАНСМИССИЯ
12
11
4
13
3
10
6
22
19
23
20
7
21
5
2
14
16
15
1
9
8
1
18
17
1A
FIT
1:1
100%

Артикул

Название

Примечание

Количество

1

416-17-31101

CASE

SN: H50001-UP

1шт.

1A

416-17-31111

CASE

SN: H50001-UP

1шт.

2

416-17-31121

CASE

SN: H50001-UP

1шт.

3

01010-81235

BOLT

SN: H50001-UP

17шт.

4

01010-81260

BOLT

SN: H50001-UP

1шт.

5

07000-73022

O-RING

SN: H50001-UP

1шт.

6

04020-01228

PIN

SN: H50001-UP

2шт.

7

07043-70415

PLUG

SN: H50001-UP

1шт.

8

07044-12412

PLUG

SN: H50001-UP

1шт.

9

07002-12434

O-RING

SN: H50001-UP

1шт.

10

07030-00252

BREATHER

SN: H50001-UP

1шт.

11

416-17-32811

SHAFT

SN: H50001-UP

1шт.

12

07043-A0211

PLUG

SN: H50001-UP

2шт.

13

01010-81235

BOLT

SN: H50001-UP

3шт.

14

416-17-36130

CAGE

SN: H50001-UP

1шт.

15

01010-81235

BOLT

SN: H50001-UP

4шт.

16

01643-31232

WASHER

SN: H50001-UP

4шт.

17

01010-81275

BOLT

SN: H50001-UP

2шт.

18

01643-31232

WASHER

SN: H50001-UP

2шт.

19

07040-12412

PLUG

SN: H50001-UP

1шт.

20

07002-12434

O-RING

SN: H50001-UP

1шт.

21

07000-75110

O-RING

SN: H50001-UP

1шт.

22

09608-05080

PLATE, NAME

SN: H50001-UP

1шт.

23

04418-13060

SCREW

SN: H50001-UP

4шт.

Выбрано товаров: 24