Запчасти Komatsu WA180-1 ТОПЛ. БАК И ТОПЛИВОПРОВОД КОМПОНЕНТЫ ДВИГАТЕЛЯ И ЭЛЕКТРИКА

Схема запчастей Komatsu WA180-1 - ТОПЛ. БАК И ТОПЛИВОПРОВОД КОМПОНЕНТЫ ДВИГАТЕЛЯ И ЭЛЕКТРИКА
FIT
1:1
100%

Артикул

Название

Примечание

Количество

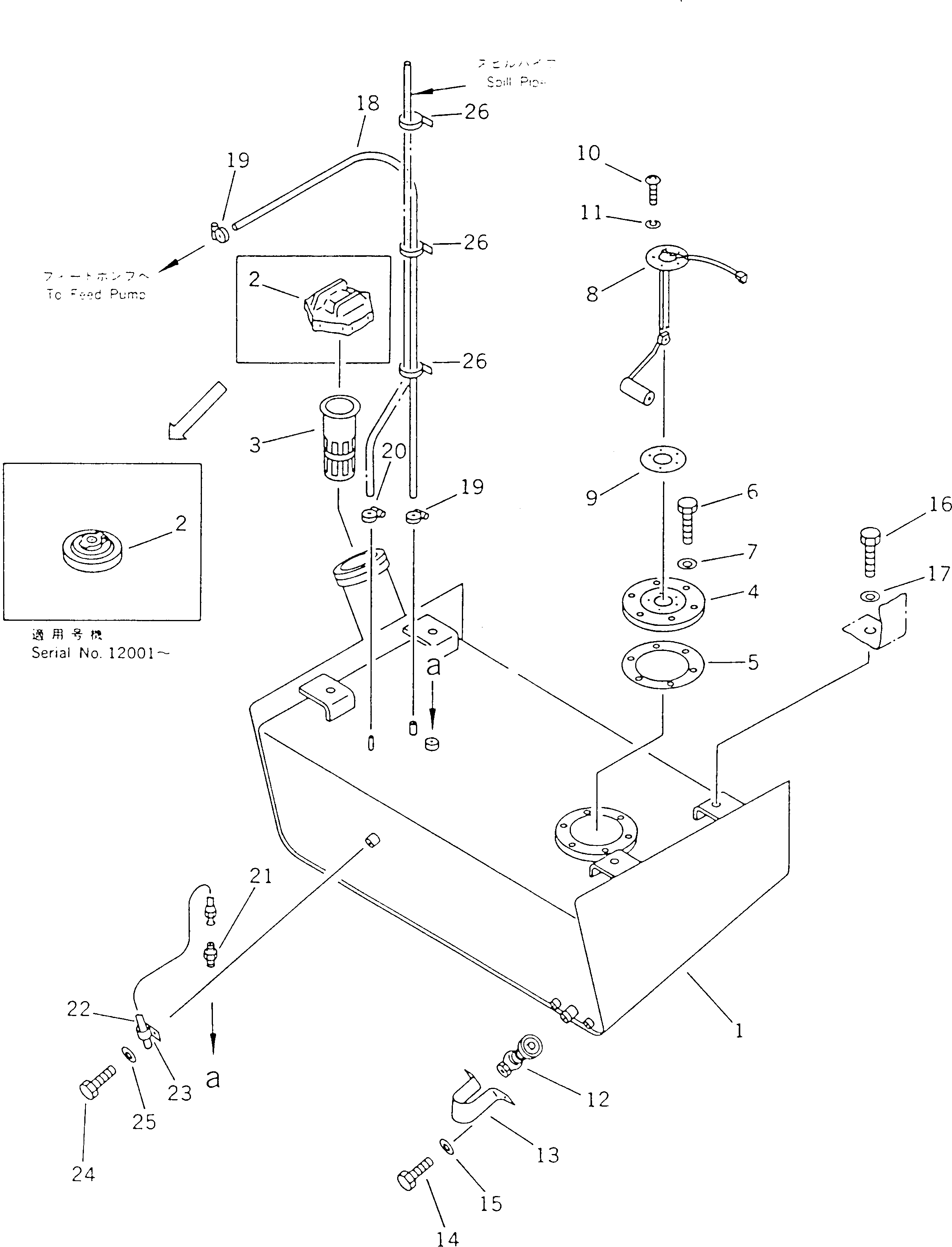
1

417-04-10230

TANK

SN: 12001-UP

1шт.

1

417-04-10114

TANK

SN: 10001-11999

1шт.

1

417-04-10210

TANK,(WA180-1D)

SN: 10001-11999

1шт.

2

423-04-11360

CAP,(WITH LOCK)

SN: 12001-UP

1шт.

2

19M-04-11220

CAP,(WITH LOCK)

SN: 10001-11999

1шт.

2

421-04-11260

CAP,(WITHOUT LOCK)

SN: 10001-11999

1шт.

2

07050-21202

GASKET

SN: 10001-UP

1шт.

3

07056-18416

STRAINER

SN: 10001-UP

1шт.

4

416-04-10150

COVER

SN: 10001-UP

1шт.

5

421-04-11191

GASKET

SN: 10001-UP

1шт.

6

01010-51030

BOLT

SN: 10001-UP

6шт.

6

0

BOLT

SN: (10001-10257)

6шт.

7

01643-31032

WASHER

SN: 10001-UP

6шт.

8

417-04-10131

SENSOR,LEVEL

SN: 10001-UP

1шт.

9

419-04-10140

GASKET

SN: 10001-UP

1шт.

10

01220-40512

SCREW

SN: 10001-UP

5шт.

11

01601-20513

WASHER,SPRING

SN: 10001-UP

5шт.

12

416-04-10130

VALVE

SN: 10001-UP

1шт.

13

417-04-10140

COVER

SN: 10001-UP

1шт.

14

01010-30820

BOLT

SN: 10001-UP

2шт.

15

01643-30823

WASHER

SN: 10001-UP

2шт.

16

01010-31235

BOLT

SN: 10001-UP

4шт.

17

175-54-34170

WASHER

SN: 10001-UP

4шт.

18

07270-21049

TUBE

SN: 10001-UP

1шт.

19

07281-00197

CLAMP

SN: 10001-UP

2шт.

20

07280-00910

CLAMP

SN: 10001-UP

1шт.

21

07214-51013

CONNECTOR

SN: 10001-UP

1шт.

22

417-04-10120

TUBE

SN: 10001-UP

1шт.

23

424-04-11120

CLIP

SN: 10001-UP

1шт.

24

01010-31016

BOLT

SN: 10001-UP

1шт.

25

01643-31032

WASHER

SN: 10001-UP

1шт.

26

08034-00519

BAND

SN: 10001-UP

3шт.

Выбрано товаров: 32