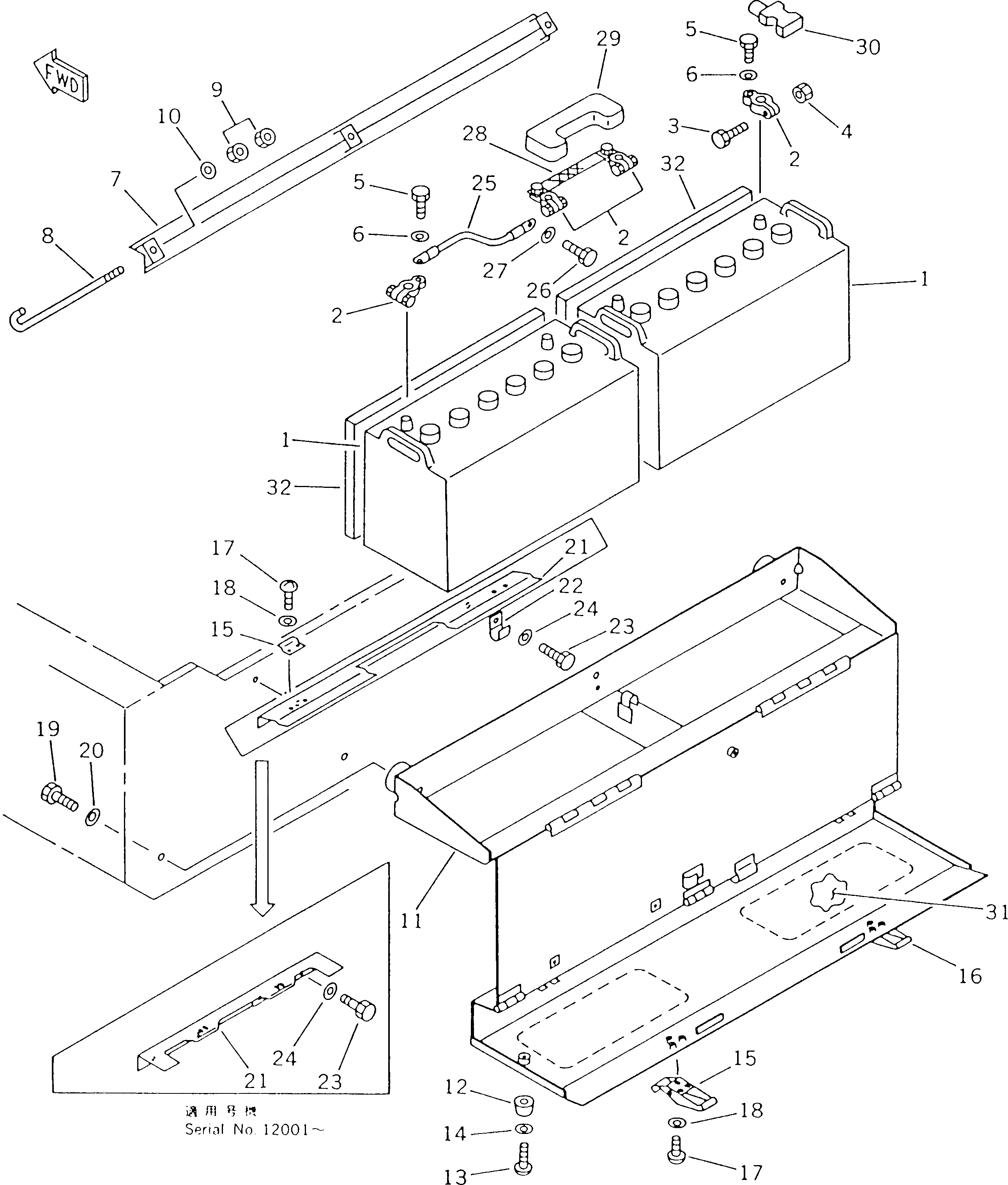
Запчасти Komatsu WA180-1 АККУМУЛЯТОР И КОРПУС АККУМУЛЯТОРА КОМПОНЕНТЫ ДВИГАТЕЛЯ И ЭЛЕКТРИКА

Схема запчастей Komatsu WA180-1 - АККУМУЛЯТОР И КОРПУС АККУМУЛЯТОРА КОМПОНЕНТЫ ДВИГАТЕЛЯ И ЭЛЕКТРИКА
FIT
1:1
100%

Артикул

Название

Примечание

Количество

1

08000-32212

BATTERY, WET(115E41R

SN: 10001-UP

2шт.

1

416-Z91-1110

BATTERY, WET(130E41R,(COLD TERRAIN SPEC.)

SN: 10001-UP

2шт.

2

08000-00000

TERMINAL, (+)

SN: 10001-UP

2шт.

2

08000-00001

TERMINAL, (-)

SN: 10001-UP

2шт.

3

01010-30830

BOLT

SN: 10001-UP

1шт.

4

01580-00806

NUT

SN: 10001-UP

1шт.

5

01050-31018

BOLT

SN: 10001-UP

1шт.

6

01640-01016

WASHER

SN: 10001-UP

1шт.

7

416-06-11121

HOLDER

SN: 10001-UP

1шт.

8

417-06-11123

ROD

SN: 10001-UP

3шт.

9

01580-10806

NUT

SN: 10001-UP

6шт.

10

01643-30823

WASHER

SN: 10001-UP

3шт.

11

417-06-11730

BOX

SN: 12001-UP

1шт.

11

417-06-11710

BOX

SN: 10001-11999

1шт.

12

425-54-12590

STOPPER

SN: 10001-UP

2шт.

13

01220-40416

SCREW

SN: 10001-UP

2шт.

14

01641-20405

WASHER

SN: 10001-UP

2шт.

15

424-09-12490

HOLDER

SN: 10001-UP

1шт.

16

421-09-12320

HOLDER

SN: 10001-UP

1шт.

17

01220-40410

SCREW

SN: 10001-UP

10шт.

18

01641-20405

WASHER

SN: 10001-UP

10шт.

19

01010-31235

BOLT

SN: 10001-UP

2шт.

20

124-54-26540

WASHER

SN: 10001-UP

2шт.

21

417-06-11740

BRACKET

SN: 12001-UP

1шт.

21

417-06-11290

BRACKET

SN: 10001-11999

1шт.

22

08036-40814

CLIP

SN: 10001-UP

1шт.

23

01010-31020

BOLT

SN: 12001-UP

4шт.

23

01010-31020

BOLT

SN: 10001-11999

2шт.

24

01643-31032

WASHER

SN: 12001-UP

4шт.

24

01643-31032

WASHER

SN: 10001-11999

2шт.

25

416-06-11320

WIRE

SN: 10307-UP

1шт.

25

0

WIRE

SN: 10001-10306

1шт.

26

01010-31020

BOLT

SN: 10001-UP

1шт.

27

01605-11023

WASHER

SN: 10001-UP

1шт.

28

417-06-12111

WIRE

SN: 10001-UP

1шт.

29

417-06-12132

CAP

SN: 10001-UP

1шт.

30

08038-22009

CAP

SN: 10001-UP

1шт.

31

417-06-11321

PLATE

SN: 10001-UP

2шт.

32

416-06-11330

SPACER

SN: 10307-UP

2шт.

Выбрано товаров: 39