Запчасти Komatsu WA180-1 МЕХАНИЗМ ОСТАНОВКИ СТРЕЛЫ И КОВШ ПОЗИЦИОНЕР УПРАВЛ-Е РАБОЧИМ ОБОРУДОВАНИЕМ

Схема запчастей Komatsu WA180-1 - МЕХАНИЗМ ОСТАНОВКИ СТРЕЛЫ И КОВШ ПОЗИЦИОНЕР УПРАВЛ-Е РАБОЧИМ ОБОРУДОВАНИЕМ
FIT
1:1
100%

Артикул

Название

Примечание

Количество

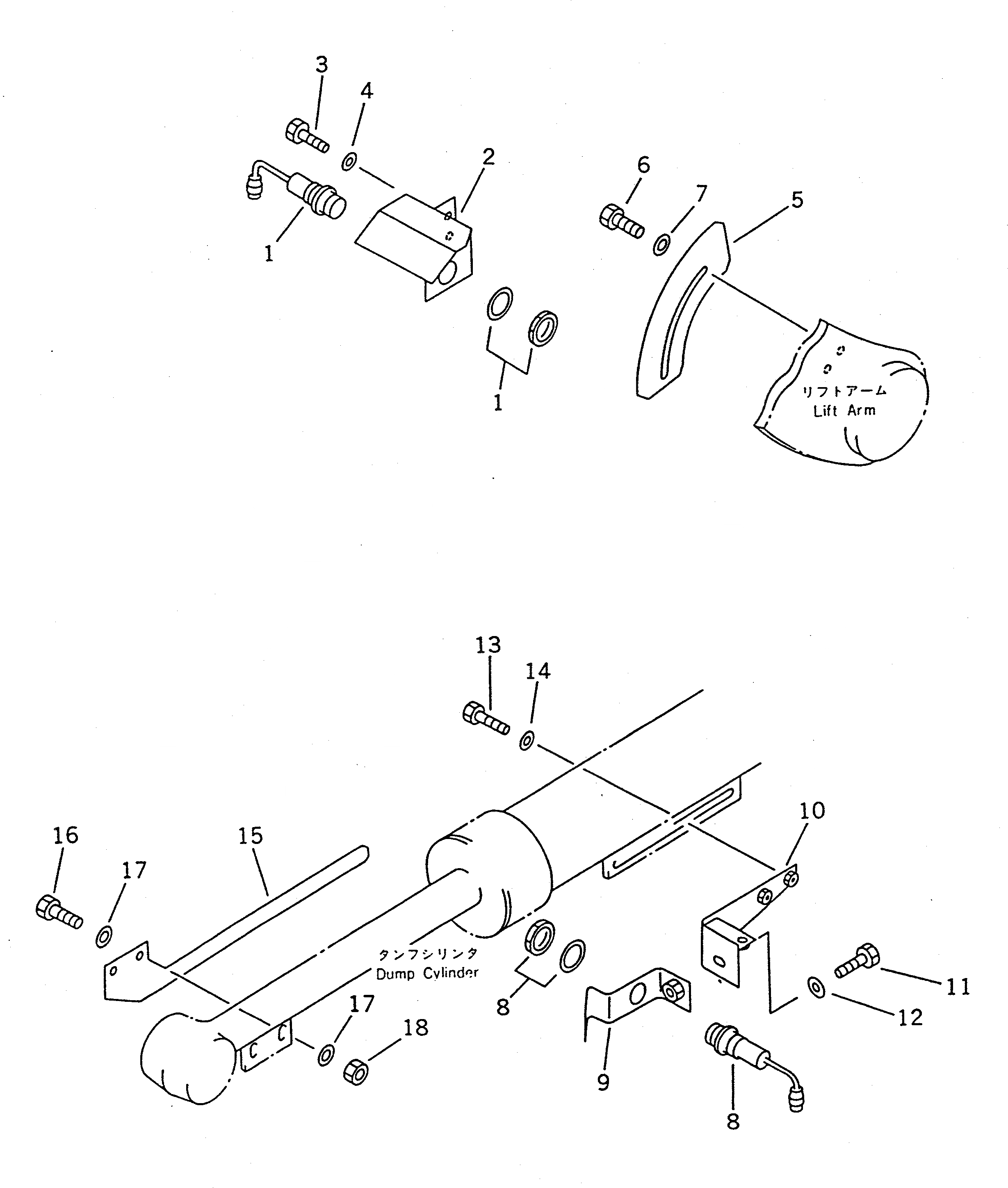
1

421-06-11164

SWITCH,BOOM KICK OUT

SN: 10001-UP

1шт.

2

417-43-19122

SUPPORT

SN: 10001-UP

1шт.

3

01010-51020

BOLT

SN: 10001-UP

2шт.

4

01643-31032

WASHER

SN: 10001-UP

2шт.

5

417-43-19110

PLATE

SN: 10001-UP

1шт.

6

01010-31220

BOLT

SN: 10001-UP

2шт.

7

01643-31232

WASHER

SN: 10001-UP

2шт.

8

421-06-11164

SWITCH,BUCKET POSITIONER

SN: 10001-UP

1шт.

9

417-43-19151

SUPPORT

SN: 10001-UP

1шт.

10

417-43-19144

BRACKET

SN: 10001-UP

1шт.

11

01010-31225

BOLT

SN: 10001-UP

1шт.

12

01643-31232

WASHER

SN: 10001-UP

1шт.

13

01010-31230

BOLT

SN: 10001-UP

2шт.

14

01643-31232

WASHER

SN: 10001-UP

2шт.

15

417-43-19131

BAR

SN: 10001-UP

1шт.

16

01010-31235

BOLT

SN: 10001-UP

2шт.

17

01643-31232

WASHER

SN: 10001-UP

4шт.

18

01580-01210

NUT

SN: 10001-UP

2шт.

Выбрано товаров: 0