Запчасти Komatsu WA180-1 ЭЛЕКТРИКА (ЗАДН.) (TBG/ABE СПЕЦ-Я.) СПЕЦ. APPLICATION ЧАСТИ

Схема запчастей Komatsu WA180-1 - ЭЛЕКТРИКА (ЗАДН.) (TBG/ABE СПЕЦ-Я.) СПЕЦ. APPLICATION ЧАСТИ
FIT
1:1
100%

Артикул

Название

Примечание

Количество

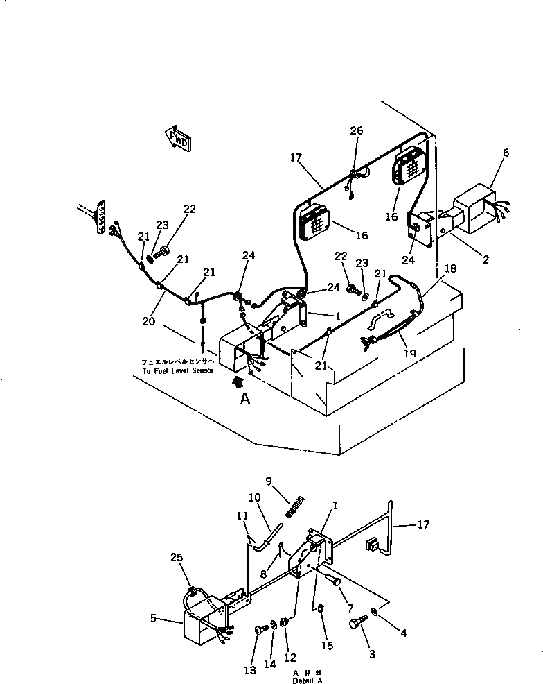
1

416-U61-1110

BRACKET,L.H.

SN: 10001-UP

1шт.

2

416-U61-1120

BRACKET,R.H.

SN: 10001-UP

1шт.

3

01010-51225

BOLT

SN: 10001-UP

8шт.

4

01643-31232

WASHER

SN: 10001-UP

8шт.

5

417-06-13680

HOLDER,LAMP, L.H.

SN: 10001-UP

1шт.

6

417-06-13690

HOLDER,LAMP, R.H.

SN: 10001-UP

1шт.

7

417-06-13630

PIN

SN: 10001-UP

2шт.

8

04050-14020

PIN,COTTER

SN: 10001-UP

2шт.

9

417-06-13650

SPRING

SN: 10001-UP

2шт.

10

417-06-13640

HOLDER,SPRING

SN: 10001-UP

2шт.

11

04050-13015

PIN,COTTER

SN: 10001-UP

2шт.

12

419-54-14310

SPRING

SN: 10001-UP

2шт.

13

01220-40406

SCREW

SN: 10001-UP

4шт.

14

01601-20410

WASHER,SPRING

SN: 10001-UP

4шт.

15

416-U61-1210

PLATE

SN: 10001-UP

2шт.

16

421-06-13202

WORK LAMP ASS'Y

SN: 10001-UP

2шт.

16

22W-06-12710

BULB, 70W

SN: 10001-UP

1шт.

16

421-06-13120

CUSHION

SN: 10001-UP

4шт.

17

417-06-12640

WIRE ASS'Y

SN: 10001-UP

1шт.

18

417-06-12312

WIRE ASS'Y

SN: 10001-UP

1шт.

19

417-06-12491

WIRE ASS'Y

SN: 10001-UP

1шт.

20

417-06-12630

WIRE ASS'Y

SN: 10001-UP

1шт.

21

08036-01414

CLIP

SN: 10001-UP

5шт.

22

01010-31020

BOLT

SN: 10001-UP

5шт.

23

01643-31032

WASHER

SN: 10001-UP

5шт.

24

08037-03614

GROMMET

SN: 10001-UP

3шт.

25

08037-02512

GROMMET

SN: 10001-UP

4шт.

26

08034-00414

BAND

SN: 10001-UP

1шт.

Выбрано товаров: 28