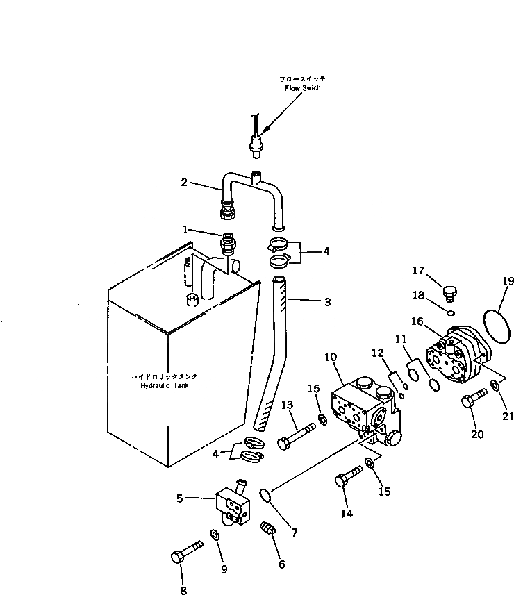
Запчасти Komatsu WA180-1 ЭКСТРЕНН. РУЛЕВ. УПРАВЛЕНИЕ (/) (ABE СПЕЦ-Я.) СПЕЦ. APPLICATION ЧАСТИ

Схема запчастей Komatsu WA180-1 - ЭКСТРЕНН. РУЛЕВ. УПРАВЛЕНИЕ (/) (ABE СПЕЦ-Я.) СПЕЦ. APPLICATION ЧАСТИ
FIT
1:1
100%

Артикул

Название

Примечание

Количество

1

417-875-1630

UNION

SN: 10001-UP

1шт.

2

417-875-1640

TUBE

SN: 10001-UP

1шт.

3

07260-02649

HOSE

SN: 10001-UP

1шт.

4

07281-00489

CLAMP

SN: 10001-UP

4шт.

5

417-875-1271

TUBE

SN: 10001-UP

1шт.

6

07042-00617

PLUG

SN: 10001-UP

1шт.

7

07000-03042

O-RING

SN: 10001-UP

1шт.

8

01010-51055

BOLT

SN: 10001-UP

4шт.

9

01643-31032

WASHER

SN: 10001-UP

4шт.

10

421-875-1101

DIVIDER VALVE ASS'Y

SN: 10001-UP

1шт.

11

07000-13040

O-RING

SN: 10001-UP

2шт.

12

07000-02012

O-RING

SN: 10001-UP

2шт.

13

01011-51045

BOLT

SN: 10001-UP

2шт.

14

01010-51085

BOLT

SN: 10001-UP

2шт.

15

01643-31032

WASHER

SN: 10001-UP

4шт.

16

704-31-24110

PUMP ASS'Y

SN: 10001-UP

1шт.

17

07040-12012

PLUG

SN: 10001-UP

1шт.

18

07002-02034

O-RING

SN: 10001-UP

1шт.

19

07000-02105

O-RING

SN: 10001-UP

1шт.

20

01010-51235

BOLT

SN: 10001-UP

2шт.

21

01643-31232

WASHER

SN: 10001-UP

2шт.

Выбрано товаров: 21