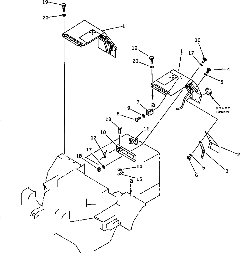
Запчасти Komatsu WA180-1 ЗАДН. КРЫЛО (TBG/ABE СПЕЦ-Я.) СПЕЦ. APPLICATION ЧАСТИ

Схема запчастей Komatsu WA180-1 - ЗАДН. КРЫЛО (TBG/ABE СПЕЦ-Я.) СПЕЦ. APPLICATION ЧАСТИ
FIT
1:1
100%

Артикул

Название

Примечание

Количество

1

417-970-1110

FENDER,L.H.

SN: 10001-UP

1шт.

1

417-970-1121

FENDER,R.H.

SN: 10001-UP

1шт.

2

416-970-1160

RUBBER

SN: 10001-UP

2шт.

3

416-970-1170

PLATE,L.H.

SN: 10001-UP

1шт.

3

416-970-1180

PLATE,R.H.

SN: 10001-UP

1шт.

4

01010-51030

BOLT

SN: 10001-UP

10шт.

5

01643-31032

WASHER

SN: 10001-UP

20шт.

6

426-43-19160

NUT

SN: 10001-UP

10шт.

7

419-54-14310

SPRING

SN: 10001-UP

2шт.

8

01220-40406

SCREW

SN: 10001-UP

4шт.

9

01641-20405

WASHER

SN: 10001-UP

4шт.

10

419-54-14231

SUPPORT

SN: 10001-UP

2шт.

11

419-54-14241

CATCH

SN: 10001-UP

2шт.

12

419-54-14250

SPRING

SN: 10001-UP

2шт.

13

419-54-14260

PIN

SN: 10001-UP

2шт.

14

01643-30623

WASHER

SN: 10001-UP

2шт.

15

04052-00633

PIN,SNAP

SN: 10001-UP

2шт.

16

01010-51230

BOLT

SN: 10001-UP

4шт.

17

01643-31232

WASHER

SN: 10001-UP

8шт.

18

01580-01210

NUT

SN: 10001-UP

4шт.

19

01010-51220

BOLT

SN: 10001-UP

6шт.

20

01643-31232

WASHER

SN: 10001-UP

6шт.

Выбрано товаров: 22