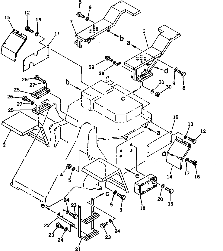
Запчасти Komatsu WA180-1 КРЫЛО И ЛЕСТНИЦА (БЕЗ КАБИНЫ) (КАБИНА ROPS)(№-999) РАМА И ЧАСТИ КОРПУСА

Схема запчастей Komatsu WA180-1 - КРЫЛО И ЛЕСТНИЦА (БЕЗ КАБИНЫ) (КАБИНА ROPS)(№-999) РАМА И ЧАСТИ КОРПУСА
FIT
1:1
100%

Артикул

Название

Примечание

Количество

1

417-54-11523

FENDER,FRONT, L.H.

SN: 10001-@

1шт.

2

417-54-11513

FENDER,FRONT, R.H.

SN: 10001-@

1шт.

3

01010-51235

BOLT

SN: 10001-@

8шт.

4

01580-21210

NUT

SN: 10001-@

8шт.

5

01643-31232

WASHER

SN: 10001-@

16шт.

6

416-54-14212

FENDER,REAR, L.H.

SN: 10001-11999

1шт.

6

417-54-14850

FENDER,REAR, L.H. (WA180-1P)

SN: 10455-11999

1шт.

6

416-54-14212

FENDER,REAR, L.H. (WA180-1P)

SN: 10001-10454

1шт.

7

416-54-14222

FENDER,REAR, R.H.

SN: 10001-11999

1шт.

7

417-54-14870

FENDER,REAR, R.H. (WA180-1P)

SN: 10455-11999

1шт.

7

416-54-14222

FENDER,REAR, R.H. (WA180-1P)

SN: 10001-10454

1шт.

8

01010-51245

BOLT

SN: 10001-@

8шт.

9

01643-31232

WASHER

SN: 10001-@

8шт.

10

416-54-14170

COVER,L.H.

SN: 10001-@

1шт.

11

416-54-14180

COVER,R.H.

SN: 10001-@

1шт.

12

01010-51225

BOLT

SN: 10001-@

8шт.

13

01643-31232

WASHER

SN: 10001-@

8шт.

14

416-54-14152

COVER,L.H.

SN: 10001-11999

1шт.

15

416-54-14161

COVER,R.H.

SN: 10001-11999

1шт.

16

01010-51225

BOLT

SN: 10001-@

6шт.

17

01643-31232

WASHER

SN: 10001-@

6шт.

18

416-54-14132

BOX

SN: 10001-@

1шт.

19

01010-51225

BOLT

SN: 10001-@

4шт.

20

01643-31232

WASHER

SN: 10001-@

4шт.

21

416-54-14111

LADDER

SN: 10001-@

1шт.

21

417-54-14860

LADDER,(WA180-1P)

SN: 10455-11999

1шт.

21

416-54-14111

LADDER,(WA180-1P)

SN: 10001-10454

1шт.

22

416-54-14230

STAY

SN: 10001-@

1шт.

23

01010-51235

BOLT

SN: 10001-@

4шт.

24

01643-31232

WASHER

SN: 10001-@

4шт.

25

417-54-12172

LADDER

SN: 10001-11999

2шт.

26

01010-51230

BOLT

SN: 10001-@

4шт.

27

01643-31232

WASHER

SN: 10001-@

4шт.

Выбрано товаров: 33