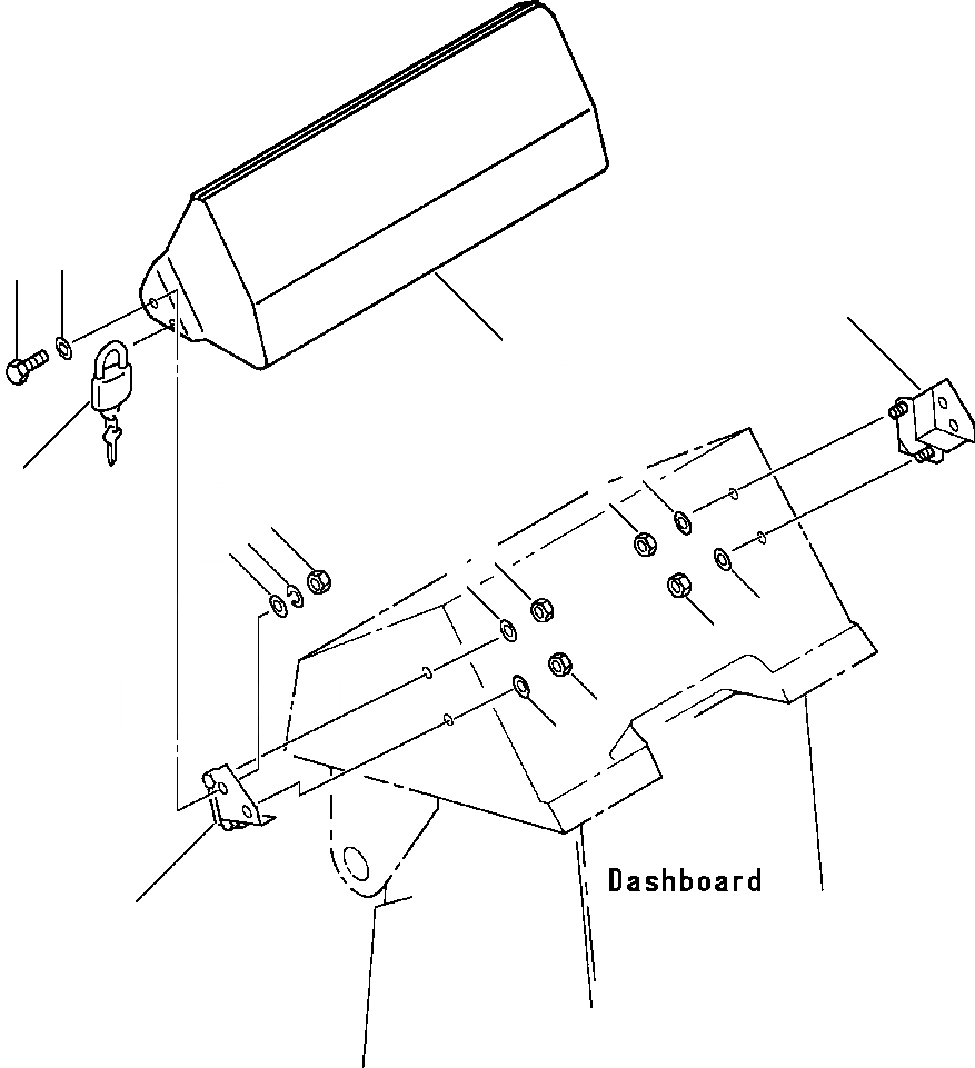
Запчасти Komatsu WA180-1LC ПАНЕЛЬ ПРИБОРОВ COVER РАМА

Схема запчастей Komatsu WA180-1LC - ПАНЕЛЬ ПРИБОРОВ COVER РАМА
9
6
3
1
5
10
4
7
8
9
4
5
5
4
4
5
2
FIT
1:1
100%

Артикул

Название

Примечание

Количество

1

416-978-1110

COVER, INSTRUMENT PANEL

1шт.

2

416-978-1160

BRACKET, LH MOUNTING

1шт.

3

416-978-1170

BRACKET, RH MOUNTING

1шт.

4

01580-10605

NUT

4шт.

5

01643-30623

WASHER

4шт.

6

01010-51030

BOLT

2шт.

7

01598-01011

NUT

2шт.

8

01603-01018

WASHER, LOCK

2шт.

9

01643-31032

WASHER

4шт.

10

650 382 C91

PADLOCK, WITH KEYS

1шт.

Выбрано товаров: 10