Качественные детали и логистика
Оригинальные и аналоговые запчасти с доставкой по России, Казахстану и Беларуси
©2022 PartSell ООО "Система" ИНН 2463123282 ОГРН 1212400004838
Центральный офис: г. Красноярск, Академика Киренского, д.87, пом.4
Телефон: 8 (800) 777-65-74 Email: zakaz@partsell.ru
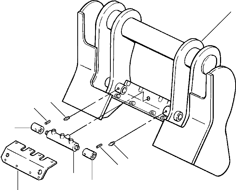
РАМА ИНСТРУМЕНТ НЕСУЩИЙ ЭЛЕМЕНТ - ДЛЯ MACHINES С PARALLEL ПОГРУЗ. МЕХАНИЗМ
№
Артикул
Название
Примечание
Количество
1
417-879-1910
FRAME, TOOL CARRIER
1шт.
2
417-879-1930
CYLINDER, LOCK - TOOL CARRIER
3
NSS
PIN, LOCK
2шт.
4
PIN, ROLL
5
07020-00000
FITTING, LUBRICATION
6
417-879-1920
COVER, LOCK CYLINDER
|$6
01435-01220
BOLT, MOUNT COVER
8шт.
Выбрано товаров: 0