Качественные детали и логистика
Оригинальные и аналоговые запчасти с доставкой по России, Казахстану и Беларуси
©2022 PartSell ООО "Система" ИНН 2463123282 ОГРН 1212400004838
Центральный офис: г. Красноярск, Академика Киренского, д.87, пом.4
Телефон: 8 (800) 777-65-74 Email: zakaz@partsell.ru
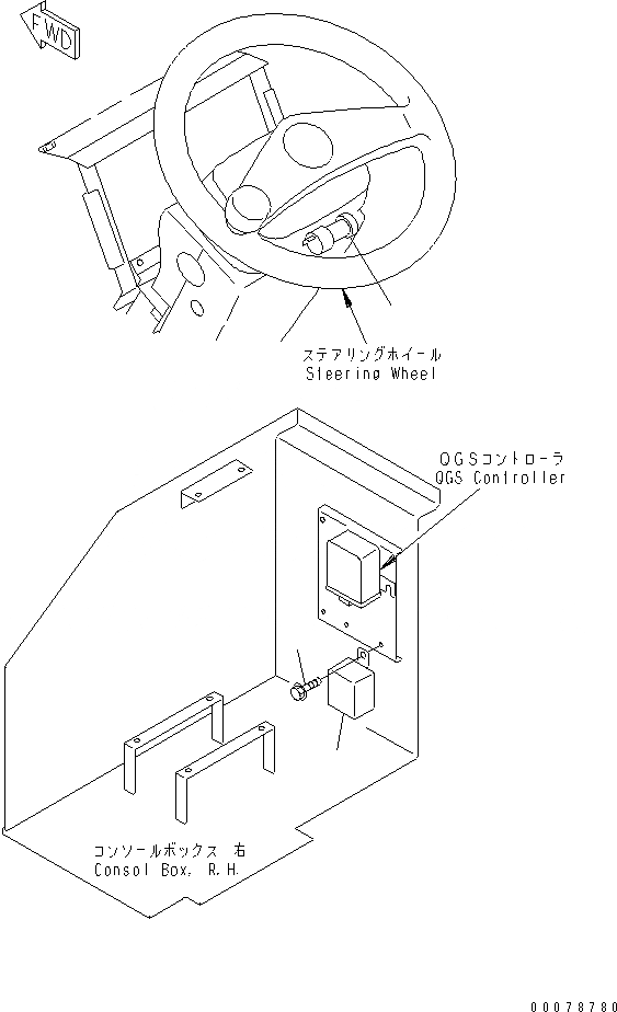
ПАНЕЛЬ УПРАВЛЕНИЯ(№-)
№
Артикул
Название
Примечание
Количество
1
08086-10000
SWITCH,STARTING
SN: 53001-54333
1шт.
01220-40508
SCREW
6шт.
01601-20513
WASHER,SPRING
2
416-06-22250
FLASHER
3
01435-00612
BOLT
Выбрано товаров: 0