Запчасти Komatsu WA180-3L FIG. H-A РУЛЕВ. УПРАВЛЕНИЕ - ПРИОРИТЕТН. КЛАПАН ГИДРАВЛИКА

Схема запчастей Komatsu WA180-3L - FIG. H-A РУЛЕВ. УПРАВЛЕНИЕ - ПРИОРИТЕТН. КЛАПАН ГИДРАВЛИКА
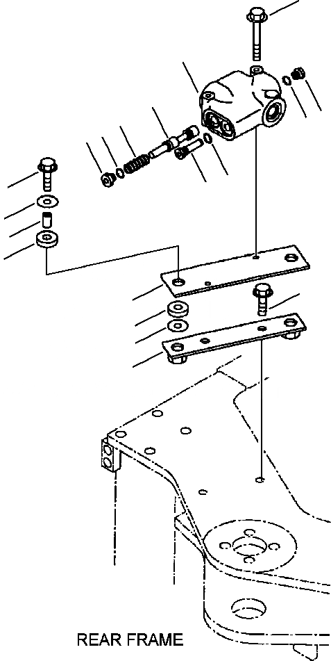
15
1
2
8
3
9
7
6
5
4
10
11
14
12
16
17
13
11
18
FIT
1:1
100%

Артикул

Название

Примечание

Количество

|$0

416-64-A5131

VALVE ASSEMBLY, PRIORITY

SN: A80001-UP-UP

1шт.

1

NSS

HOUSING

SN: A80001-UP-UP

1шт.

2

NSS

SPOOL

SN: A80001-UP-UP

1шт.

3

1243 141 H1

SPRING

SN: A80001-UP-UP

1шт.

4

1243 142 H91

VALVE ASSEMBLY

SN: A80001-UP-UP

1шт.

5

876 106 C1

O-RING

SN: A80001-UP-UP

1шт.

6

1243 146 H1

PLUG ASSEMBLY

SN: A80001-UP-UP

1шт.

7

1243 145 H1

O-RING

SN: A80001-UP-UP

2шт.

8

418-64-A1230

PLUG

SN: A80001-UP-UP

1шт.

9

1243 145 H1

O-RING

SN: A80001-UP-UP

1шт.

10

01435-01250

BOLT

SN: A80001-UP-UP

2шт.

11

419-43-17920

WASHER

SN: A80001-UP-UP

4шт.

12

419-43-17930

CUSHION

SN: A80001-UP-UP

2шт.

13

417-62-13620

CUSHION

SN: A80001-UP-UP

2шт.

14

417-54-13470

SPACER

SN: A80001-UP-UP

2шт.

15

01435-00880

BOLT

SN: A80001-UP-UP

2шт.

16

01435-01225

BOLT

SN: A80001-UP-UP

2шт.

17

417-64-25340

PLATE

SN: A80001-UP-UP

1шт.

18

417-64-25350

PLATE

SN: A80001-UP-UP

1шт.

Выбрано товаров: 19