Запчасти Komatsu WA180-3L FIG. A-A ВОДН. ВЫПУСКН. СОЕДИН-Е ДВИГАТЕЛЬ

Схема запчастей Komatsu WA180-3L - FIG. A-A ВОДН. ВЫПУСКН. СОЕДИН-Е ДВИГАТЕЛЬ
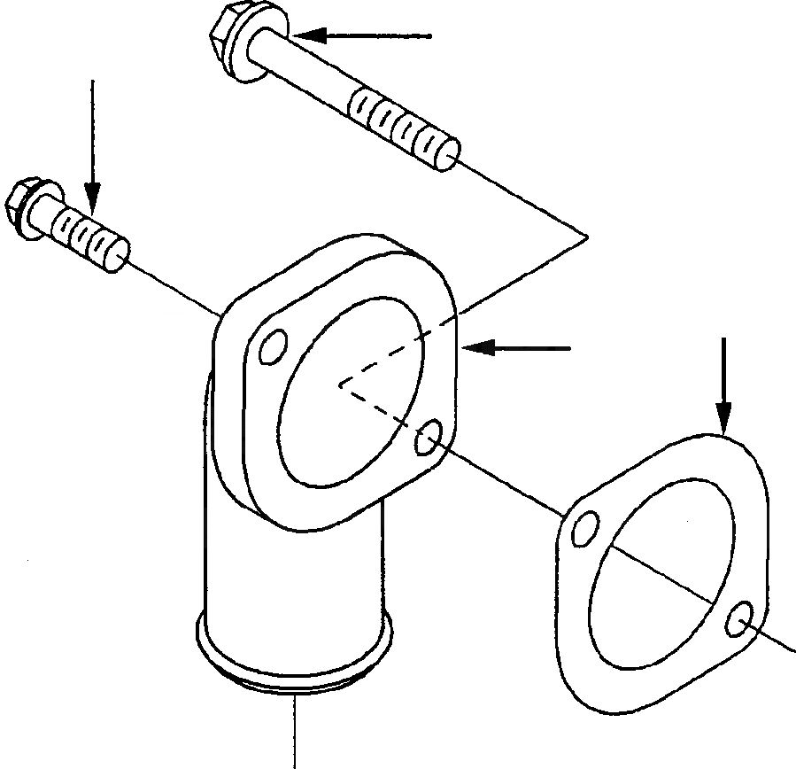
2
1
3
4
FIT
1:1
100%

Артикул

Название

Примечание

Количество

1

6732-21-5160

BOLT - M8-1.25 X 25

1шт.

2

6736-21-3230

BOLT - M8-1.25 X 60

1шт.

3

6735-11-6420

GASKET, CONNECTION

1шт.

4

6735-11-6430

CONNECTION, WATER OUTLET

1шт.

Выбрано товаров: 4