Запчасти Komatsu WA180-3MC FIG. A9-AA ПЕРЕДН. ПРИВОД COVER ДВИГАТЕЛЬ

Схема запчастей Komatsu WA180-3MC - FIG. A9-AA ПЕРЕДН. ПРИВОД COVER ДВИГАТЕЛЬ
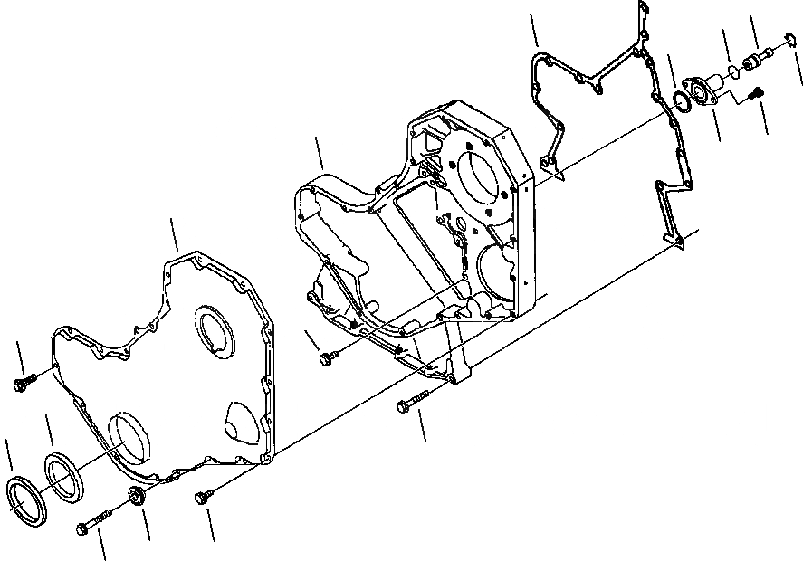
10
5
7
9
6
15
3
8
12
14
16
11
13
1
4
14
2
FIT
1:1
100%

Артикул

Название

Примечание

Количество

1

6742-01-0530

BOLT - M8-1.25 X 50

10шт.

2

6742-01-2441

BOLT - M8-1.25 X 60

1шт.

3

6732-21-3160

BOLT - M5-0.80 X 17

2шт.

4

6736-21-3810

RETAINER, BELT

1шт.

|$4

NSS

HOUSING, TIMING PIN

1шт.

5

6732-21-3140

PIN, TIMING

1шт.

6

6732-21-3150

RING, RETAINING

1шт.

7

6732-21-3870

O-RING

1шт.

8

6732-21-3180

HOUSING, TIMING PIN

1шт.

9

6732-21-3880

SEAL, RECTANGULAR RING

1шт.

10

6732-21-3812

GASKET, GEAR HOUSING

1шт.

11

6735-21-3511

SEAL, FRONT OIL - WITH APPLICATIONTOOL

1шт.

12

6736-21-3310

COVER, GEAR

1шт.

13

6736-21-3450

GASKET, GEAR COVER

1шт.

14

6736-21-3220

BOLT

11шт.

15

6735-21-3123

HOUSING, GEAR

1шт.

16

6742-01-0540

BOLT - M8-1.25 X 20

5шт.

Выбрано товаров: 17