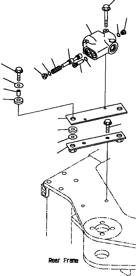
Запчасти Komatsu WA180PT-3L FIG NO. H-A РУЛЕВ. УПРАВЛЕНИЕ ПРИОРИТЕТН. КЛАПАН ГИДРАВЛИКА

Схема запчастей Komatsu WA180PT-3L - FIG NO. H-A РУЛЕВ. УПРАВЛЕНИЕ ПРИОРИТЕТН. КЛАПАН ГИДРАВЛИКА
14
8
7
1
2
3
7
9
6
5
10
4
13
11
16
15
12
10
17
FIT
1:1
100%

Артикул

Название

Примечание

Количество

|$0

416-64-A5131

VALVE ASSEMBLY, PRIORITY

1шт.

1

416-64-15210

HOUSING

1шт.

2

417-64-25310

SPOOL

1шт.

3

416-64-15230

SPRING

1шт.

4

417-64-25330

VALVE ASSEMBLY

1шт.

5

417-64-25320

O-RING

1шт.

6

416-64-15250

PLUG

1шт.

7

416-64-15260

O-RING

2шт.

8

416-64-15270

PLUG

1шт.

9

01435-01250

BOLT

2шт.

10

419-43-17920

WASHER

4шт.

11

419-43-17930

CUSHION

2шт.

12

417-62-13620

CUSHION

2шт.

13

417-62-14130

SPACER

2шт.

14

01435-00880

BOLT

2шт.

15

01435-01225

BOLT

2шт.

16

417-64-25340

PLATE

1шт.

17

417-64-25350

PLATE

1шт.

Выбрано товаров: 0