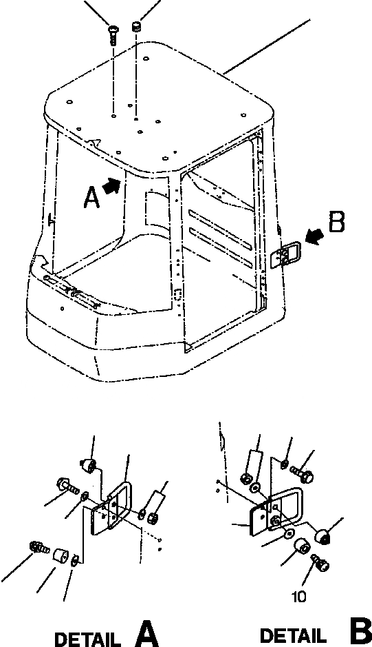
Запчасти Komatsu WA180PT-3L FIG NO. K-9A КАБИНА ROPS HOLD OPEN ДВЕРЬ LATCH КАБИНА ОПЕРАТОРА И СИСТЕМА УПРАВЛЕНИЯ

Схема запчастей Komatsu WA180PT-3L - FIG NO. K-9A КАБИНА ROPS HOLD OPEN ДВЕРЬ LATCH КАБИНА ОПЕРАТОРА И СИСТЕМА УПРАВЛЕНИЯ
3
2
1
11
11
10
8
8
7
6
5
8
8
6
4
7
9
9
FIT
1:1
100%

Артикул

Название

Примечание

Количество

1

ROPS CAB ASSEMBLY (SEE PG K-008)

-29шт.

2

01220-40810

SCREW

4шт.

3

09415-01008

CAP (WITHOUT BEACON LAMP)

3шт.

4

416-926-A760

BRACKET L.H

1шт.

5

416-926-A770

BRACKET R.H

1шт.

6

01435-01035

BOLT

4шт.

7

07005-01412

GASKET

4шт.

8

42A-925-1530

CATCH

2шт.

9

416-926-A790

STOPPER

2шт.

10

01023-70430

SCREW

2шт.

11

416-926-810

WASHER

4шт.

Выбрано товаров: 0