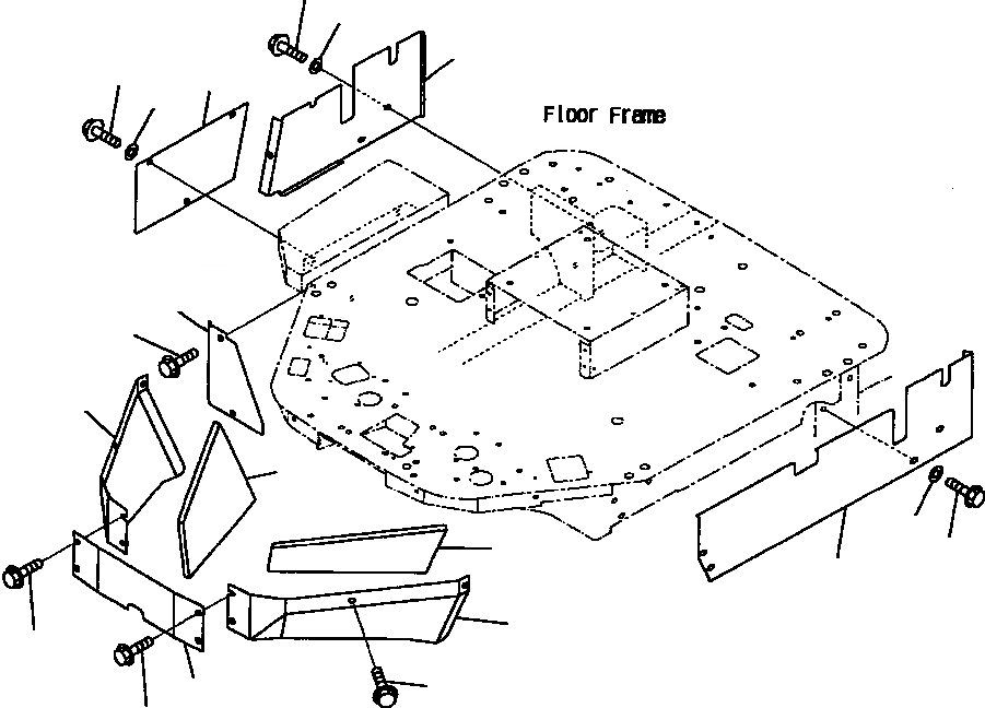
Запчасти Komatsu WA180PT-3L FIG NO. M-A ПОКРЫТИЕ ПОЛА ЧАСТИ КОРПУСА

Схема запчастей Komatsu WA180PT-3L - FIG NO. M-A ПОКРЫТИЕ ПОЛА ЧАСТИ КОРПУСА
12
13
11
15
14
16
17
18
2
7
10
6
9
8
1
4
5
3
4
FIT
1:1
100%

Артикул

Название

Примечание

Количество

1

417-54-24310

COVER, LEFT HAND

1шт.

2

417-54-24320

COVER, RIGHT HAND

1шт.

3

417-54-24380

PLATE

1шт.

4

01435-01016

BOLT

2шт.

5

01435-01016

BOLT

6шт.

6

418-54-21590

SHEET, LEFT HAND

1шт.

7

418-54-21610

SHEET, RIGHT HAND

1шт.

8

417-54-24330

COVER, LEFT HAND

1шт.

9

01435-01025

BOLT

4шт.

10

01643-31232

WASHER

4шт.

11

417-54-24350

COVER, RIGHT HAND

1шт.

12

01435-01016

BOLT

3шт.

13

01643-31232

WASHER

3шт.

14

417-54-24340

COVER, RIGHT HAND

1шт.

15

01435-01016

BOLT

3шт.

16

01643-31232

WASHER

3шт.

17

417-54-24460

PLATE

1шт.

18

01435-01016

BOLT

2шт.

Выбрано товаров: 18