Запчасти Komatsu WA180PT-3L ВОДН. ВЫПУСКН. СОЕДИН-Е ДВИГАТЕЛЬ

Схема запчастей Komatsu WA180PT-3L - ВОДН. ВЫПУСКН. СОЕДИН-Е ДВИГАТЕЛЬ
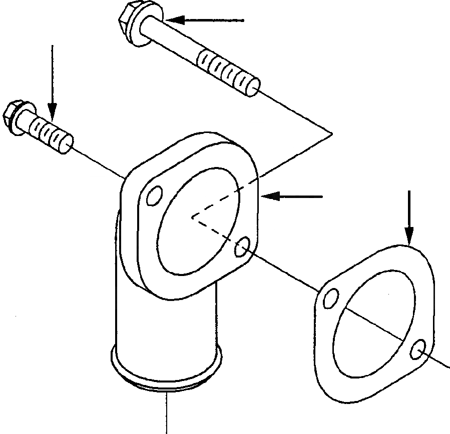
2
1
3
4
FIT
1:1
100%

Артикул

Название

Примечание

Количество

1

6732-21-5160

BOLT (M8x1.25x25)

1шт.

2

6736-21-3230

BOLT (M8x1.25x60)

1шт.

3

6735-11-6420

GASKET, CONNECTION

1шт.

4

6735-11-6430

CONNECTION, WATER OUTLET

1шт.

Выбрано товаров: 4