Запчасти Komatsu WA20-1 ДВИГАТЕЛЬ И ЧАСТИ КРЕПЛЕНИЯ ТРАНСМИССИИ КОМПОНЕНТЫ ДВИГАТЕЛЯ И ЭЛЕКТРИКА

Схема запчастей Komatsu WA20-1 - ДВИГАТЕЛЬ И ЧАСТИ КРЕПЛЕНИЯ ТРАНСМИССИИ КОМПОНЕНТЫ ДВИГАТЕЛЯ И ЭЛЕКТРИКА
FIT
1:1
100%

Артикул

Название

Примечание

Количество

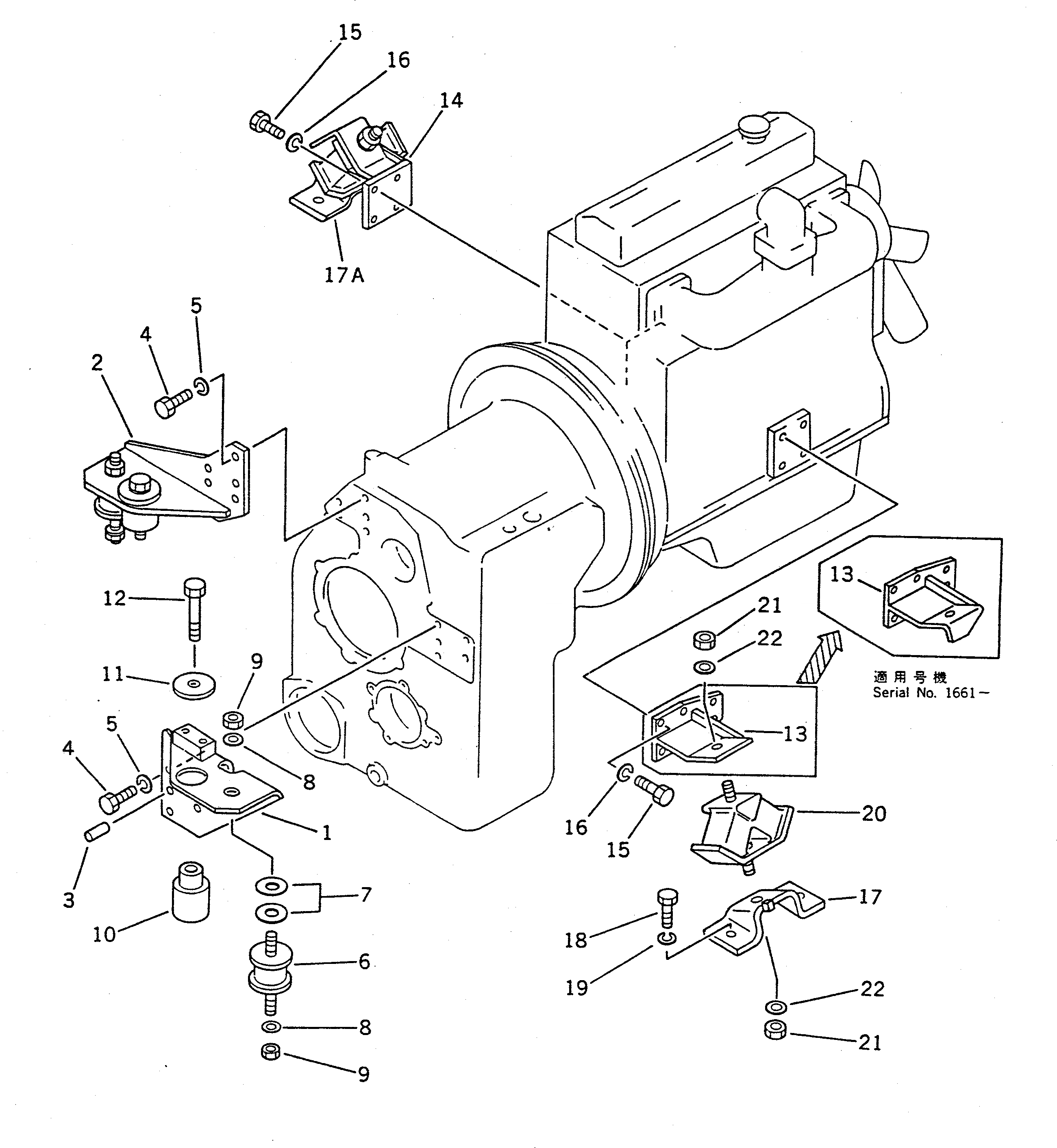
1

361-01-11110

BRACKET,L.H.

SN: 1001-UP

1шт.

2

361-01-11120

BRACKET,R.H.

SN: 1001-UP

1шт.

3

04020-01024

PIN,DOWEL

SN: 1001-UP

4шт.

4

01010-51030

BOLT

SN: 1001-UP

6шт.

5

01602-21030

WASHER,SPRING

SN: 1001-UP

6шт.

6

362-01-22211

CUSHION

SN: 1001-UP

2шт.

7

145-60-12420

LOCK

SN: 1001-UP

4шт.

8

01643-31645

WASHER

SN: 1001-UP

4шт.

9

01580-11613

NUT

SN: 1001-UP

4шт.

10

361-01-11130

STOPPER

SN: 1001-UP

2шт.

11

566-14-41170

WASHER

SN: 1001-UP

2шт.

12

01011-51600

BOLT

SN: 1001-UP

2шт.

13

361-01-11141

BRACKET,L.H.

SN: 1661-UP

1шт.

13

361-01-11140

BRACKET,L.H.

SN: 1001-1660

1шт.

14

361-01-11151

BRACKET,R.H.

SN: 1661-UP

1шт.

14

361-01-11150

BRACKET,R.H.

SN: 1001-1660

1шт.

15

01010-51025

BOLT

SN: 1001-UP

8шт.

16

01602-21030

WASHER,SPRING

SN: 1001-UP

8шт.

17

361-01-11210

BRACKET,L.H.

SN: 1661-UP

1шт.

17

361-01-11160

BRACKET,L.H.

SN: 1001-1660

1шт.

17A

361-01-11230

BRACKET,R.H.

SN: 1661-UP

1шт.

17A

361-01-11160

BRACKET,R.H.

SN: 1001-1660

1шт.

18

01010-51230

BOLT

SN: 1001-UP

4шт.

19

01602-21236

WASHER,SPRING

SN: 1001-UP

4шт.

20

362-01-22221

CUSHION

SN: 1001-UP

2шт.

21

01580-11613

NUT

SN: 1001-UP

4шт.

22

01643-31645

WASHER

SN: 1001-UP

4шт.

Выбрано товаров: 27