Запчасти Komatsu WA20-1 ЭЛЕКТРИКА (ПЕРЕДН. ЛИНИЯ) (ДЛЯ США) КОМПОНЕНТЫ ДВИГАТЕЛЯ И ЭЛЕКТРИКА

Схема запчастей Komatsu WA20-1 - ЭЛЕКТРИКА (ПЕРЕДН. ЛИНИЯ) (ДЛЯ США) КОМПОНЕНТЫ ДВИГАТЕЛЯ И ЭЛЕКТРИКА
FIT
1:1
100%

Артикул

Название

Примечание

Количество

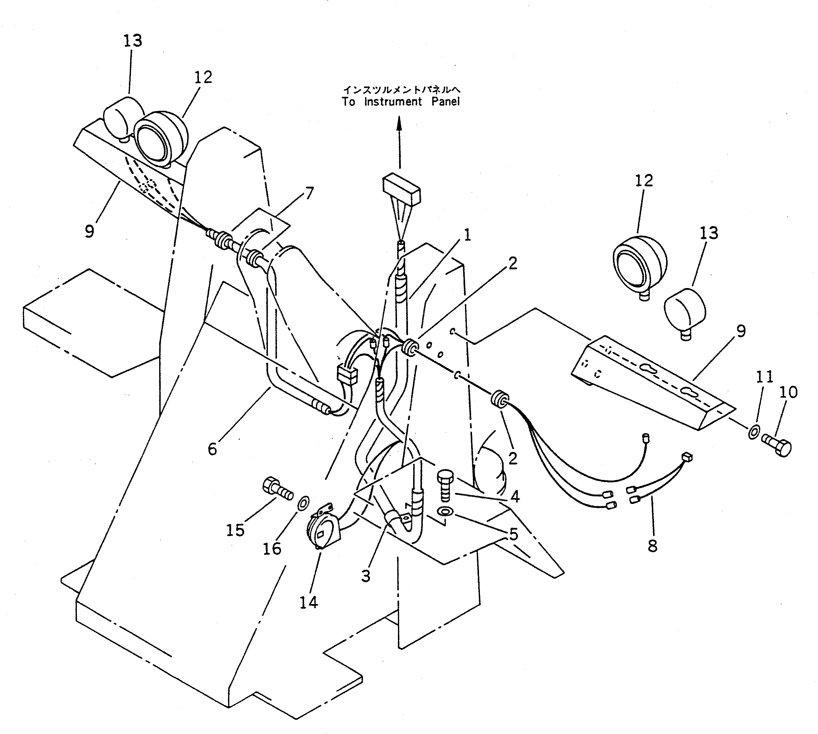
1

361-884-1120

WIRE ASS'Y

SN: 1001-UP

1шт.

2

112-860-1360

GROMMET

SN: 1001-UP

2шт.

3

08035-02510

CLIP

SN: 1001-UP

1шт.

4

01010-51020

BOLT

SN: 1001-UP

1шт.

5

01643-31032

WASHER

SN: 1001-UP

1шт.

6

361-884-1130

WIRE ASS'Y

SN: 1001-UP

1шт.

7

112-860-1360

GROMMET

SN: 1001-UP

2шт.

8

361-884-1140

WIRE

SN: 1001-UP

2шт.

9

361-06-11311

BRACKET

SN: 1001-UP

2шт.

9

361-06-11310

BRACKET

SN: 1001-UP

2шт.

10

01010-51025

BOLT

SN: 1001-UP

6шт.

11

01643-31032

WASHER

SN: 1001-UP

6шт.

12

361-06-14110

LAMP ASS'Y,HEAD

SN: 1001-UP

2шт.

12

08125-01200

LAMP ASS'Y,HEAD

SN: 1001-UP

2шт.

12

08107-01260

BULB, 60W

SN: 1001-UP

1шт.

12

08125-00006

LENS

SN: 1001-UP

1шт.

13

08136-01200

LAMP ASS'Y,TURN SIGNAL

SN: 1001-UP

2шт.

13

08136-01205

BULB, 5W

SN: 1001-UP

1шт.

13

08105-01220

BULB, 23W

SN: 1001-UP

1шт.

13

08136-00003

LENS,REAR

SN: 1001-UP

1шт.

13

08136-00006

LENS,FRONT

SN: 1001-UP

1шт.

14

362-06-23190

HORN

SN: 1001-UP

1шт.

15

01010-50816

BOLT

SN: 1001-UP

2шт.

16

01643-30823

WASHER

SN: 1001-UP

2шт.

Выбрано товаров: 24