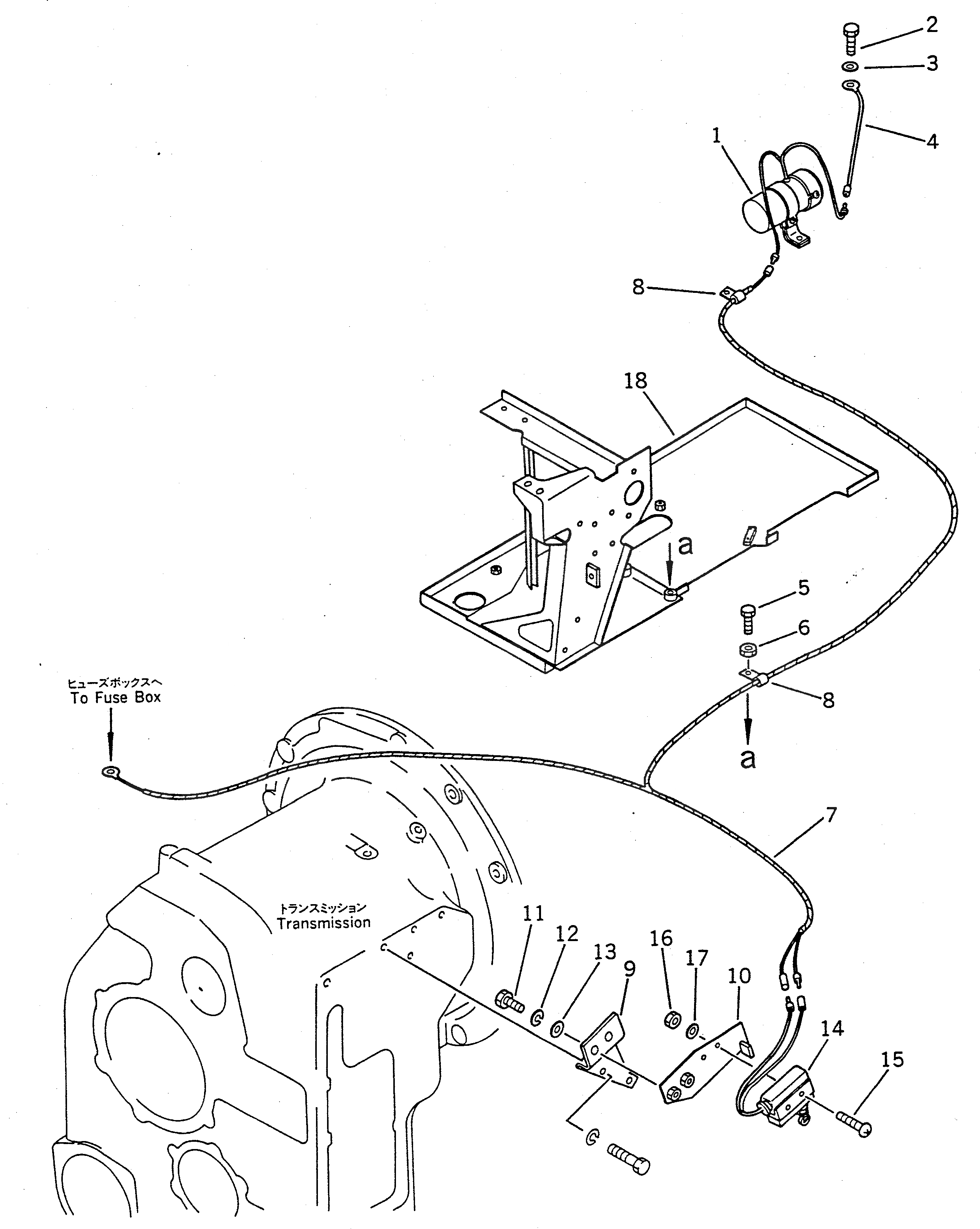
Запчасти Komatsu WA20-1 СИГНАЛ. ЗАДНЕГО ХОДА КОМПОНЕНТЫ ДВИГАТЕЛЯ И ЭЛЕКТРИКА

Схема запчастей Komatsu WA20-1 - СИГНАЛ. ЗАДНЕГО ХОДА КОМПОНЕНТЫ ДВИГАТЕЛЯ И ЭЛЕКТРИКА
FIT
1:1
100%

Артикул

Название

Примечание

Количество

1

362-06-13340

BUZZER

SN: 1001-UP

1шт.

2

01010-50816

BOLT

SN: 1001-UP

1шт.

3

01643-30823

WASHER

SN: 1001-UP

1шт.

4

361-887-1110

WIRE

SN: 1001-UP

1шт.

5

01010-51025

BOLT

SN: 1001-UP

1шт.

6

01580-01008

NUT

SN: 1001-UP

1шт.

7

361-887-1120

WIRE ASS'Y

SN: 1001-UP

1шт.

8

08036-10810

CLIP

SN: 1001-UP

2шт.

9

362-860-1140

BRACKET

SN: 1001-UP

1шт.

10

362-860-1150

BRACKET

SN: 1001-UP

1шт.

11

01010-50820

BOLT

SN: 1001-UP

2шт.

12

01602-20825

WASHER,SPRING

SN: 1001-UP

2шт.

13

01643-30823

WASHER

SN: 1001-UP

2шт.

14

113-06-23250

SWITCH

SN: 1001-UP

1шт.

15

01220-40430

SCREW

SN: 1001-UP

2шт.

16

01580-10403

NUT

SN: 1001-UP

2шт.

17

134-06-22130

WASHER

SN: 1001-UP

2шт.

18

361-887-1130

FRAME

SN: 1001-UP

1шт.

Выбрано товаров: 0