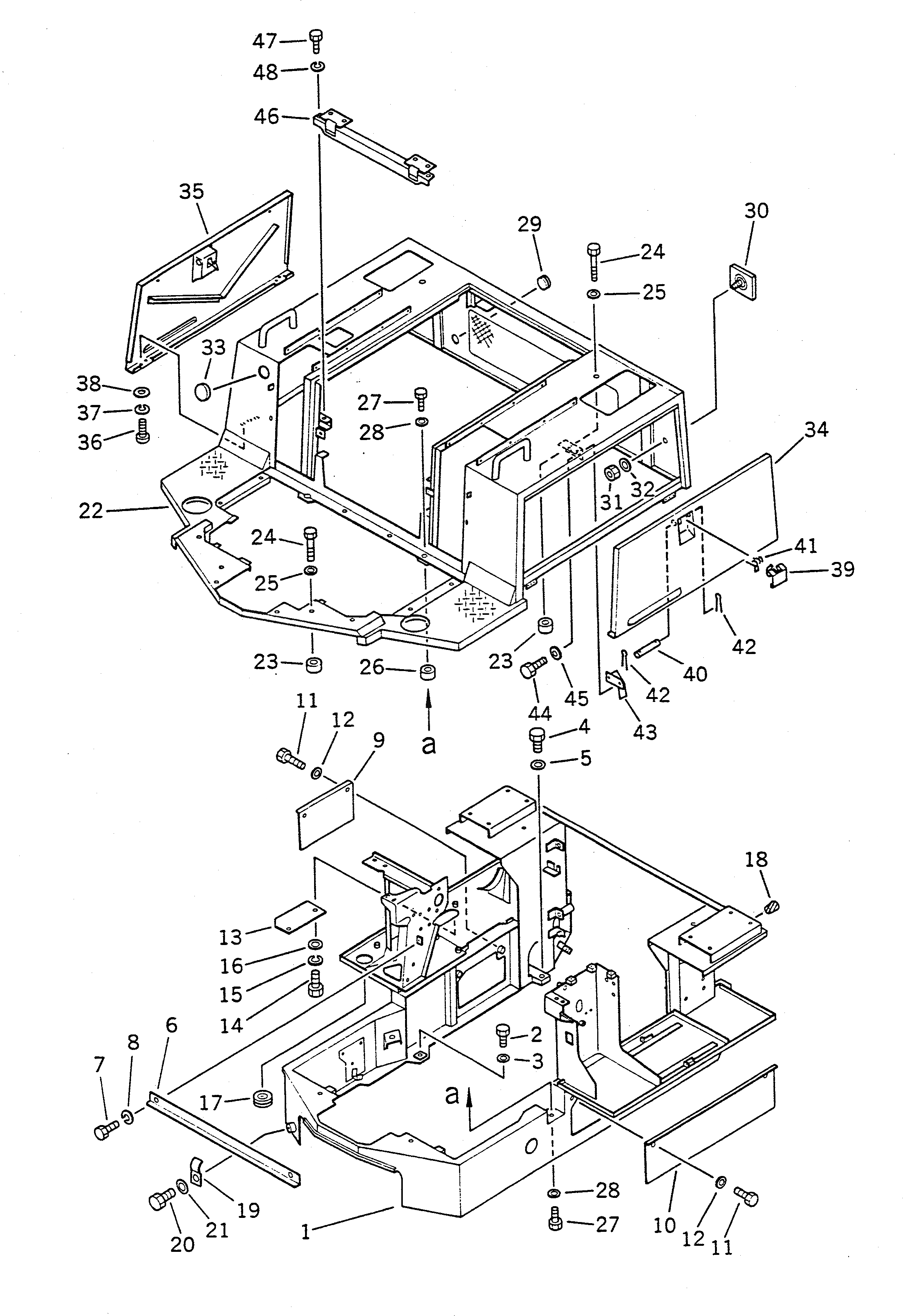
Запчасти Komatsu WA20-1 ОСНОВН. КОНСТРУКЦИЯ И ОБСТАНОВКА(№7-) РАМА И ЧАСТИ КОРПУСА

Схема запчастей Komatsu WA20-1 - ОСНОВН. КОНСТРУКЦИЯ И ОБСТАНОВКА(№7-) РАМА И ЧАСТИ КОРПУСА
FIT
1:1
100%

Артикул

Название

Примечание

Количество

1

361-54-14110

FRAME,FLOOR

SN: 1001-UP

1шт.

1

361-923-2160

FRAME,FLOOR (FOR UTILITY FORK)

SN: 1001-UP

1шт.

2

01010-51230

BOLT

SN: 1001-UP

8шт.

3

01643-31232

WASHER

SN: 1001-UP

8шт.

4

01010-51650

BOLT

SN: 1001-UP

2шт.

5

01643-31645

WASHER

SN: 1001-UP

2шт.

6

362-54-24130

PLATE

SN: 1001-UP

1шт.

7

01010-51020

BOLT

SN: 1001-UP

2шт.

8

01602-21030

WASHER,SPRING

SN: 1001-UP

2шт.

9

361-54-14160

PLATE

SN: 1001-UP

1шт.

10

361-54-14170

COVER

SN: 1001-UP

1шт.

11

01010-51020

BOLT

SN: 1001-UP

4шт.

12

01643-31032

WASHER

SN: 1001-UP

4шт.

13

361-54-14271

COVER

SN: 1302-UP

1шт.

14

01010-51020

BOLT

SN: 1302-UP

2шт.

15

01602-21030

WASHER,SPRING

SN: 1302-UP

2шт.

16

01643-31032

WASHER

SN: 1302-UP

2шт.

17

581-35-15430

GROMMET

SN: 1001-UP

1шт.

18

07049-01012

PLUG

SN: 1001-UP

1шт.

19

22X-61-16760

CLAMP

SN: 1001-UP

1шт.

20

01010-51016

BOLT

SN: 1001-UP

1шт.

21

01643-31032

WASHER

SN: 1001-UP

1шт.

22

361-54-14191

COVER

SN: 2274-UP

1шт.

23

361-54-14180

SPACER

SN: 1001-UP

4шт.

24

01010-51270

BOLT

SN: 1001-UP

4шт.

25

01643-31232

WASHER

SN: 1001-UP

4шт.

26

362-54-23140

SPACER

SN: 1001-UP

2шт.

27

01010-51220

BOLT

SN: 1001-UP

4шт.

28

01643-31232

WASHER

SN: 1001-UP

4шт.

29

09415-02512

CAP

SN: 1001-UP

1шт.

30

362-54-15160

REFLECTOR

SN: 1001-UP

2шт.

31

01580-10605

NUT

SN: 1001-UP

2шт.

32

01643-30623

WASHER

SN: 1001-UP

2шт.

33

09415-03614

CAP

SN: 1001-UP

1шт.

34

361-54-14211

COVER,L.H.

SN: 2274-UP

1шт.

35

361-54-14221

COVER,R.H.

SN: 2274-UP

1шт.

36

01220-40510

SCREW

SN: 1001-UP

12шт.

37

01602-20513

WASHER,SPRING

SN: 1001-UP

12шт.

38

01641-20508

WASHER

SN: 1001-UP

12шт.

39

363-54-24360

LEVER

SN: 2274-UP

2шт.

40

09461-00022

PIN

SN: 2274-UP

2шт.

41

09461-00023

SPRING

SN: 2274-UP

2шт.

42

04050-13018

PIN,COTTER

SN: 2274-UP

4шт.

43

363-54-24320

BRACKET

SN: 2274-UP

2шт.

44

01010-51020

BOLT

SN: 2274-UP

4шт.

45

01643-31032

WASHER

SN: 2274-UP

4шт.

46

362-54-24230

BRACKET

SN: 1001-UP

1шт.

47

01010-51020

BOLT

SN: 1001-UP

2шт.

48

01602-21030

WASHER,SPRING

SN: 1001-UP

2шт.

Выбрано товаров: 49