Запчасти Komatsu WA20-1 UTILITY ВИЛЫ (ДЛЯ СОЕДИНИТ. УСТР-ВО И OLD ПАЛЕЦ ТИП) РАБОЧЕЕ ОБОРУДОВАНИЕ

Схема запчастей Komatsu WA20-1 - UTILITY ВИЛЫ (ДЛЯ СОЕДИНИТ. УСТР-ВО И OLD ПАЛЕЦ ТИП) РАБОЧЕЕ ОБОРУДОВАНИЕ
FIT
1:1
100%

Артикул

Название

Примечание

Количество

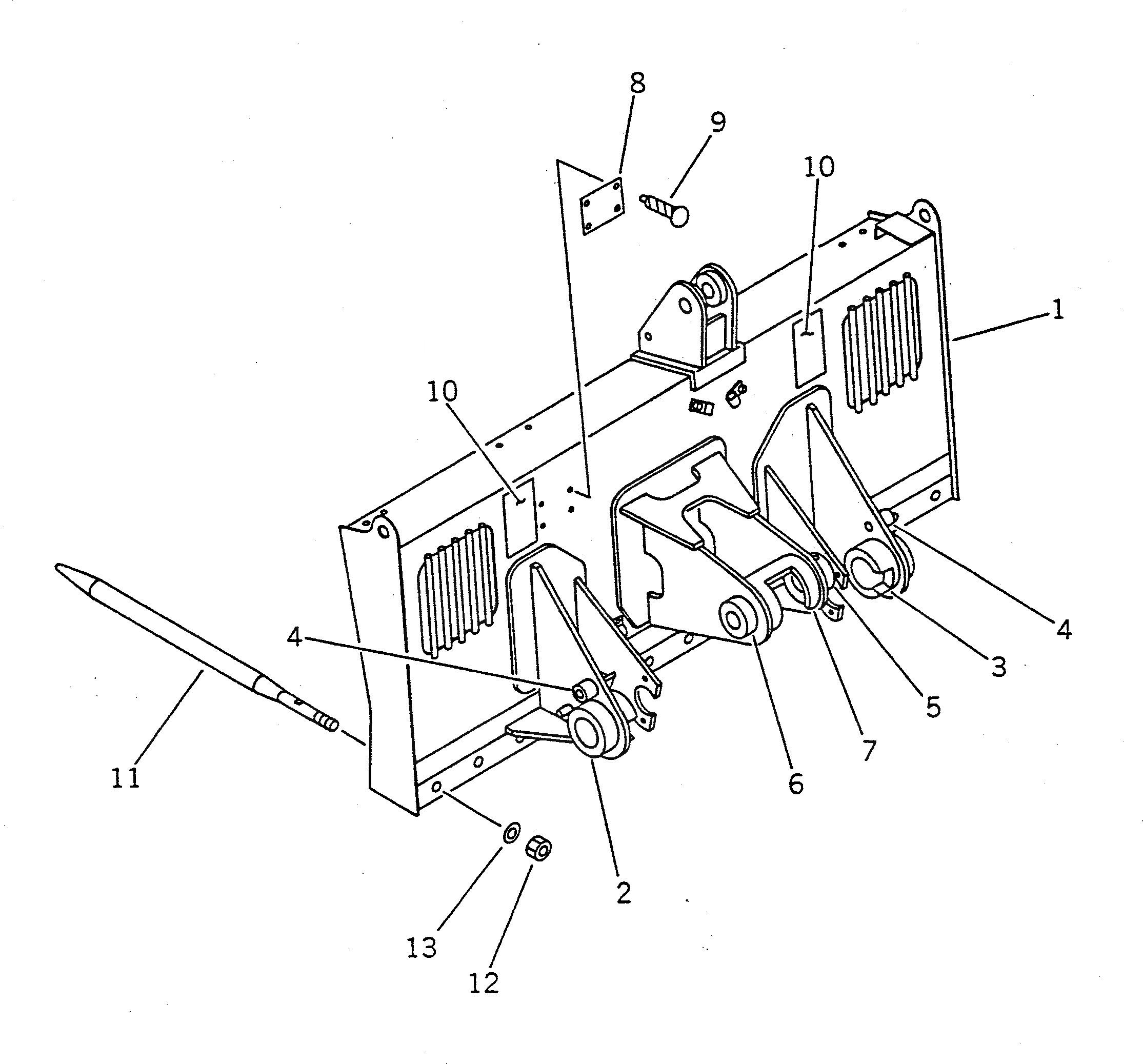
1

361-913-1111

BOARD

SN: 1001-UP

1шт.

2

361-910-1130

BOSS (WELDED)

SN: 1001-UP

1шт.

3

361-910-1120

BOSS (WELDED)

SN: 1001-UP

1шт.

4

361-910-1140

BOSS (WELDED)

SN: 1001-UP

2шт.

5

361-70-11170

BOSS (WELDED)

SN: 1001-UP

1шт.

6

361-70-11180

BOSS (WELDED)

SN: 1001-UP

1шт.

7

361-910-1150

SUPPORT (WELDED)

SN: 1001-UP

1шт.

8

09601-00835

PLATE¤ NAME

SN: 1001-UP

1шт.

9

04418-13060

SCREW

SN: 1001-UP

4шт.

10

361-910-1230

PLATE,ALLOWABLE LOAD TABLE

SN: 1001-UP

2шт.

11

362-913-1120

BAR

SN: 1001-UP

13шт.

12

01580-12016

NUT

SN: 1001-UP

13шт.

13

01643-32060

WASHER

SN: 1001-UP

13шт.

Выбрано товаров: 13