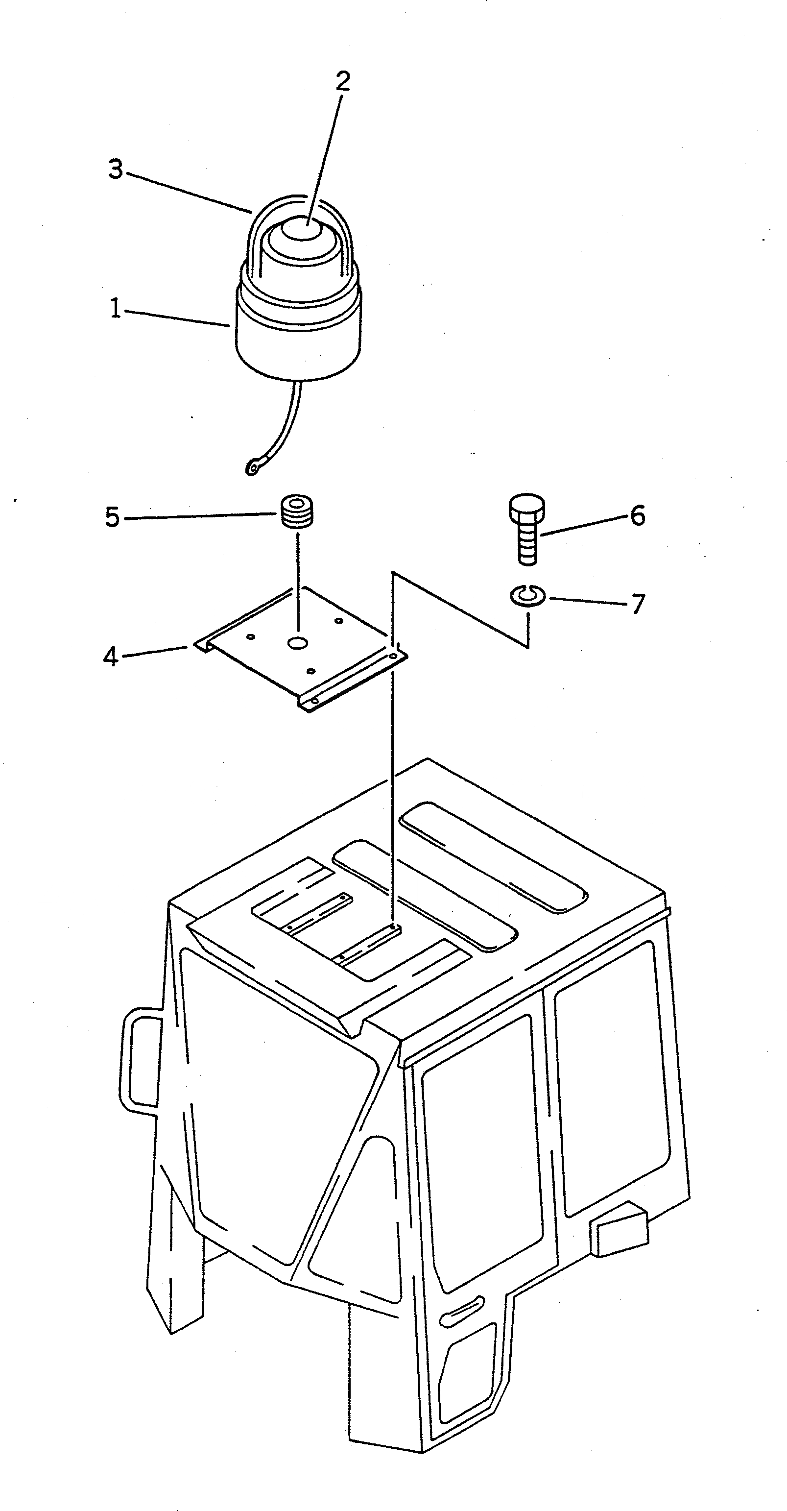
Запчасти Komatsu WA20-1 ПРОБЛЕСК. МАЯК (ДЛЯ КАБИНЫ) КОМПОНЕНТЫ ДВИГАТЕЛЯ И ЭЛЕКТРИКА

Схема запчастей Komatsu WA20-1 - ПРОБЛЕСК. МАЯК (ДЛЯ КАБИНЫ) КОМПОНЕНТЫ ДВИГАТЕЛЯ И ЭЛЕКТРИКА
FIT
1:1
100%

Артикул

Название

Примечание

Количество

1

08154-31200

LAMP ASS'Y

SN: 1001-UP

1шт.

2

08154-31212

BULB¤ 60W

SN: 1001-UP

1шт.

3

08154-30003

GLOBE

SN: 1001-UP

1шт.

4

362-860-1160

PLATE

SN: 1001-UP

1шт.

5

08037-01008

GROMMET

SN: 1001-UP

1шт.

6

01010-51016

BOLT

SN: 1001-UP

4шт.

7

01602-21030

WASHER,SPRING

SN: 1001-UP

4шт.

Выбрано товаров: 0