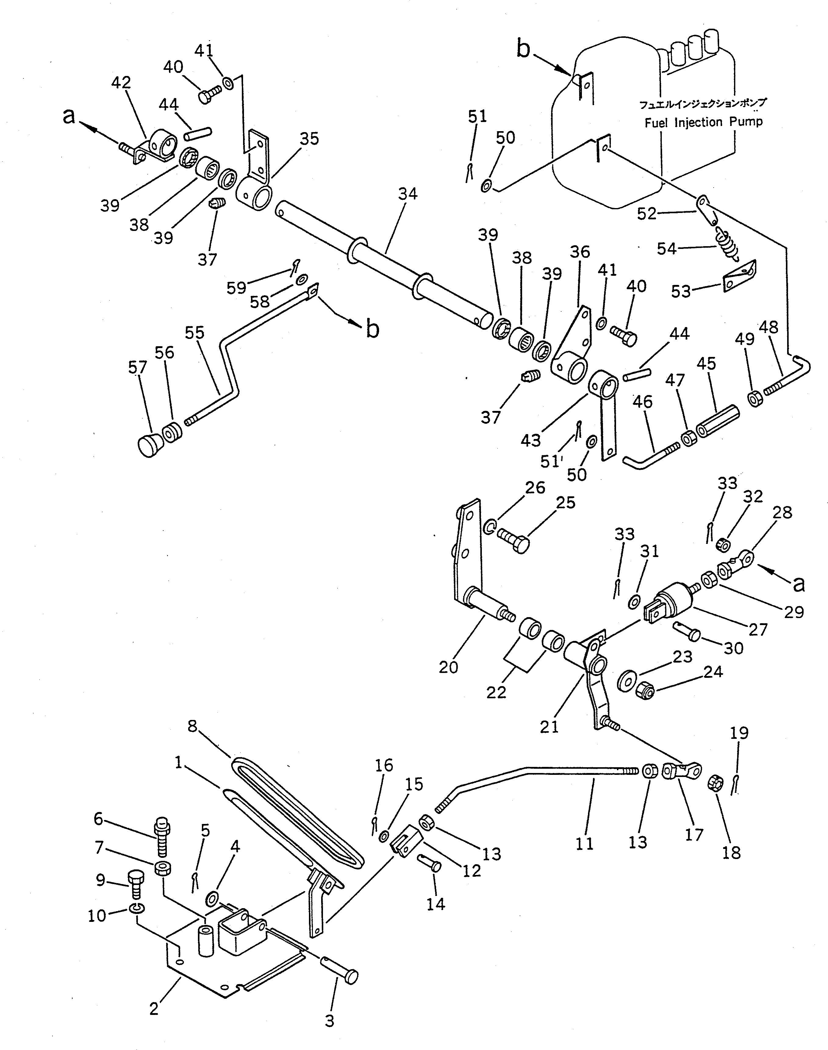
Запчасти Komatsu WA20-1 ACCELERTOR ПЕДАЛЬ И МЕХАНИЗМ КОМПОНЕНТЫ ДВИГАТЕЛЯ И ЭЛЕКТРИКА

Схема запчастей Komatsu WA20-1 - ACCELERTOR ПЕДАЛЬ И МЕХАНИЗМ КОМПОНЕНТЫ ДВИГАТЕЛЯ И ЭЛЕКТРИКА
FIT
1:1
100%

Артикул

Название

Примечание

Количество

|1

361-43-00011

PEDAL ASS'Y

SN: 2274-UP

1шт.

|1

361-43-00010

PEDAL ASS'Y

SN: 1001-2273

1шт.

1

361-43-11211

PEDAL

SN: 2274-UP

1шт.

|1

361-43-11210

PEDAL

SN: 1001-2273

1шт.

2

361-43-11310

PLATE

SN: 2274-UP

1шт.

|2

362-43-21230

PLATE

SN: 1001-2273

1шт.

3

04205-11250

PIN

SN: 1001-UP

1шт.

4

01641-21223

WASHER

SN: 1001-UP

1шт.

5

04050-13020

PIN,COTTER

SN: 1001-UP

1шт.

6

09311-41237

BUMPER

SN: 1001-UP

1шт.

7

01580-11210

NUT

SN: 1001-UP

1шт.

8

22W-43-12510

PAD

SN: 1001-UP

1шт.

9

01010-51020

BOLT

SN: 1001-UP

2шт.

10

01602-21030

WASHER,SPRING

SN: 1001-UP

2шт.

11

361-43-11180

ROD

SN: 1001-UP

1шт.

12

04211-20844

YOKE

SN: 1001-UP

1шт.

13

01580-10806

NUT

SN: 1001-UP

2шт.

14

04205-10822

PIN

SN: 1001-UP

1шт.

15

01641-20812

WASHER

SN: 1001-UP

1шт.

16

04050-12012

PIN,COTTER

SN: 1001-UP

1шт.

17

04250-80847

END,ROD

SN: 2611-UP

1шт.

|17

04250-40847

END,ROD

SN: 1001-2610

1шт.

18

01590-10809

NUT

SN: 1001-UP

1шт.

19

04050-12015

PIN,COTTER

SN: 1001-UP

1шт.

20

361-43-11230

SHAFT

SN: 1001-UP

1шт.

21

361-43-11220

LEVER

SN: 1001-UP

1шт.

22

09350-01415

BUSHING

SN: 1001-UP

2шт.

23

113-43-23230

WASHER

SN: 1001-UP

1шт.

24

01598-00809

NUT

SN: 1001-UP

1шт.

25

01010-51035

BOLT

SN: 1001-UP

2шт.

26

01602-21030

WASHER,SPRING

SN: 1001-UP

2шт.

27

362-43-21330

ROD

SN: 1001-UP

1шт.

28

04250-80847

END,ROD

SN: 2611-UP

1шт.

|28

04250-40847

END,ROD

SN: 1001-2610

1шт.

29

01580-10806

NUT

SN: 1001-UP

1шт.

30

04205-10822

PIN

SN: 1001-UP

1шт.

31

01641-20812

WASHER

SN: 1001-UP

1шт.

32

01590-10809

NUT

SN: 1001-UP

1шт.

33

04050-12015

PIN,COTTER

SN: 1001-UP

2шт.

34

361-43-11170

SHAFT

SN: 1001-UP

1шт.

35

361-43-11160

BRACKET

SN: 1001-UP

1шт.

36

361-43-11150

BRACKET

SN: 1001-UP

1шт.

37

07042-20108

PLUG

SN: 1001-UP

2шт.

38

06120-02016

BEARING

SN: 1001-UP

2шт.

39

06122-02004

SEAL

SN: 1001-UP

4шт.

40

01010-50820

BOLT

SN: 1001-UP

4шт.

41

01643-30823

WASHER

SN: 1001-UP

4шт.

42

361-43-11190

LEVER

SN: 1001-UP

1шт.

43

361-43-11140

LEVER

SN: 1001-UP

1шт.

44

04025-00640

PIN,SPRING

SN: 1001-UP

2шт.

45

361-43-11130

BUCKLE,TURN

SN: 1001-UP

1шт.

46

361-43-11120

ROD

SN: 1001-UP

1шт.

47

01508-40805

NUT

SN: 1001-UP

1шт.

48

361-43-11110

ROD

SN: 1001-UP

1шт.

49

01580-10806

NUT

SN: 1001-UP

1шт.

50

01641-20812

WASHER

SN: 1001-UP

2шт.

51

04052-00833

PIN,SNAP

SN: 1001-UP

2шт.

52

361-43-11250

PLATE

SN: 1001-UP

1шт.

53

361-43-11260

BRACKET

SN: 1001-UP

1шт.

54

131-43-41640

SPRING

SN: 1001-UP

1шт.

55

361-43-11240

ROD

SN: 1001-UP

1шт.

56

08037-01008

GROMMET

SN: 1001-UP

1шт.

57

362-43-11260

KNOB

SN: 1001-UP

1шт.

58

01641-20812

WASHER

SN: 1001-UP

1шт.

59

04052-10833

PIN,SNAP

SN: 2563-UP

1шт.

|59

04050-12015

PIN,COTTER

SN: 1001-2562

1шт.

Выбрано товаров: 66