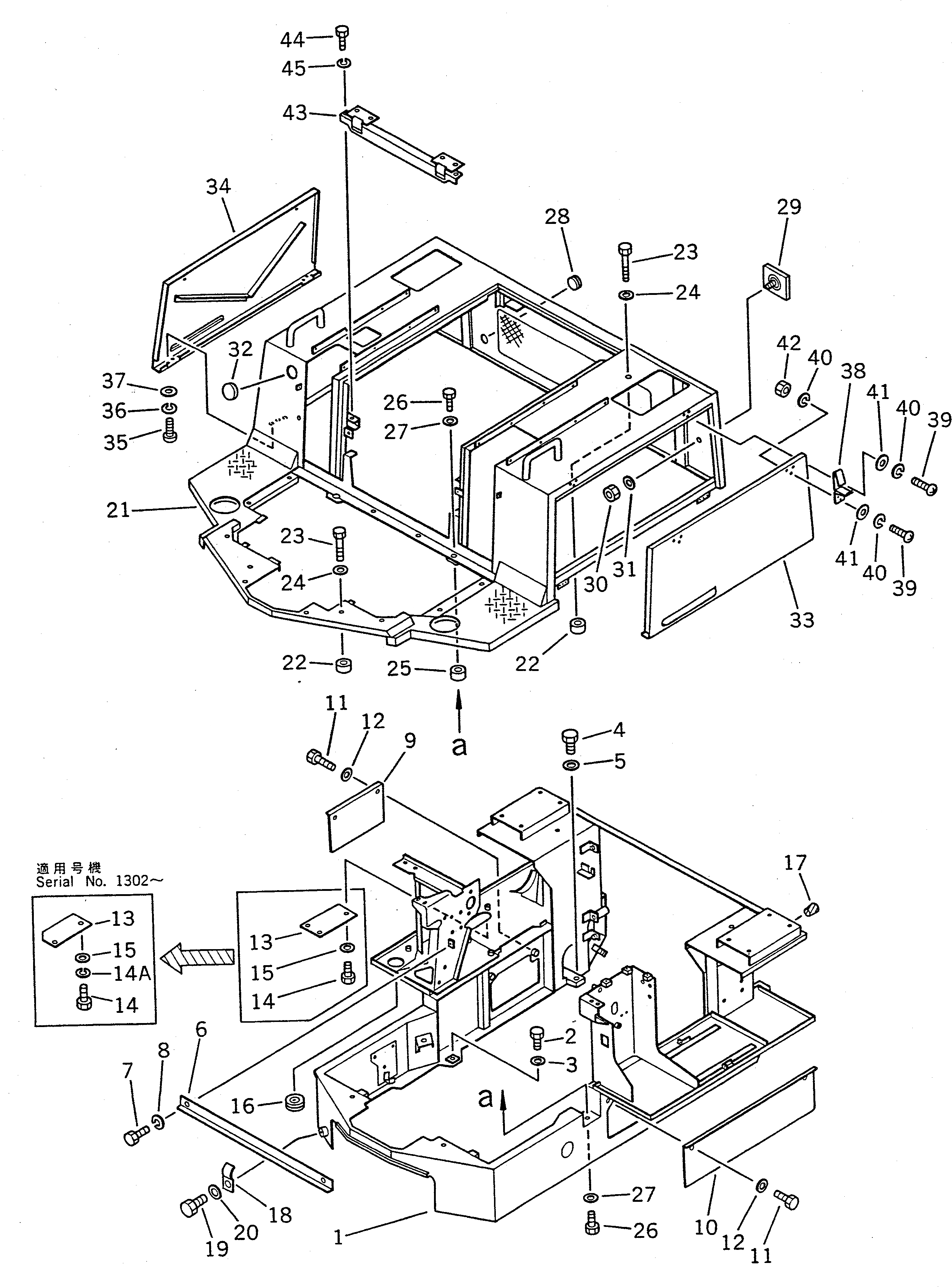
Запчасти Komatsu WA20-1 ОСНОВН. КОНСТРУКЦИЯ И ОБСТАНОВКА(№-7) РАМА И ЧАСТИ КОРПУСА

Схема запчастей Komatsu WA20-1 - ОСНОВН. КОНСТРУКЦИЯ И ОБСТАНОВКА(№-7) РАМА И ЧАСТИ КОРПУСА
FIT
1:1
100%

Артикул

Название

Примечание

Количество

1

361-54-14110

FRAME,FLOOR

SN: 1001-@

1шт.

|1

361-923-2160

FRAME,FLOOR (FOR UTILITY FORK)

SN: 1001-@

1шт.

2

01010-51230

BOLT

SN: 1001-@

8шт.

3

01643-31232

WASHER

SN: 1001-@

8шт.

4

01010-51650

BOLT

SN: 1001-@

2шт.

5

01643-31645

WASHER

SN: 1001-@

2шт.

6

362-54-24130

PLATE

SN: 1001-@

1шт.

7

01010-51020

BOLT

SN: 1001-@

2шт.

8

01602-21030

WASHER,SPRING

SN: 1001-@

2шт.

9

361-54-14160

PLATE

SN: 1001-@

1шт.

10

361-54-14170

COVER

SN: 1001-@

1шт.

11

01010-51020

BOLT

SN: 1001-@

4шт.

12

01643-31032

WASHER

SN: 1001-@

4шт.

13

361-54-14271

COVER

SN: 1302-@

1шт.

|13

0

COVER

SN: 1001-1301

1шт.

14

01010-51020

BOLT

SN: 1302-@

2шт.

|14

01010-51016

BOLT

SN: 1001-1301

3шт.

14A

01602-21030

WASHER,SPRING

SN: 1302-@

2шт.

15

01643-31032

WASHER

SN: 1302-@

2шт.

|15

01643-31032

WASHER

SN: 1001-1301

3шт.

16

581-35-15430

GROMMET

SN: 1001-@

1шт.

17

07049-01012

PLUG

SN: 1001-@

1шт.

18

22X-61-16760

CLAMP

SN: 1001-@

1шт.

19

01010-51016

BOLT

SN: 1001-@

1шт.

20

01643-31032

WASHER

SN: 1001-@

1шт.

21

361-54-14190

COVER

SN: 1001-2273

1шт.

22

361-54-14180

SPACER

SN: 1001-@

4шт.

23

01010-51270

BOLT

SN: 1001-@

4шт.

24

01643-31232

WASHER

SN: 1001-@

4шт.

25

362-54-23140

SPACER

SN: 1001-@

2шт.

26

01010-51220

BOLT

SN: 1001-@

4шт.

27

01643-31232

WASHER

SN: 1001-@

4шт.

28

09415-02512

CAP

SN: 1001-@

1шт.

29

362-54-15160

REFLECTOR

SN: 1001-@

2шт.

30

01580-10605

NUT

SN: 1001-@

2шт.

31

01643-30623

WASHER

SN: 1001-@

2шт.

32

09415-03614

CAP

SN: 1001-@

1шт.

33

361-54-14210

COVER,L.H.

SN: 1001-2273

1шт.

34

361-54-14220

COVER,R.H.

SN: 1001-2273

1шт.

35

01220-40510

SCREW

SN: 1001-@

12шт.

36

01602-20513

WASHER,SPRING

SN: 1001-@

12шт.

37

01641-20508

WASHER

SN: 1001-@

12шт.

38

362-54-14880

HOLDER

SN: 1001-2273

4шт.

39

01220-40410

SCREW

SN: 1001-2273

24шт.

40

01602-20410

WASHER,SPRING

SN: 1001-2273

24шт.

41

01641-20405

WASHER

SN: 1001-2273

36шт.

42

01580-10403

NUT

SN: 1001-2273

12шт.

43

362-54-24230

BRACKET

SN: 1001-@

1шт.

44

01010-51020

BOLT

SN: 1001-@

2шт.

45

01602-21030

WASHER,SPRING

SN: 1001-@

2шт.

Выбрано товаров: 50