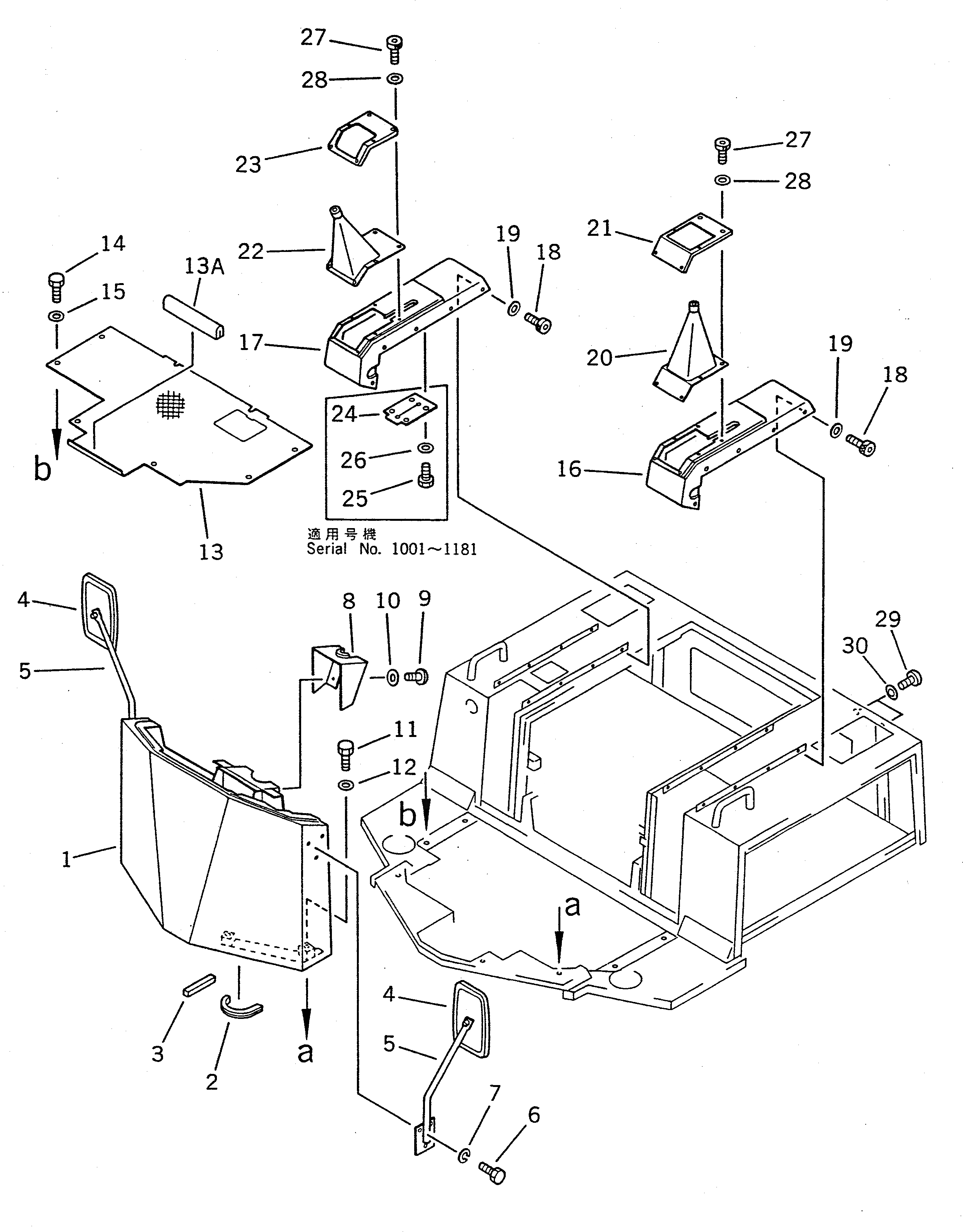
Запчасти Komatsu WA20-1 ПРИБОРНАЯ ПАНЕЛЬ И ПОЛ КАБИНЫ РАМА И ЧАСТИ КОРПУСА

Схема запчастей Komatsu WA20-1 - ПРИБОРНАЯ ПАНЕЛЬ И ПОЛ КАБИНЫ РАМА И ЧАСТИ КОРПУСА
FIT
1:1
100%

Артикул

Название

Примечание

Количество

1

361-54-12220

DASHBOARD

SN: 2274-UP

1шт.

|1

362-54-22111

DASHBOARD

SN: 1001-2273

1шт.

2

363-54-12120

SEAL

SN: 1001-UP

1шт.

3

363-54-12550

SEAL

SN: 1001-UP

1шт.

4

362-54-16110

MIRROR

SN: 1001-UP

2шт.

5

361-54-12210

BRACKET

SN: 2274-UP

2шт.

|5

362-54-26120

BRACKET

SN: 1001-2273

2шт.

6

01010-51020

BOLT

SN: 1001-UP

6шт.

7

01602-21030

WASHER,SPRING

SN: 1001-UP

6шт.

8

363-54-13150

COVER

SN: 1001-UP

1шт.

9

01238-40612

SCREW

SN: 1001-UP

2шт.

10

01643-30623

WASHER

SN: 1001-UP

2шт.

11

01010-51250

BOLT

SN: 1001-UP

4шт.

12

01643-31232

WASHER

SN: 1001-UP

4шт.

13

361-54-13150

PLATE,FLOOR

SN: 2274-UP

1шт.

|13

362-54-23110

PLATE,FLOOR

SN: 1001-2273

1шт.

13A

417-54-11270

SHEET

SN: 2501-UP

1шт.

14

01010-51016

BOLT

SN: 1001-UP

8шт.

15

01643-31032

WASHER

SN: 1001-UP

8шт.

16

362-54-23510

CONSOLE,L.H.

SN: 1001-UP

1шт.

17

362-54-23510

CONSOLE,R.H.

SN: 1182-UP

1шт.

|17

0

CONSOLE,R.H.

SN: 1001-1181

1шт.

18

362-54-23530

BOLT

SN: 1001-UP

20шт.

19

362-54-23540

WASHER

SN: 1001-UP

20шт.

20

362-54-23650

BELLOWS

SN: 1001-UP

1шт.

21

362-54-23660

COVER

SN: 1001-UP

1шт.

22

362-54-23610

BELLOWS

SN: 1001-UP

1шт.

23

362-54-23620

COVER

SN: 1001-UP

1шт.

24

362-54-23670

PLATE

SN: 1001-1181

1шт.

25

01220-40410

SCREW

SN: 1001-1181

4шт.

26

362-54-23680

WASHER

SN: 1001-1181

4шт.

27

205-06-62170

BOLT

SN: 1001-UP

12шт.

28

205-06-62190

WASHER

SN: 1001-UP

12шт.

29

01220-40612

SCREW

SN: 1001-UP

2шт.

30

01641-20608

WASHER

SN: 1001-UP

2шт.

Выбрано товаров: 35