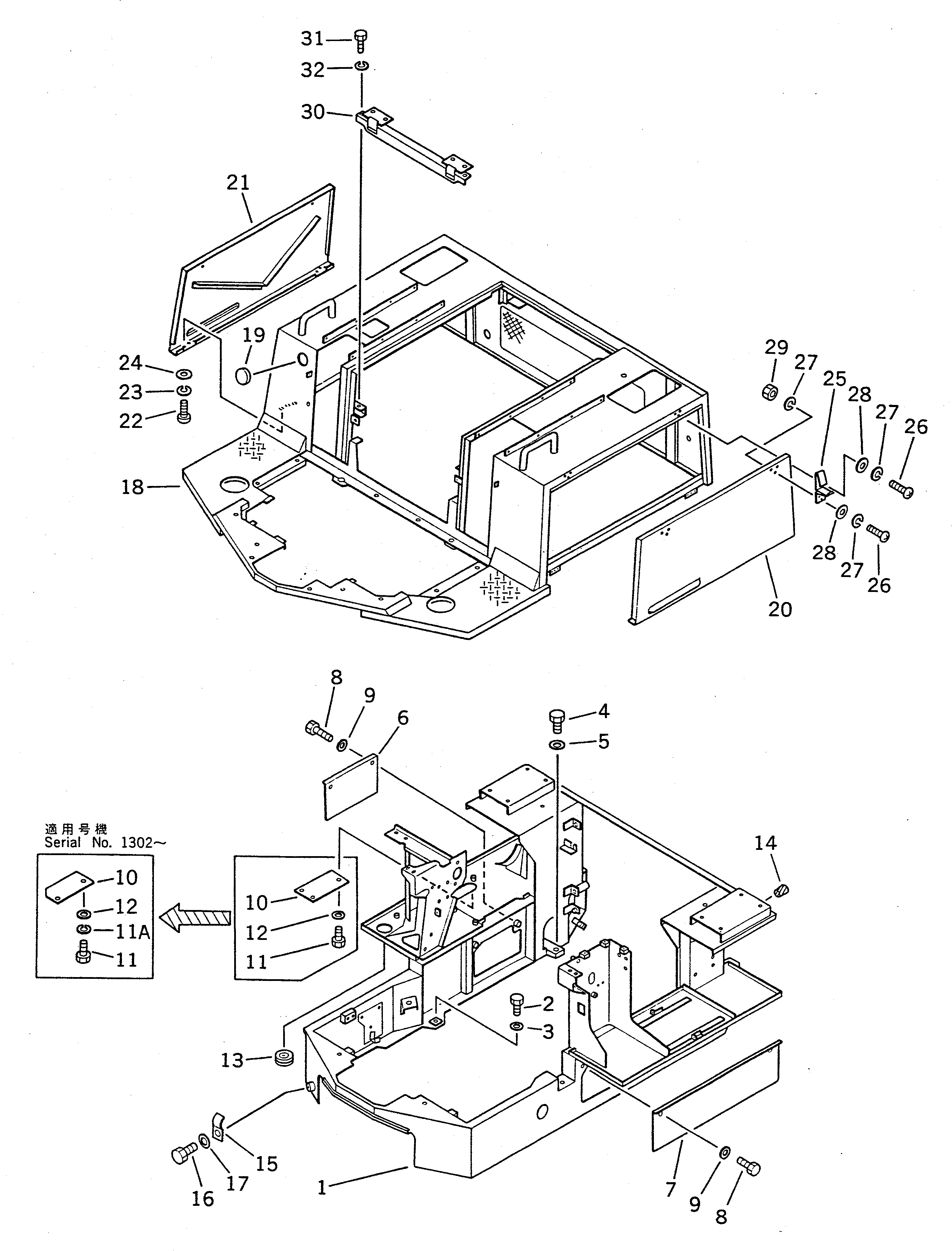
Запчасти Komatsu WA20-1 ОСНОВН. КОНСТРУКЦИЯ И ОБСТАНОВКА (ДЛЯ КАБИНЫ)(№-7) РАМА И ЧАСТИ КОРПУСА

Схема запчастей Komatsu WA20-1 - ОСНОВН. КОНСТРУКЦИЯ И ОБСТАНОВКА (ДЛЯ КАБИНЫ)(№-7) РАМА И ЧАСТИ КОРПУСА
FIT
1:1
100%

Артикул

Название

Примечание

Количество

1

361-54-14310

FRAME,FLOOR

SN: 1001-@

1шт.

2

01010-51230

BOLT

SN: 1001-@

8шт.

3

01643-31232

WASHER

SN: 1001-@

8шт.

4

01010-51650

BOLT

SN: 1001-@

2шт.

5

01643-31645

WASHER

SN: 1001-@

2шт.

6

361-54-14160

PLATE

SN: 1001-@

1шт.

7

361-54-14170

COVER

SN: 1001-@

1шт.

8

01010-51020

BOLT

SN: 1001-@

4шт.

9

01643-31032

WASHER

SN: 1001-@

4шт.

10

361-54-14271

COVER

SN: 1302-@

1шт.

|10

361-54-14270

COVER

SN: 1001-1301

1шт.

11

01010-51020

BOLT

SN: 1302-@

2шт.

|11

01010-51016

BOLT

SN: 1001-1301

3шт.

11A

01602-21030

WASHER,SPRING

SN: 1302-@

2шт.

12

01643-31032

WASHER

SN: 1302-@

2шт.

|12

01643-31032

WASHER

SN: 1001-1301

3шт.

13

581-35-15430

GROMMET

SN: 1001-@

1шт.

14

07049-01012

PLUG

SN: 1001-@

1шт.

15

22X-61-16760

CLAMP

SN: 1001-@

1шт.

16

01010-51016

BOLT

SN: 1001-@

1шт.

17

01643-31032

WASHER

SN: 1001-@

1шт.

18

361-911-1110

COVER

SN: 1001-@

1шт.

19

09415-03614

CAP

SN: 1001-@

1шт.

20

361-54-14210

COVER,L.H.

SN: 1001-@

1шт.

21

361-54-14220

COVER,R.H.

SN: 1001-@

1шт.

22

01220-40510

SCREW

SN: 1001-@

12шт.

23

01602-20513

WASHER,SPRING

SN: 1001-@

12шт.

24

01641-20508

WASHER

SN: 1001-@

12шт.

25

362-54-14880

HOLDER

SN: 1001-2273

4шт.

26

01220-40410

SCREW

SN: 1001-2273

24шт.

27

01602-20410

WASHER,SPRING

SN: 1001-2273

24шт.

28

01641-20405

WASHER

SN: 1001-2273

36шт.

29

01580-10403

NUT

SN: 1001-2273

12шт.

30

362-54-24230

BRACKET

SN: 1001-@

1шт.

31

01010-51020

BOLT

SN: 1001-@

2шт.

32

01602-21030

WASHER,SPRING

SN: 1001-@

2шт.

Выбрано товаров: 36