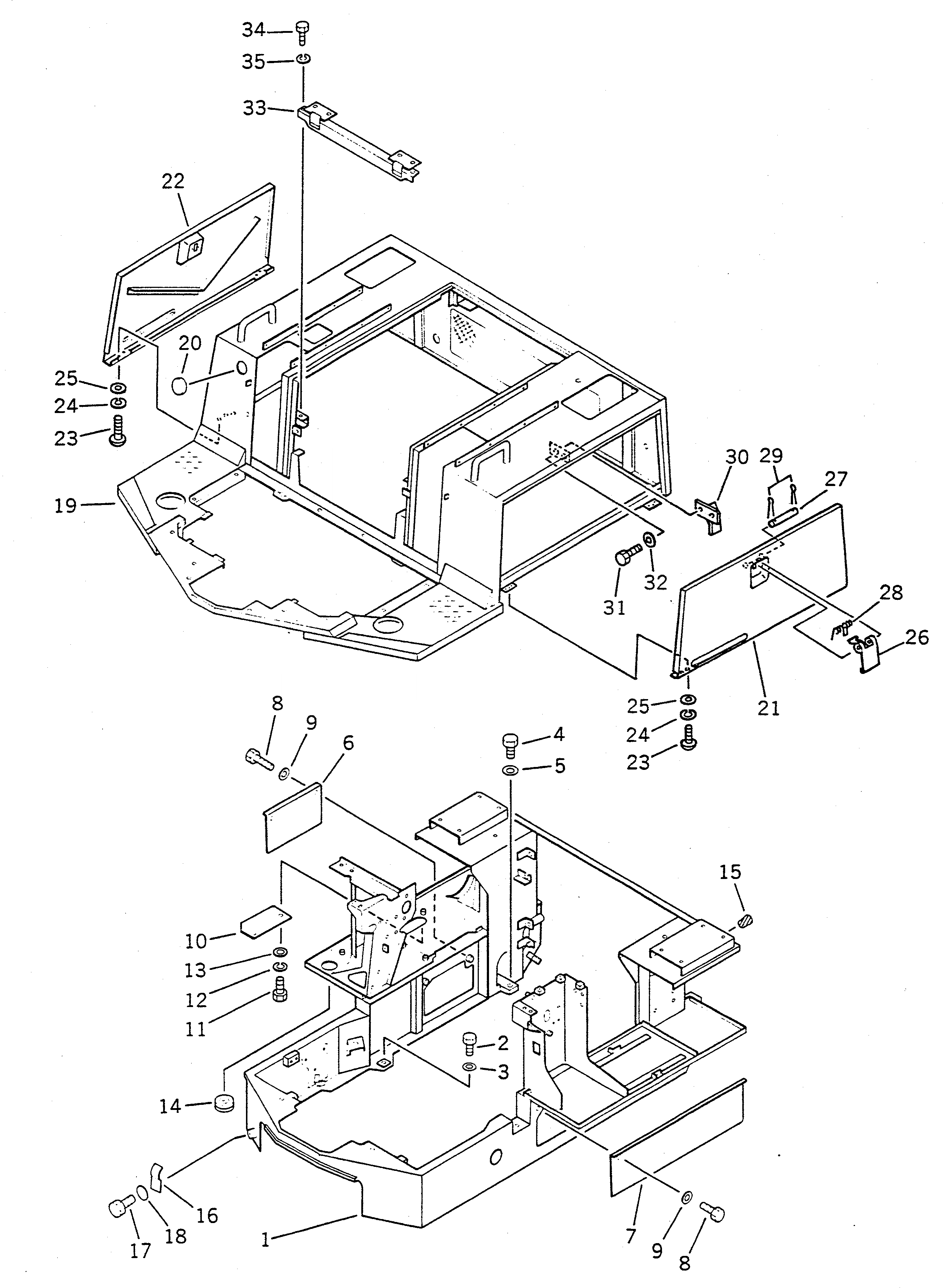
Запчасти Komatsu WA20-1 ОСНОВН. КОНСТРУКЦИЯ И ОБСТАНОВКА (ДЛЯ КАБИНЫ)(№7-) РАМА И ЧАСТИ КОРПУСА

Схема запчастей Komatsu WA20-1 - ОСНОВН. КОНСТРУКЦИЯ И ОБСТАНОВКА (ДЛЯ КАБИНЫ)(№7-) РАМА И ЧАСТИ КОРПУСА
FIT
1:1
100%

Артикул

Название

Примечание

Количество

1

361-54-14310

FRAME,FLOOR

SN: 1001-UP

1шт.

2

361-54-14150

BRACKET (WELDED)

SN: 1001-UP

1шт.

3

130-98-61540

SEAT (WELDED)

SN: 1001-UP

1шт.

4

361-54-14130

FRAME (WELDED)

SN: 1001-UP

1шт.

5

361-54-14140

FRAME (WELDED)

SN: 1001-UP

1шт.

6

01010-51230

BOLT

SN: 1001-UP

8шт.

7

01643-31232

WASHER

SN: 1001-UP

8шт.

8

01010-51650

BOLT

SN: 1001-UP

2шт.

9

01643-31645

WASHER

SN: 1001-UP

2шт.

10

361-54-14160

PLATE

SN: 1001-UP

1шт.

11

361-54-14170

COVER

SN: 1001-UP

1шт.

12

01010-51020

BOLT

SN: 1001-UP

4шт.

13

01643-31032

WASHER

SN: 1001-UP

4шт.

14

361-54-14271

COVER

SN: 1302-UP

1шт.

15

01010-51020

BOLT

SN: 1302-UP

2шт.

16

01602-21030

WASHER,SPRING

SN: 1302-UP

2шт.

17

01643-31032

WASHER

SN: 1302-UP

2шт.

18

581-35-15430

GROMMET

SN: 1001-UP

1шт.

19

07049-01012

PLUG

SN: 1001-UP

1шт.

20

22X-61-16760

CLAMP

SN: 1001-UP

1шт.

21

01010-51016

BOLT

SN: 1001-UP

1шт.

22

01643-31032

WASHER

SN: 1001-UP

1шт.

23

361-911-1111

COVER

SN: 1001-UP

1шт.

24

09415-03614

CAP

SN: 1001-UP

1шт.

25

361-54-14211

COVER,L.H.

SN: 2274-UP

1шт.

26

361-54-14221

COVER,R.H.

SN: 2274-UP

1шт.

27

01220-40510

SCREW

SN: 1001-UP

12шт.

28

01602-20513

WASHER,SPRING

SN: 1001-UP

12шт.

29

01641-20508

WASHER

SN: 1001-UP

12шт.

30

363-54-24360

LEVER

SN: 2274-UP

2шт.

31

09461-00022

PIN

SN: 2274-UP

2шт.

32

09461-00023

SPRING

SN: 2274-UP

2шт.

33

04050-13018

PIN,COTTER

SN: 2274-UP

4шт.

34

363-54-24320

BRACKET

SN: 2274-UP

2шт.

35

01010-51020

BOLT

SN: 2274-UP

4шт.

36

01643-31032

WASHER

SN: 2274-UP

4шт.

37

362-54-24230

BRACKET

SN: 1001-UP

1шт.

38

01010-51020

BOLT

SN: 1001-UP

2шт.

39

01602-21030

WASHER,SPRING

SN: 1001-UP

2шт.

Выбрано товаров: 39