Запчасти Komatsu WA20-1 НАВЕС (ДЛЯ BACK HOE)(№-) РАМА И ЧАСТИ КОРПУСА

Схема запчастей Komatsu WA20-1 - НАВЕС (ДЛЯ BACK HOE)(№-) РАМА И ЧАСТИ КОРПУСА
FIT
1:1
100%

Артикул

Название

Примечание

Количество

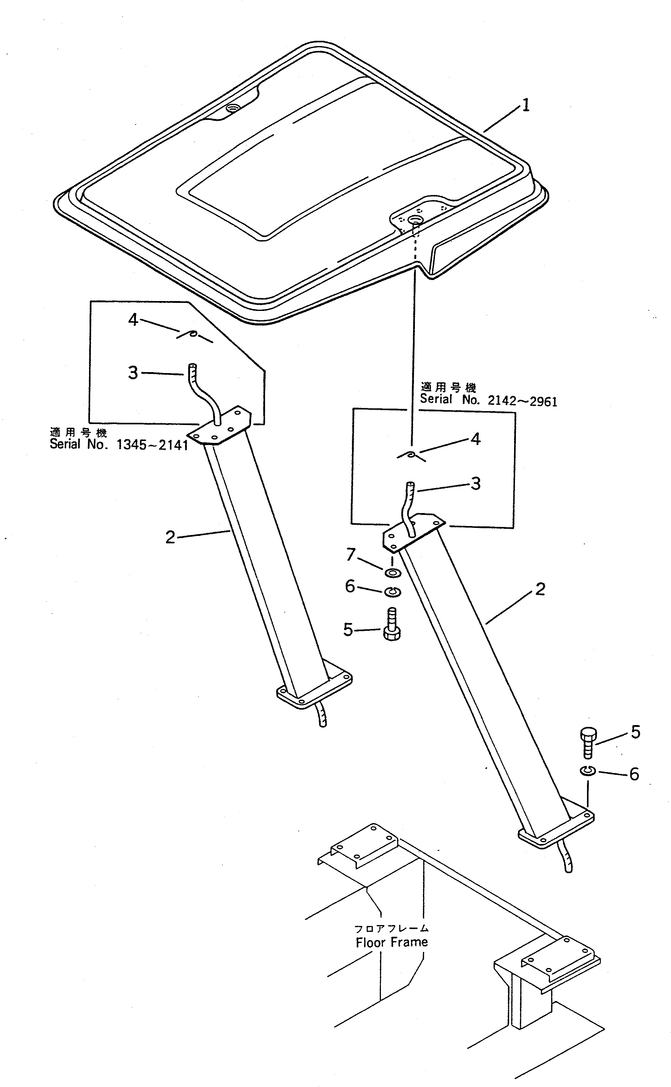
1

20S-54-33110

ROOF ASS'Y

SN: 2142-UP

1шт.

|1

0

ROOF

SN: 1345-2141

1шт.

2

361-906-1230

POLE,L.H.

SN: 2274-UP

1шт.

|2

362-Z06-1140

POLE,L.H.

SN: 1001-2273

1шт.

|2

361-906-1240

POLE,R.H.

SN: 2274-UP

1шт.

|2

362-Z06-1130

POLE,R.H.

SN: 1001-2273

1шт.

3

07287-01917

HOSE

SN: 2142-2961

1шт.

|3

07287-01917

HOSE

SN: 1345-2141

2шт.

4

04059-01020

WIRE,LOCK

SN: 2142-2961

1шт.

|4

04059-01020

WIRE,LOCK

SN: 1345-2141

2шт.

5

01010-51025

BOLT

SN: 1001-UP

16шт.

6

01602-21030

WASHER,SPRING

SN: 1001-UP

16шт.

7

01643-31032

WASHER

SN: 1001-UP

8шт.

Выбрано товаров: 13