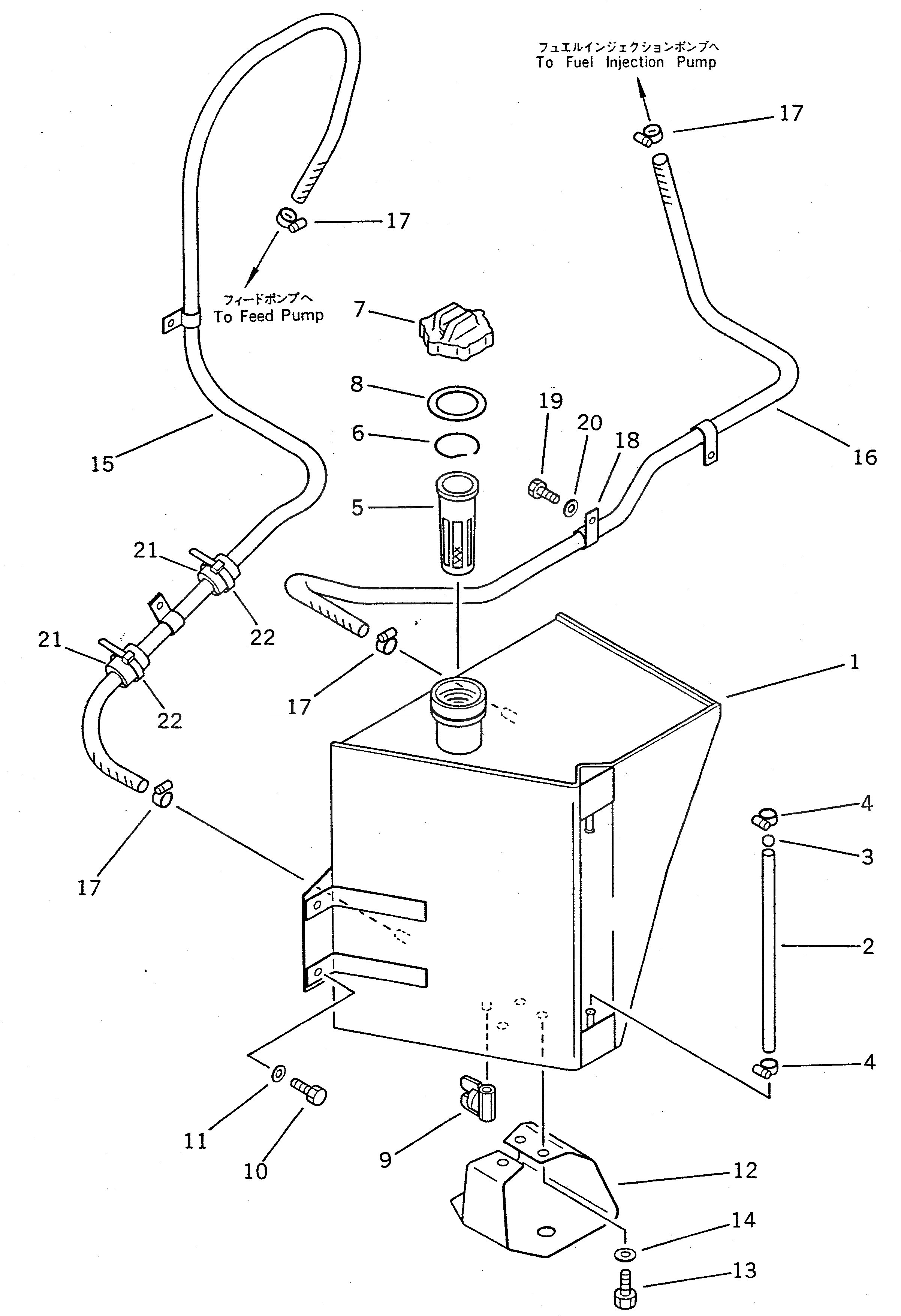
Запчасти Komatsu WA20-1 ТОПЛИВН. БАК. КОМПОНЕНТЫ ДВИГАТЕЛЯ И ЭЛЕКТРИКА

Схема запчастей Komatsu WA20-1 - ТОПЛИВН. БАК. КОМПОНЕНТЫ ДВИГАТЕЛЯ И ЭЛЕКТРИКА
FIT
1:1
100%

Артикул

Название

Примечание

Количество

|1

361-04-00011

FUEL TANK ASS'Y

SN: 2274-UP

1шт.

|1

361-04-00010

FUEL TANK ASS'Y

SN: 1001-2273

1шт.

1

0

TANK

SN: 2274-UP

1шт.

|1

0

TANK

SN: 1001-2273

1шт.

2

07270-01030

TUBE

SN: 1001-UP

1шт.

3

20R-04-21210

BALL,FLOAT

SN: 1001-UP

1шт.

4

07281-00197

CLAMP

SN: 1001-UP

2шт.

5

07056-16415

STRAINER

SN: 1001-UP

1шт.

6

07057-03266

RING

SN: 1001-UP

1шт.

7

07050-20920

CAP ASS'Y

SN: 1001-UP

1шт.

8

07050-20922

GASKET

SN: 1001-UP

1шт.

9

363-04-11130

VALVE

SN: 1001-UP

1шт.

10

01010-51230

BOLT

SN: 1001-UP

4шт.

11

01643-31232

WASHER

SN: 1001-UP

4шт.

12

361-60-14121

STEP

SN: 2274-UP

1шт.

|12

361-60-14120

STEP

SN: 1001-2273

1шт.

13

01010-51020

BOLT

SN: 1001-UP

3шт.

14

01643-31032

WASHER

SN: 1001-UP

3шт.

15

07288-00713

HOSE

SN: 1001-UP

1шт.

16

07288-00717

HOSE

SN: 1379-UP

1шт.

|16

07288-00716

HOSE

SN: 1001-1378

1шт.

17

07281-00137

CLAMP

SN: 1001-UP

4шт.

18

08036-02514

CLIP

SN: 1001-UP

3шт.

19

01010-51016

BOLT

SN: 1001-UP

3шт.

20

01643-31032

WASHER

SN: 1001-UP

3шт.

21

201-43-22190

BUSHING

SN: 1001-UP

2шт.

22

08034-00519

BAND

SN: 1001-UP

2шт.

Выбрано товаров: 27