Запчасти Komatsu WA20-1 ГИДРОЛИНИЯ (PRESSURE PICK-UP ЛИНИЯ) (ДЛЯ BACK HOE) УПРАВЛ-Е РАБОЧИМ ОБОРУДОВАНИЕМ

Схема запчастей Komatsu WA20-1 - ГИДРОЛИНИЯ (PRESSURE PICK-UP ЛИНИЯ) (ДЛЯ BACK HOE) УПРАВЛ-Е РАБОЧИМ ОБОРУДОВАНИЕМ
FIT
1:1
100%

Артикул

Название

Примечание

Количество

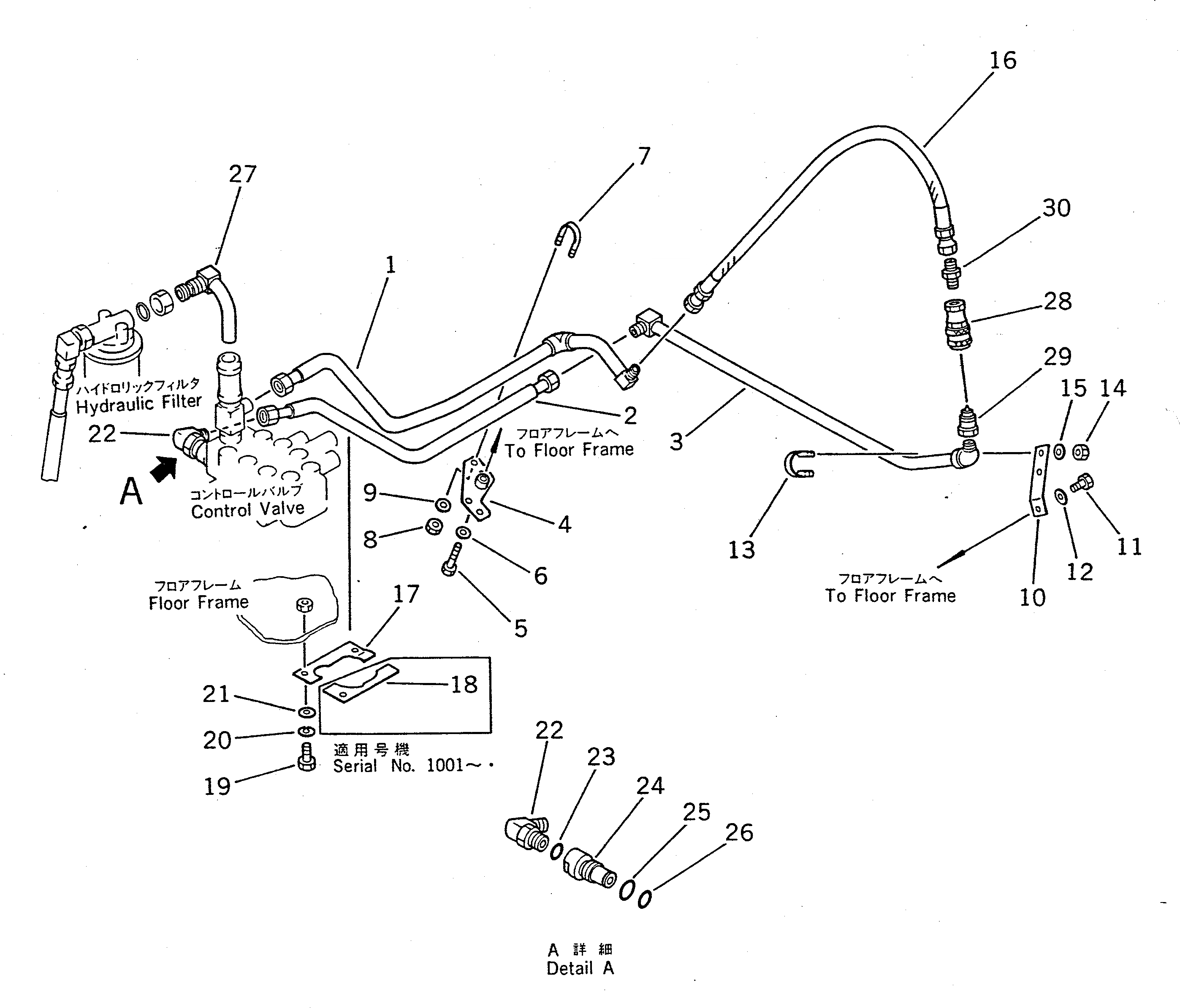
1

361-970-1181

TUBE,(FOR 2-SPOOL VALVE)

SN: 2274-UP

1шт.

|1

361-970-1180

TUBE,(FOR 2-SPOOL VALVE)

SN: 1001-2273

1шт.

|1

361-970-1111

TUBE,(FOR 3-SPOOL VALVE)

SN: 2274-UP

1шт.

|1

361-970-1110

TUBE,(FOR 3-SPOOL VALVE)

SN: 1001-2273

1шт.

2

361-970-1191

TUBE,(FOR 2-SPOOL VALVE)

SN: 2274-UP

1шт.

|2

361-970-1190

TUBE,(FOR 2-SPOOL VALVE)

SN: 1001-2273

1шт.

|2

361-970-1121

TUBE,(FOR 3-SPOOL VALVE)

SN: 2274-UP

1шт.

|2

361-970-1120

TUBE,(FOR 3-SPOOL VALVE)

SN: 1001-2273

1шт.

3

361-970-1131

TUBE

SN: 2274-UP

1шт.

|3

361-970-1130

TUBE

SN: 1001-2273

1шт.

4

361-970-1140

BRACKET

SN: 1001-UP

1шт.

5

01010-51040

BOLT

SN: 1001-UP

1шт.

6

01643-31032

WASHER

SN: 1001-UP

1шт.

7

07283-22236

CLIP

SN: 1001-UP

2шт.

8

01599-01011

NUT

SN: 1001-UP

4шт.

9

01643-31032

WASHER

SN: 1001-UP

4шт.

10

361-970-1151

PLATE

SN: 2274-UP

1шт.

|10

361-970-1150

PLATE

SN: 1001-2273

1шт.

11

01010-51020

BOLT

SN: 1001-UP

1шт.

12

01643-31032

WASHER

SN: 1001-UP

1шт.

13

07283-22236

CLIP

SN: 1001-UP

1шт.

14

01599-01011

NUT

SN: 1001-UP

2шт.

15

01643-31032

WASHER

SN: 1001-UP

2шт.

16

07123-40408

HOSE

SN: 1001-UP

1шт.

17

361-970-1161

PLATE

SN: 1001-UP

1шт.

18

361-970-1170

PLATE

SN: 1001-.

1шт.

19

01010-51020

BOLT

SN: .-UP

2шт.

|19

01010-51020

BOLT

SN: 1001-.

3шт.

20

01602-21030

WASHER,SPRING

SN: .-UP

2шт.

|20

01602-21030

WASHER,SPRING

SN: 1001-.

3шт.

21

01643-31032

WASHER

SN: .-UP

2шт.

|21

01643-31032

WASHER

SN: 1001-.

3шт.

22

07235-10422

ELBOW

SN: 1001-UP

1шт.

23

07002-12034

O-RING

SN: 1001-UP

1шт.

24

700-22-11390

NIPPLE

SN: 1001-UP

1шт.

25

07002-02434

O-RING

SN: 1001-UP

1шт.

26

700-22-11410

O-RING

SN: 1001-UP

1шт.

27

361-62-12181

TUBE

SN: 2274-UP

1шт.

|27

361-62-12180

TUBE

SN: 1001-2273

1шт.

28

10E-60-16340

COUPLING

SN: 1001-UP

1шт.

29

10E-60-16350

COUPLING

SN: 1001-UP

1шт.

30

10E-60-16360

NIPPLE

SN: 1001-UP

1шт.

Выбрано товаров: 0