Запчасти Komatsu WA20-2 РЫЧАГ УПРАВЛЕНИЯ РАБОЧИМ ОБОРУДОВАНИЕМ И МЕХАНИЗМ (/)(№-8) КАБИНА ОПЕРАТОРА И СИСТЕМА УПРАВЛЕНИЯ

Схема запчастей Komatsu WA20-2 - РЫЧАГ УПРАВЛЕНИЯ РАБОЧИМ ОБОРУДОВАНИЕМ И МЕХАНИЗМ (/)(№-8) КАБИНА ОПЕРАТОРА И СИСТЕМА УПРАВЛЕНИЯ
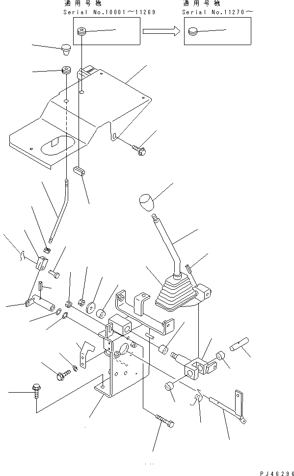
1
2
3
4
4A
4B
5
5
6
7
8
8
9
10
11
12
13
14
14
15
16
17
18
19
20
21
22
23
24
25
26
27
28
29
30
31
32
FIT
1:1
100%

Артикул

Название

Примечание

Количество

1

363-43-38111

LEVER

SN: 12142-@

1шт.

1

363-43-38110

LEVER

SN: 10001-12141

1шт.

2

363-43-38190

KNOB

SN: 10001-@

1шт.

3

421-43-28431

BOOT

SN: 10728-@

1шт.

3

421-43-28430

BOOT

SN: 10001-10727

1шт.

4

363-43-38161

BRACKET

SN: 12142-@

1шт.

4

363-43-38160

BRACKET

SN: 10001-12141

1шт.

4A

01016-50825

BOLT

SN: 10362-@

1шт.

4B

01580-10806

NUT

SN: 10362-@

1шт.

5

363-43-27250

BEARING

SN: 10001-@

2шт.

6

01435-01025

BOLT

SN: 10001-@

3шт.

7

363-43-38120

YOKE

SN: 10001-@

1шт.

8

363-43-27260

BEARING

SN: 10001-@

2шт.

9

363-43-27161

PIN

SN: 10001-@

1шт.

10

04025-00332

PIN,SPRING

SN: 10001-@

1шт.

11

113-43-23230

WASHER

SN: 10001-@

1шт.

12

01598-00809

NUT

SN: 10001-@

1шт.

13

361-43-28160

COVER

SN: 10001-@

1шт.

14

415-43-18231

GROMMET

SN: 11270-@

1шт.

14

415-43-18231

GROMMET

SN: 10001-11269

2шт.

15

01435-00816

BOLT

SN: 10001-@

3шт.

16

363-43-38130

ROD

SN: 10001-@

1шт.

17

415-43-18250

KNOB

SN: 10001-@

1шт.

18

04210-20624

YOKE

SN: 10001-@

1шт.

19

01580-10605

NUT

SN: 10001-@

1шт.

20

363-43-38141

LEVER

SN: 12142-@

1шт.

20

363-43-38140

LEVER

SN: 10001-12141

1шт.

21

363-43-38151

PIN

SN: 12142-@

1шт.

21

363-43-38150

PIN

SN: 10001-12141

1шт.

22

09467-00006

SPRING

SN: 10001-@

1шт.

23

04025-00320

PIN,SPRING

SN: 10001-@

1шт.

24

04205-10618

PIN

SN: 10001-@

1шт.

25

04052-10633

PIN,SNAP

SN: 10001-@

1шт.

26

363-43-38220

PLATE

SN: 10001-@

1шт.

27

01435-00620

BOLT

SN: 10001-@

2шт.

28

01643-30823

WASHER

SN: 10001-@

2шт.

29

361-43-28170

SHEET

SN: 10001-@

1шт.

30

09415-01008

CAP

SN: 11270-@

1шт.

31

363-43-38530

SHIM, 0.5MM

SN: 12142-@

2шт.

32

363-43-38550

SHIM, 0.2MM

SN: 12142-@

2шт.

Выбрано товаров: 0