Запчасти Komatsu WA20-2 МОТОР ХОДА (ВНУТР. ЧАСТИ) (УПРАВЛ-Е КРЫШКАAND КЛАПАН)(№-) ОСНОВН. КОМПОНЕНТЫ И РЕМКОМПЛЕКТЫ

Схема запчастей Komatsu WA20-2 - МОТОР ХОДА (ВНУТР. ЧАСТИ) (УПРАВЛ-Е КРЫШКАAND КЛАПАН)(№-) ОСНОВН. КОМПОНЕНТЫ И РЕМКОМПЛЕКТЫ
FIT
1:1
100%

Артикул

Название

Примечание

Количество

|$2

361-17-22202

MOTOR ASS'Y,(A6VM28HA-995-1)

SN: 11270-UP

1шт.

|$3

361-17-22201

MOTOR ASS'Y,(A6VM28HA-995-0)

SN: 10162-11269

1шт.

|$$3

THESE ASSEMBLIES CONSIST OF ALL PARTS SHOWN IN FIGS.Y1651-01A0A TO Y1651-03A0A .

-1шт.

|$$4

THE UCHIDA YUATSU KIKI PART NUMBER IS THAT UC IS REMOVED FROM KOMATSU PART NUMBER LISTED BELOW.

-1шт.

|$6

0

CONTROL ASS'Y

SN: 11270-UP

1шт.

|$7

0

CONTROL ASS'Y

SN: 10162-11269

1шт.

|$8

0

CONTROL ASS'Y

SN: 10162-UP

1шт.

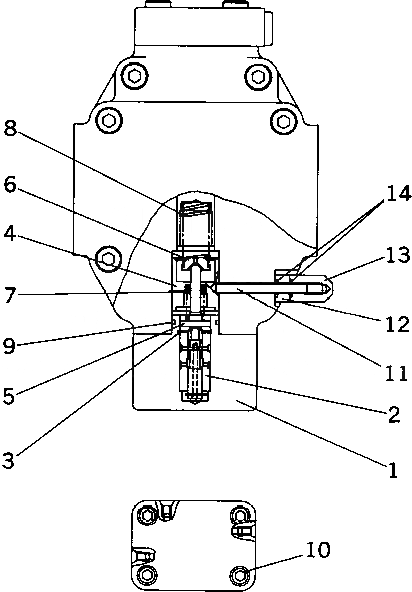
1

0

COVER ASS'Y

SN: 10162-UP

1шт.

2

0

SPOOL ASS'Y

SN: 10001-UP

1шт.

3

0

RING,SNAP

SN: 10001-UP

1шт.

4

0

GUIDE

SN: 10001-UP

1шт.

5

0

RETAINER

SN: 10001-UP

1шт.

6

0

RETAINER

SN: 10001-UP

1шт.

7

0

SPRING

SN: 10001-UP

1шт.

8

0

SPRING

SN: 10001-UP

1шт.

9

02890-01020

O-RING

SN: 10001-UP

1шт.

10

01252-30640

BOLT

SN: 10001-UP

4шт.

11

0

SCREW,STOPPER

SN: 10001-UP

1шт.

12

UC1609041827

NUT

SN: 10162-UP

1шт.

13

UC1100310514

NUT,CAP

SN: 10162-UP

1шт.

14

UC1800042449

O-RING

SN: 10162-UP

2шт.

Выбрано товаров: 21