Запчасти Komatsu WA20-2 ПАНЕЛЬ ПРИБОРОВ(№-) ЭЛЕКТРИКА

Схема запчастей Komatsu WA20-2 - ПАНЕЛЬ ПРИБОРОВ(№-) ЭЛЕКТРИКА
FIT
1:1
100%

Артикул

Название

Примечание

Количество

|$1

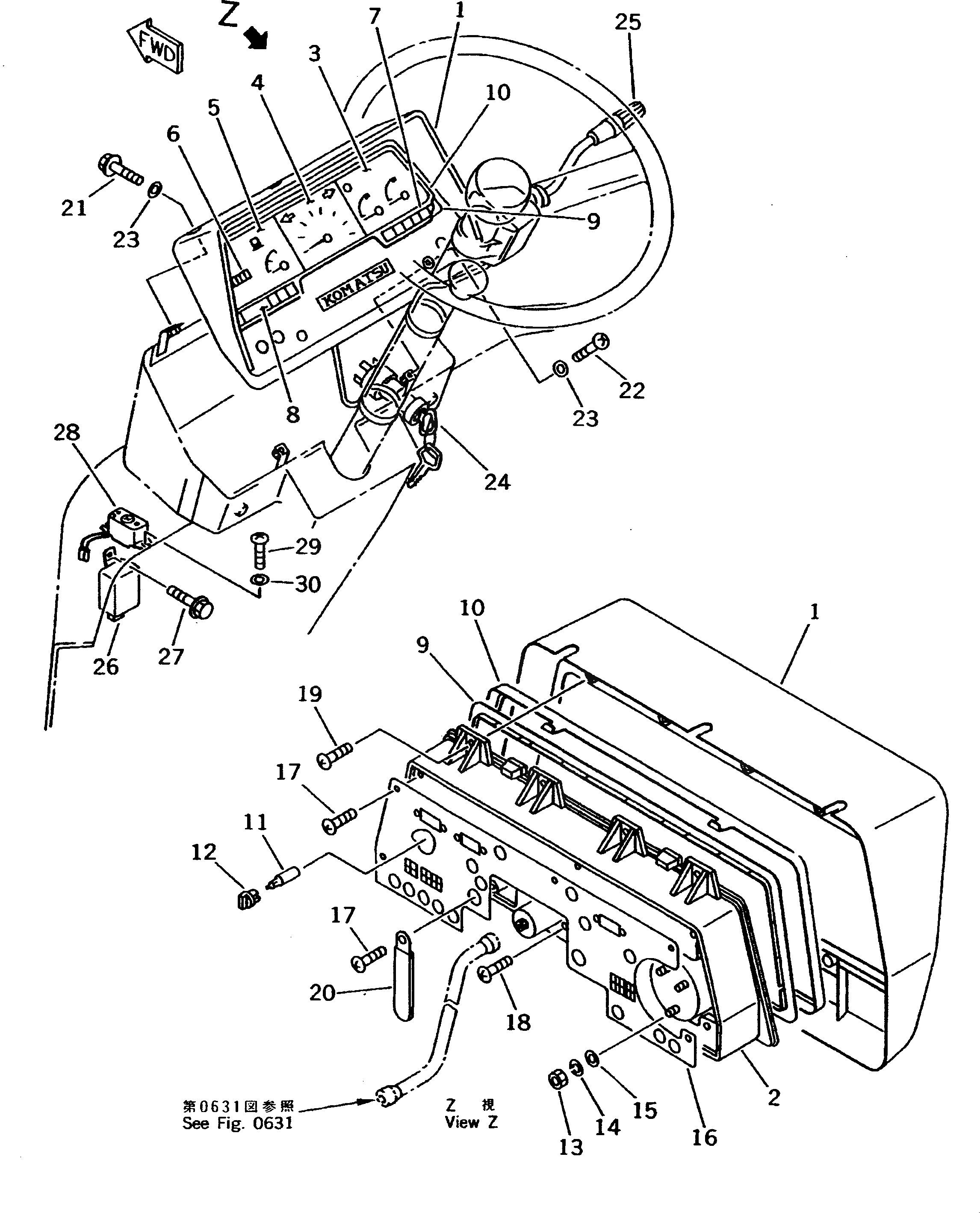
363-06-35110

PANEL ASS'Y

SN: 10001-11241

1шт.

1

363-06-35370

PANEL

SN: 10001-11241

1шт.

2

42A-06-15220

HOUSING

SN: 10001-11241

1шт.

3

363-06-35310

GAUGE,TEMPERATURE

SN: 10001-11241

1шт.

4

363-06-35320

TACHOMETER

SN: 10001-11241

1шт.

5

363-06-35380

GAUGE,FUEL

SN: 10001-11241

1шт.

6

42A-06-15320

METER,SERVICE

SN: 10001-11241

1шт.

7

363-06-35330

LENS

SN: 10001-11241

1шт.

8

363-06-35340

LENS

SN: 10001-11241

1шт.

9

42A-06-15280

PLATE,SHADOW

SN: 10001-11241

1шт.

10

42A-06-15290

COVER,FRONT

SN: 10001-11241

1шт.

11

7815-11-1010

BULB, 1.4W

SN: 10001-11241

15шт.

12

363-06-35360

SOCKET

SN: 10001-11241

15шт.

13

01580-10302

NUT

SN: 10001-11241

15шт.

14

01601-20307

WASHER,SPRING

SN: 10001-11241

15шт.

15

01641-20305

WASHER

SN: 10001-11241

15шт.

16

363-06-36310

PLATE,PRINT

SN: 10001-11241

1шт.

17

01370-00412

SCREW

SN: 10001-11241

7шт.

18

01023-10408

SCREW

SN: 10001-11241

2шт.

19

42A-06-15350

SCREW

SN: 10001-11241

7шт.

20

42A-06-15340

CLIP

SN: 10001-11241

2шт.

21

363-06-35410

BOLT

SN: 10001-11241

3шт.

22

01220-70616

SCREW

SN: 10001-11241

2шт.

23

01642-40608

WASHER

SN: 10001-11241

5шт.

24

363-06-31110

SWITCH,STARTING

SN: 10001-11241

1шт.

25

363-06-31140

SWITCH,COMBINATION

SN: 10001-11241

1шт.

26

363-06-31240

FLASHER

SN: 10806-11241

1шт.

26

08077-21201

FLASHER

SN: 10001-10805

1шт.

27

01435-00610

BOLT

SN: 10001-11241

1шт.

28

363-06-31150

BUZZER

SN: 10001-11241

1шт.

29

01023-10414

SCREW

SN: 10001-11241

2шт.

30

01641-00405

WASHER

SN: 10001-11241

2шт.

Выбрано товаров: 0