Запчасти Komatsu WA20-2 ОСНОВН. НАСОС (ПОРШЕНЬ НАСОС ВНУТР. ЧАСТИ)(№-8) ОСНОВН. КОМПОНЕНТЫ И РЕМКОМПЛЕКТЫ

Схема запчастей Komatsu WA20-2 - ОСНОВН. НАСОС (ПОРШЕНЬ НАСОС ВНУТР. ЧАСТИ)(№-8) ОСНОВН. КОМПОНЕНТЫ И РЕМКОМПЛЕКТЫ
FIT
1:1
100%

Артикул

Название

Примечание

Количество

|1

361-17-21200

PUMP ASS'Y,(A4VG28DA-987-0)

SN: 10222-10841

1шт.

|1

361-17-21200

PUMP ASS'Y,(A4VG28DA-999-1)

SN: 10001-10221

1шт.

|$$3

THESE ASSEMBLIES CONSIST OF ALL PARTS SHOWN IN FIGS.Y1610-01A0 TO Y1610-07A0.

-1шт.

|$$4

THE UCHIDA YUATSU PART NUMBER IS THAT UC IS REMOVED FROM KOMATSU PART NUMBER LISTED BELOW.

-1шт.

|1

UCB1043R9914-0

PUMP ASS'Y,PISTON

SN: 10222-10841

1шт.

|1

UCC9845A0376-0

PUMP ASS'Y,PISTON

SN: 10001-10221

1шт.

|$$7

THESE ASSEMBLIES CONSIST OF ALL PARTS SHOWN IN FIGS.Y1610-02A0 TO Y1610-06A0.

-1шт.

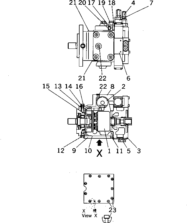
1

0

ROTARY ASS'Y

SN: 10001-@

1шт.

2

0

CYLINDER ASS'Y,LEANING

SN: 10001-@

1шт.

3

0

COVER ASS'Y

SN: 10222-10841

1шт.

|3

0

COVER ASS'Y

SN: 10001-10221

1шт.

4

UC4100368143

RELIEF VALVE ASS'Y,HIGH PRESSURE

SN: 10001-@

2шт.

5

UC4704336674

RELIEF VALVE ASS'Y,LOW PRESSURE

SN: 10001-@

1шт.

6

0

CONTROL VALVE ASS'Y

SN: 10001-@

1шт.

7

UC4100368152

DA CURTRIDGE ASS'Y

SN: 10001-@

1шт.

8

0

HOUSING

SN: 10222-@

1шт.

|8

0

HOUSING

SN: 10001-10221

1шт.

9

UC1704260763

COVER

SN: 10001-@

1шт.

10

UC1704352779

PACKING

SN: 10001-@

1шт.

11

01252-30612

BOLT

SN: 10001-@

11шт.

12

UC1100389629

PLUG

SN: 10222-@

2шт.

|12

UC1704142289

PLUG

SN: 10001-10221

2шт.

13

0

PIN

SN: 10001-@

2шт.

14

0

SPRING

SN: 10001-@

2шт.

15

0

PIN,SPRING

SN: 10001-@

2шт.

16

02891-02009

O-RING

SN: 10222-@

2шт.

|16

UC1701527265

PACKING

SN: 10001-10221

2шт.

17

UC1100362276

PIN

SN: 10222-@

1шт.

|17

UC1704328328

PIN

SN: 10001-10221

1шт.

18

UC1181712007

NUT

SN: 10222-10841

1шт.

|18

UC1100310495

NUT

SN: 10001-10221

1шт.

19

UC1701516926

PLUG

SN: 10222-@

1шт.

|19

UC1701533646

PLUG

SN: 10001-10221

1шт.

20

07000-02014

O-RING

SN: 10222-10841

1шт.

|20

UC1301178003

O-RING

SN: 10001-10221

1шт.

21

UC1100350071

PLUG

SN: 10001-@

2шт.

|21

418-62-11620

O-RING

SN: 10001-@

1шт.

22

UC1607054546

PLUG

SN: 10001-@

5шт.

|22

416-62-11480

O-RING

SN: 10001-@

1шт.

23

UC1700843025

SEAL

SN: 10001-@

2шт.

Выбрано товаров: 40