Запчасти Komatsu WA20-2 МОТОР ХОДА (ВНУТР. ЧАСТИ) (УПРАВЛ-Е ГРУППА)(№-) ОСНОВН. КОМПОНЕНТЫ И РЕМКОМПЛЕКТЫ

Схема запчастей Komatsu WA20-2 - МОТОР ХОДА (ВНУТР. ЧАСТИ) (УПРАВЛ-Е ГРУППА)(№-) ОСНОВН. КОМПОНЕНТЫ И РЕМКОМПЛЕКТЫ
FIT
1:1
100%

Артикул

Название

Примечание

Количество

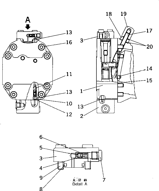
|1

361-17-22200

MOTOR ASS'Y,(A6VM28HA-999-0)

SN: 10001-10161

1шт.

|$$2

THIS ASSEMBLY CONSISTS OF ALL PARTS SHOWN IN FIGS.Y1651-01A0¤ 02A0 AND 03A0.

-1шт.

|$$3

THE UCHIDA YUATSU PART NUMBER IS THAT UC IS REMOVED FROM KOMATSU PART NUMBER LISTED BELOW.

-1шт.

|1

0

CONTROL ASS'Y

SN: 10001-10161

1шт.

1

0

BODY ASS'Y

SN: 10001-10161

1шт.

2

0

CONTROL ASS'Y

SN: 10001-10161

1шт.

|3

0

REGULATOR ASS'Y

SN: 10001-10161

1шт.

3

0

COVER

SN: 10001-10161

1шт.

4

0

GUIDE

SN: 10001-@

1шт.

5

0

ORIFICE

SN: 10001-@

1шт.

6

0

GUIDE

SN: 10001-@

1шт.

7

0

PLUG

SN: 10001-10161

1шт.

8

UC1300158008

O-RING

SN: 10001-@

1шт.

9

01252-30830

BOLT

SN: 10001-@

4шт.

10

0

GUIDE

SN: 10001-10161

2шт.

11

0

POPPET

SN: 10001-10161

2шт.

12

UC1300014009

O-RING

SN: 10001-@

2шт.

13

UC1300022009

O-RING

SN: 10001-@

5шт.

14

0

PIN

SN: 10001-@

2шт.

15

0

PACKING

SN: 10001-@

1шт.

16

01252-30850

BOLT

SN: 10001-@

8шт.

17

0

SCREW,STOPPER

SN: 10001-10161

1шт.

18

UC1609041836

NUT

SN: 10001-10161

1шт.

19

UC1100310505

NUT,CAP

SN: 10001-10161

1шт.

20

02890-01009

O-RING

SN: 10001-10161

1шт.

Выбрано товаров: 25