Запчасти Komatsu WA20-2 МОТОР ХОДА (ВНУТР. ЧАСТИ) (УПРАВЛ-Е ГРУППА)(№-) ОСНОВН. КОМПОНЕНТЫ И РЕМКОМПЛЕКТЫ

Схема запчастей Komatsu WA20-2 - МОТОР ХОДА (ВНУТР. ЧАСТИ) (УПРАВЛ-Е ГРУППА)(№-) ОСНОВН. КОМПОНЕНТЫ И РЕМКОМПЛЕКТЫ
FIT
1:1
100%

Артикул

Название

Примечание

Количество

|1

361-17-22202

MOTOR ASS'Y,(A6VM28HA-995-1)

SN: 11270-UP

1шт.

|1

361-17-22201

MOTOR ASS'Y,(A6VM28HA-995-0)

SN: 10162-11269

1шт.

|$$3

THESE ASSEMBLIES CONSIST OF ALL PARTS SHOWN IN FIGS.Y1651-01A0A TO Y1651-03A0A .

-1шт.

|$$4

THE UCHIDA YUATSU PART NUMBER IS THAT UC IS REMOVED FROM KOMATSU PART NUMBER LISTED BELOW.

-1шт.

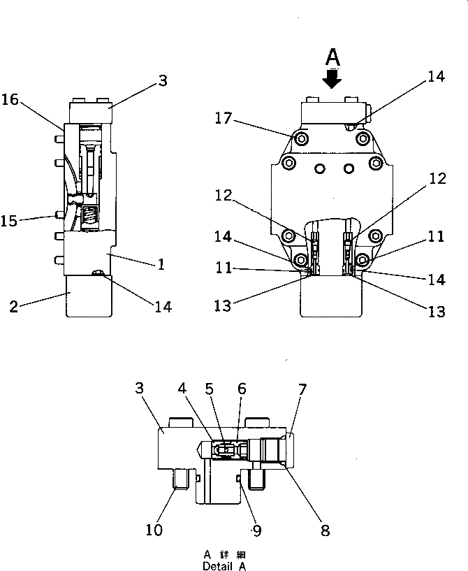
|1

0

CONTROL ASS'Y

SN: 10162-UP

1шт.

1

0

BODY ASS'Y

SN: 10162-UP

1шт.

2

0

CONTROL ASS'Y

SN: 10162-UP

1шт.

|3

0

REGULATOR ASS'Y

SN: 10162-UP

1шт.

3

0

COVER

SN: 10162-UP

1шт.

4

0

GUIDE

SN: 10001-UP

1шт.

5

0

ORIFICE

SN: 10001-UP

1шт.

6

0

GUIDE

SN: 10001-UP

1шт.

7

0

PLUG

SN: 10162-UP

1шт.

8

0

O-RING

SN: 10001-UP

1шт.

9

UC1300158008

O-RING

SN: 10001-UP

1шт.

10

01252-30830

BOLT

SN: 10001-UP

4шт.

11

0

GUIDE

SN: 10162-UP

2шт.

12

0

POPPET

SN: 10162-UP

2шт.

13

UC1300014009

O-RING

SN: 10001-UP

2шт.

14

UC1300022009

O-RING

SN: 10001-UP

5шт.

15

0

PIN

SN: 10001-UP

2шт.

16

UC1704350857

PACKING

SN: 10001-UP

1шт.

17

01252-30850

BOLT

SN: 10001-UP

8шт.

Выбрано товаров: 23