Запчасти Komatsu WA200-1 РУЛЕВ. УПРАВЛЕНИЕ МАСЛОПРОВОДЯЩАЯ ЛИНИЯ (/)(№9-) РУЛЕВ. УПРАВЛЕНИЕ И СИСТЕМА УПРАВЛЕНИЯS

Схема запчастей Komatsu WA200-1 - РУЛЕВ. УПРАВЛЕНИЕ МАСЛОПРОВОДЯЩАЯ ЛИНИЯ (/)(№9-) РУЛЕВ. УПРАВЛЕНИЕ И СИСТЕМА УПРАВЛЕНИЯS
FIT
1:1
100%

Артикул

Название

Примечание

Количество

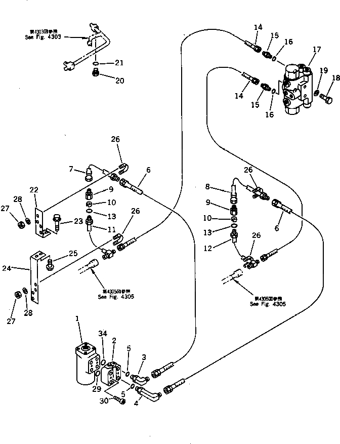
1

418-64-15400

VALVE ASS'Y,STEERING

SN: 20001-UP

1шт.

2

418-64-15300

VALVE ASS'Y,OVERLOAD

SN: 20001-UP

1шт.

3

418-62-11440

ELBOW

SN: 20001-UP

1шт.

4

418-62-11450

ELBOW

SN: 20001-UP

1шт.

5

415-62-11560

O-RING

SN: 20001-UP

2шт.

6

418-62-11650

HOSE

SN: 20001-UP

2шт.

7

418-62-11460

TUBE

SN: 20001-UP

1шт.

8

418-62-11470

TUBE

SN: 20001-UP

1шт.

9

416-62-11110

BODY

SN: 20001-UP

2шт.

10

419-62-11440

POPPET

SN: 20001-UP

2шт.

11

418-62-11680

TUBE

SN: 20001-UP

1шт.

12

418-62-11690

TUBE

SN: 20001-UP

1шт.

13

07002-13034

O-RING

SN: 20001-UP

2шт.

14

07086-00204

HOSE

SN: 20001-UP

2шт.

15

418-62-11660

UNION

SN: 20001-UP

2шт.

16

07000-12014

O-RING

SN: 20001-UP

2шт.

17

418-64-15800

VALVE ASS'Y,CUSHION

SN: 20219-UP

1шт.

18

01010-50820

BOLT

SN: 20001-UP

2шт.

19

01643-30823

WASHER

SN: 20001-UP

2шт.

20

07040-11409

PLUG

SN: 20219-UP

1шт.

21

07002-11423

O-RING

SN: 20001-UP

1шт.

22

418-62-11480

SUPPORT

SN: 20001-UP

1шт.

23

01435-01030

BOLT

SN: .-UP

2шт.

24

418-62-11530

BRACKET

SN: 20001-UP

1шт.

25

01435-01020

BOLT

SN: .-UP

2шт.

26

07283-22236

CLIP

SN: 20001-UP

4шт.

27

01599-01011

NUT

SN: 20001-UP

8шт.

28

01643-31032

WASHER

SN: 20001-UP

8шт.

29

42A-64-15310

O-RING

SN: 20001-UP

4шт.

30

02101-00645

BOLT

SN: 20001-UP

2шт.

Выбрано товаров: 30