Запчасти Komatsu WA200-1 РУЛЕВ. УПРАВЛЕНИЕ УПРАВЛ-Е И УПРАВЛ-Е ТРАНСМИССИЕЙ(№-9999) РУЛЕВ. УПРАВЛЕНИЕ И СИСТЕМА УПРАВЛЕНИЯS

Схема запчастей Komatsu WA200-1 - РУЛЕВ. УПРАВЛЕНИЕ УПРАВЛ-Е И УПРАВЛ-Е ТРАНСМИССИЕЙ(№-9999) РУЛЕВ. УПРАВЛЕНИЕ И СИСТЕМА УПРАВЛЕНИЯS
FIT
1:1
100%

Артикул

Название

Примечание

Количество

|$0

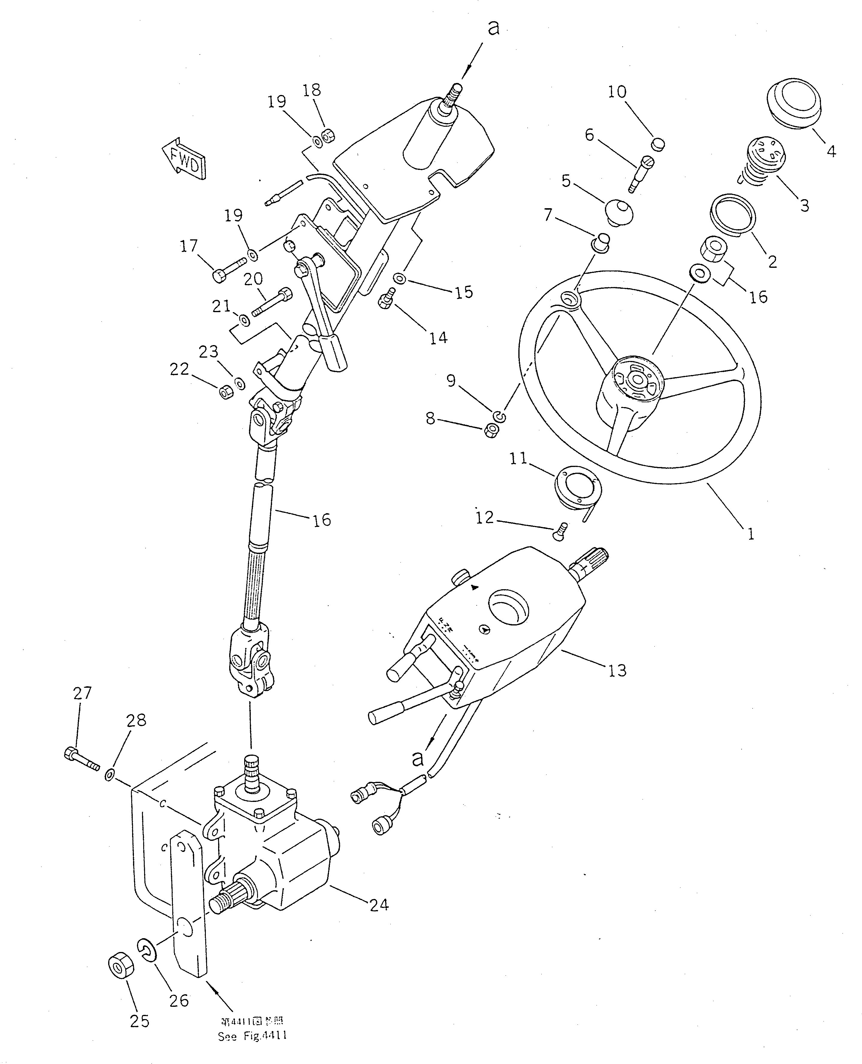
421-40-12111

WHEEL ASS'Y,STEERING

SN: 10001-@

1шт.

1

421-40-12121

WHEEL,STEERING

SN: 10001-@

1шт.

2

362-43-15150

SPRING,HORN

SN: 10001-.

1шт.

3

362-43-15140

SPRING,LOCK

SN: 10001-@

1шт.

4

421-40-12160

CAP

SN: .-@

1шт.

4

0

CAP

SN: 10001-.

1шт.

5

362-43-15120

BUTTON,HORN

SN: 10001-@

1шт.

6

362-43-15160

GRIP

SN: 10001-@

1шт.

7

362-43-15180

SHAFT

SN: 10001-@

1шт.

8

362-43-15190

BUSHING

SN: 10001-@

1шт.

9

362-43-15210

NUT

SN: 10001-@

1шт.

10

362-43-15220

WASHER

SN: 10001-@

1шт.

11

362-43-15170

CAP

SN: 10001-@

1шт.

12

421-40-12151

PIN,CANCEL

SN: 10001-@

1шт.

13

01235-40616

SCREW

SN: 10001-@

3шт.

14

421-06-11603

SWITCH ASS'Y,TRANSMISSION CONTROL

SN: 10031-@

1шт.

14

0

SWITCH ASS'Y,TRANSMISSION CONTROL

SN: 10001-10030

1шт.

15

01010-50616

BOLT

SN: 10001-@

3шт.

16

01643-30623

WASHER

SN: 10001-@

3шт.

17

421-40-12313

STEERING COLUMN A.

SN: 10001-@

1шт.

18

01011-51010

BOLT

SN: 10001-@

2шт.

19

01580-11008

NUT

SN: 10001-@

2шт.

20

01643-31032

WASHER

SN: 10001-@

4шт.

21

421-40-12912

BOLT

SN: 10001-@

1шт.

22

01643-31232

WASHER

SN: 10001-19999

1шт.

23

01580-10806

NUT

SN: 10001-@

1шт.

24

01643-30823

WASHER

SN: 10001-@

1шт.

25

421-40-12610

STEERING GEAR ASS'Y

SN: 10001-19999

1шт.

26

01583-12213

NUT

SN: 10001-19999

1шт.

27

01602-22268

WASHER,SPRING

SN: 10001-19999

1шт.

28

01050-51255

BOLT

SN: 10001-19999

3шт.

29

01643-31232

WASHER

SN: 10001-19999

3шт.

Выбрано товаров: 32