Запчасти Komatsu WA200-1 РУЛЕВ. КОЛОН. РУЛЕВ. УПРАВЛЕНИЕ И СИСТЕМА УПРАВЛЕНИЯS

Схема запчастей Komatsu WA200-1 - РУЛЕВ. КОЛОН. РУЛЕВ. УПРАВЛЕНИЕ И СИСТЕМА УПРАВЛЕНИЯS
FIT
1:1
100%

Артикул

Название

Примечание

Количество

|$0

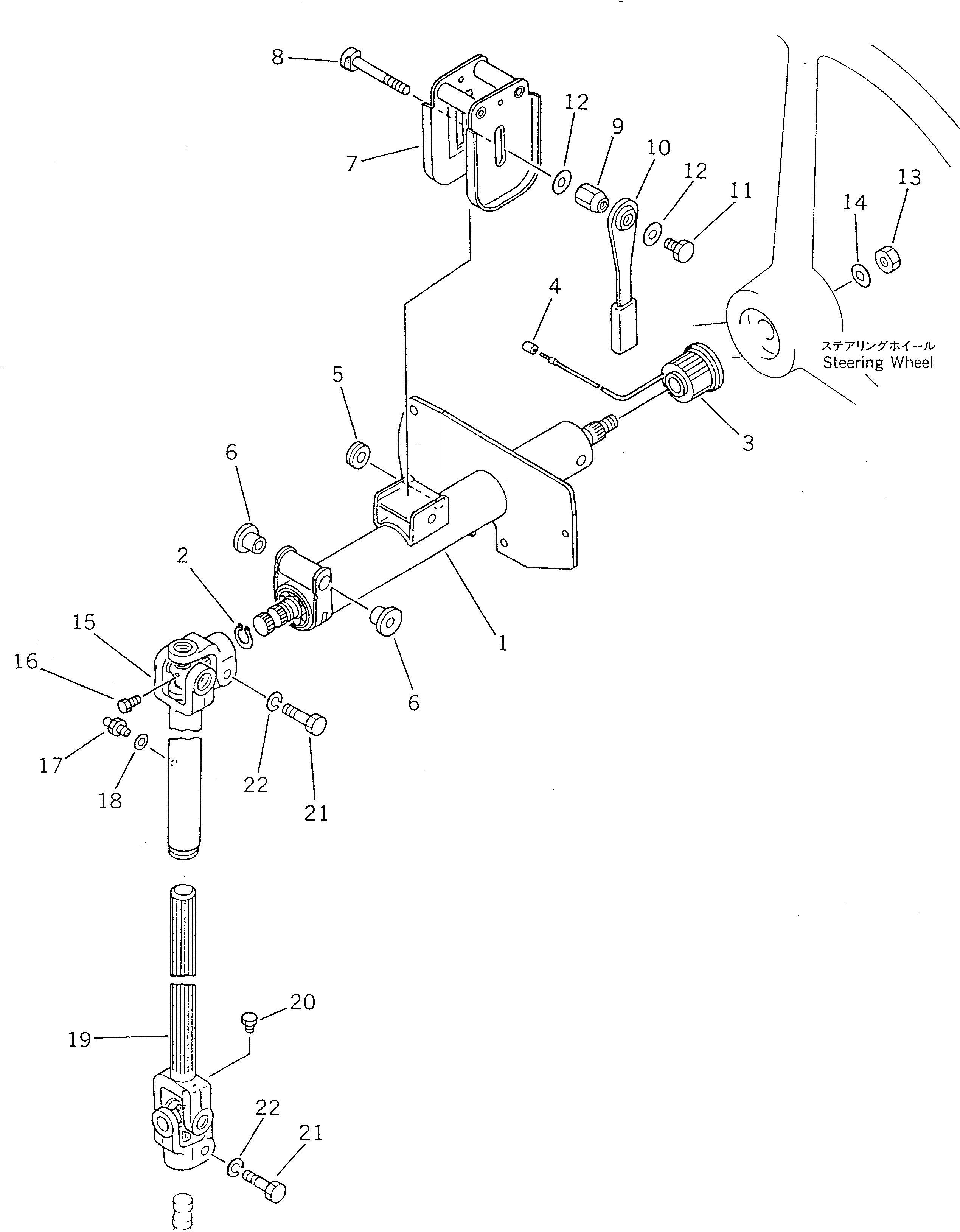
421-40-12313

STEERING COLUMN A.

SN: 10001-UP

1шт.

1

421-40-12470

COLUMN ASS'Y

SN: 10001-UP

1шт.

2

04064-02012

RING,SNAP

SN: 10001-UP

1шт.

3

421-40-12430

BUSHING

SN: 10001-UP

1шт.

4

421-40-12460

COVER

SN: 10001-UP

1шт.

5

419-40-12110

GROMMET

SN: 10001-UP

1шт.

6

421-40-12411

BUSHING

SN: 10001-UP

2шт.

7

421-40-12350

BRACKET

SN: 10001-UP

1шт.

8

421-40-12370

BOLT

SN: 10001-UP

1шт.

9

421-40-12380

NUT

SN: 10001-UP

1шт.

10

421-40-12361

LEVER

SN: 10001-UP

1шт.

11

421-40-12390

BOLT

SN: 10001-UP

1шт.

12

421-40-12420

WASHER

SN: 10001-UP

2шт.

13

421-40-12440

NUT

SN: 10001-UP

1шт.

14

421-40-12450

WASHER

SN: 10001-UP

1шт.

15

421-40-12570

JOINT ASS'Y

SN: 10001-UP

1шт.

16

421-40-12590

PLUG

SN: 10001-UP

1шт.

17

07020-00001

FITTING,GREASE

SN: 10001-UP

1шт.

18

01643-30623

WASHER

SN: 10001-UP

1шт.

19

421-40-12580

JOINT ASS'Y

SN: 10001-UP

1шт.

20

421-40-12590

PLUG

SN: 10001-UP

1шт.

21

01050-51040

BOLT

SN: 10001-UP

2шт.

22

01602-21030

WASHER,SPRING

SN: 10001-UP

2шт.

Выбрано товаров: 0