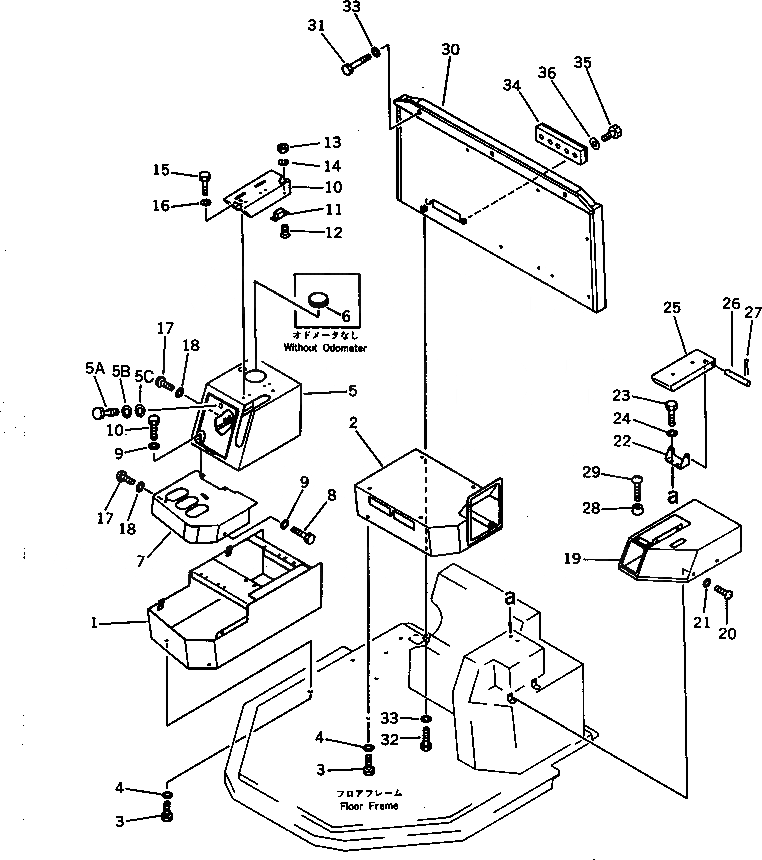
Запчасти Komatsu WA200-1 КОНСОЛЬН. БЛОК (С КОНДИЦИОНЕРОМ И ОБОГРЕВАТЕЛЬ.)(№-) РАМА И ЧАСТИ КОРПУСА

Схема запчастей Komatsu WA200-1 - КОНСОЛЬН. БЛОК (С КОНДИЦИОНЕРОМ И ОБОГРЕВАТЕЛЬ.)(№-) РАМА И ЧАСТИ КОРПУСА
FIT
1:1
100%

Артикул

Название

Примечание

Количество

1

419-54-12643

BOX

SN: 20001-UP

1шт.

2

419-54-12244

BOX

SN: 20001-UP

1шт.

3

01010-51225

BOLT

SN: 10001-UP

8шт.

4

01643-31232

WASHER

SN: 10001-UP

8шт.

5

419-54-12653

BOX

SN: 20001-UP

1шт.

5A

425-54-12960

SCREW

SN: 10001-UP

1шт.

5B

01642-20608

WASHER

SN: 10001-UP

1шт.

5C

01643-30623

WASHER

SN: 10001-UP

1шт.

6

419-54-12280

COVER,(WITHOUT ODOMETER)

SN: 10001-UP

1шт.

7

419-54-12332

COVER

SN: 20001-UP

1шт.

8

01010-50816

BOLT

SN: 10001-UP

5шт.

9

01643-30823

WASHER

SN: 10001-UP

5шт.

10

419-54-12682

BRACKET

SN: 10001-UP

1шт.

11

09452-06506

CATCHER

SN: 10001-UP

1шт.

12

01224-40412

SCREW

SN: 10001-UP

2шт.

13

01580-10403

NUT

SN: 10001-UP

2шт.

14

01601-20410

WASHER,SPRING

SN: 10001-UP

2шт.

15

01010-50616

BOLT

SN: 10001-UP

4шт.

16

01643-30623

WASHER

SN: 10001-UP

4шт.

17

01220-70616

SCREW

SN: .-UP

2шт.

17

0

SCREW

SN: 20001-.

2шт.

18

01642-40608

WASHER

SN: .-UP

2шт.

18

0

WASHER

SN: 20001-.

2шт.

19

425-54-12671

COVER

SN: 20001-UP

1шт.

20

01220-70616

SCREW

SN: .-UP

4шт.

20

423-54-12830

SCREW

SN: 10745-.

4шт.

21

01642-40608

WASHER

SN: .-UP

4шт.

21

423-54-12840

WASHER

SN: 10745-.

4шт.

22

425-54-12520

PLATE

SN: 10001-UP

1шт.

23

01010-51020

BOLT

SN: 10001-UP

2шт.

24

01643-31032

WASHER

SN: 10001-UP

2шт.

25

425-54-12510

BRACKET

SN: 10001-UP

1шт.

26

425-54-12530

SHAFT

SN: 10001-UP

1шт.

27

04050-13018

PIN,COTTER

SN: 10001-UP

2шт.

28

425-54-12590

STOPPER

SN: 10001-UP

2шт.

29

01220-30420

SCREW

SN: 10001-UP

2шт.

30

418-54-12231

COVER

SN: 10001-UP

1шт.

31

01010-51240

BOLT

SN: 10001-UP

3шт.

32

01010-51225

BOLT

SN: 10001-UP

3шт.

33

01643-31232

WASHER

SN: 10001-UP

6шт.

34

418-54-12140

PLATE

SN: 10001-UP

1шт.

35

01010-51235

BOLT

SN: 10001-UP

2шт.

36

01643-31232

WASHER

SN: 10001-UP

2шт.

Выбрано товаров: 0