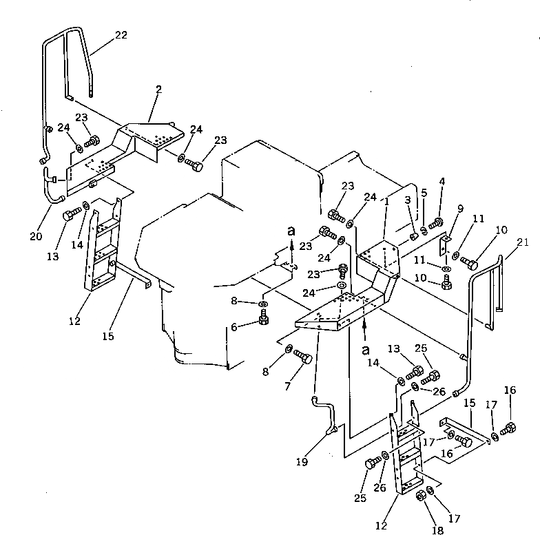
Запчасти Komatsu WA200-1 КРЫЛО И ЛЕСТНИЦА(№-) РАМА И ЧАСТИ КОРПУСА

Схема запчастей Komatsu WA200-1 - КРЫЛО И ЛЕСТНИЦА(№-) РАМА И ЧАСТИ КОРПУСА
FIT
1:1
100%

Артикул

Название

Примечание

Количество

1

418-54-14123

FENDER,L.H.

SN: 20001-UP

1шт.

2

418-54-14113

FENDER,R.H.

SN: 20001-UP

1шт.

3

418-60-15150

STOPPER

SN: 20001-UP

2шт.

4

01220-40630

SCREW

SN: 20001-UP

2шт.

5

01602-20619

WASHER,SPRING

SN: 20001-UP

2шт.

6

01010-51225

BOLT

SN: 10001-UP

4шт.

7

01010-51245

BOLT

SN: 10001-UP

2шт.

8

01643-31232

WASHER

SN: 20001-UP

6шт.

9

419-54-11750

BRACKET

SN: 20001-UP

2шт.

10

01010-51230

BOLT

SN: 20001-UP

4шт.

11

01643-31232

WASHER

SN: 20001-UP

4шт.

12

418-54-12192

LADDER

SN: 20001-UP

2шт.

13

01010-51230

BOLT

SN: 20001-UP

4шт.

14

01643-31232

WASHER

SN: 10001-UP

4шт.

15

418-54-12210

SUPPORT

SN: 10001-UP

2шт.

16

01010-51240

BOLT

SN: 10001-UP

4шт.

17

01643-31232

WASHER

SN: 10001-UP

6шт.

18

01580-11210

NUT

SN: 10001-UP

2шт.

19

418-54-12171

HANDRAIL,L.H.

SN: 10001-UP

1шт.

20

418-54-12181

HANDRAIL,R.H.

SN: 10001-UP

1шт.

21

418-54-12151

HANDRAIL,L.H.

SN: 10001-UP

1шт.

22

418-54-12161

HANDRAIL,R.H.

SN: 10001-UP

1шт.

23

01010-51225

BOLT

SN: 10001-UP

8шт.

24

01643-31232

WASHER

SN: 10001-UP

8шт.

25

01010-51230

BOLT

SN: 10001-UP

4шт.

26

01643-31232

WASHER

SN: 10001-UP

4шт.

Выбрано товаров: 26