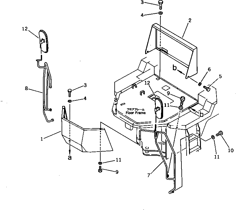
Запчасти Komatsu WA200-1 ЧАСТИ КОРПУСА И ПОРУЧНИ (БЕЗ КАБИНЫ)(№-7) РАМА И ЧАСТИ КОРПУСА

Схема запчастей Komatsu WA200-1 - ЧАСТИ КОРПУСА И ПОРУЧНИ (БЕЗ КАБИНЫ)(№-7) РАМА И ЧАСТИ КОРПУСА
FIT
1:1
100%

Артикул

Название

Примечание

Количество

1

418-54-16111

GUARD,FRONT

SN: 10001-@

1шт.

2

418-54-16220

GUARD,REAR

SN: 10001-10744

1шт.

3

01010-51225

BOLT

SN: 10001-10744

9шт.

4

01643-31232

WASHER

SN: 10001-10744

9шт.

5

01010-51025

BOLT

SN: 10001-10744

2шт.

6

01643-31032

WASHER

SN: 10001-10744

2шт.

7

418-54-16331

HANDRAIL,L.H.

SN: 10241-@

1шт.

7

0

HANDRAIL,L.H.

SN: 10001-10240

1шт.

8

418-54-16341

HANDRAIL,R.H.

SN: 10241-@

1шт.

8

0

HANDRAIL,R.H.

SN: 10001-10240

1шт.

9

01010-51225

BOLT

SN: 10001-@

4шт.

10

01010-51230

BOLT

SN: 10001-@

2шт.

11

01643-31232

WASHER

SN: 10001-@

6шт.

12

08174-13116

MIRROR

SN: 10001-@

2шт.

Выбрано товаров: 14