Запчасти Komatsu WA200-1 ГИДРОЛИНИЯ (/)(№-9999) УПРАВЛ-Е РАБОЧИМ ОБОРУДОВАНИЕМ

Схема запчастей Komatsu WA200-1 - ГИДРОЛИНИЯ (/)(№-9999) УПРАВЛ-Е РАБОЧИМ ОБОРУДОВАНИЕМ
FIT
1:1
100%

Артикул

Название

Примечание

Количество

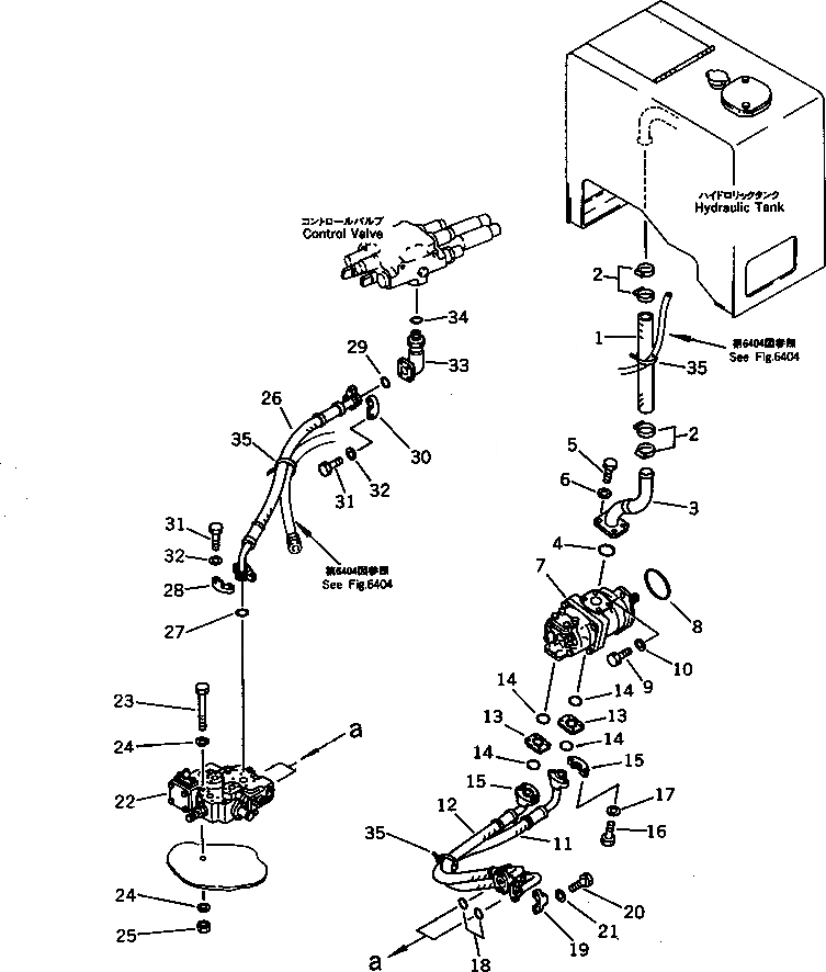
1

07260-04140

HOSE

SN: 10001-@

1шт.

2

07281-00609

CLAMP

SN: 10001-@

4шт.

3

418-62-13520

TUBE

SN: 10001-@

1шт.

4

07000-13048

O-RING

SN: 10001-@

1шт.

5

01010-51240

BOLT

SN: 10001-@

4шт.

6

01643-31232

WASHER

SN: 10001-@

4шт.

7

705-51-20150

PUMP ASS'Y

SN: 10001-19999

1шт.

8

07000-02105

O-RING

SN: 10001-@

1шт.

9

01010-31235

BOLT

SN: 10001-@

2шт.

10

01643-31232

WASHER

SN: 10001-@

2шт.

11

419-62-13120

HOSE

SN: 10001-19999

1шт.

12

418-62-13511

HOSE

SN: 10001-19999

1шт.

13

07373-10600

SPACER

SN: 10001-@

2шт.

14

07000-13025

O-RING

SN: 10001-@

4шт.

15

07371-30638

FLANGE,SPLIT

SN: 10001-@

4шт.

16

01010-50835

BOLT

SN: 10001-@

8шт.

17

01643-50823

WASHER

SN: 10001-@

8шт.

18

07000-13032

O-RING

SN: 10001-@

2шт.

19

07371-31049

FLANGE,SPLIT

SN: 10001-19999

4шт.

20

07372-01035

BOLT

SN: 10001-19999

8шт.

21

01643-51032

WASHER

SN: 10001-19999

8шт.

22

702-13-63001

VALVE ASS'Y

SN: 10001-19999

1шт.

22

702-13-83000

VALVE ASS'Y,(FOR TBG/ABE SPEC.)

SN: 10001-19999

1шт.

23

01011-31240

BOLT

SN: 10001-19999

3шт.

24

01643-31232

WASHER

SN: 10001-19999

6шт.

25

01580-11210

NUT

SN: 10001-19999

3шт.

26

418-62-13540

HOSE

SN: 10001-19999

1шт.

27

07000-13038

O-RING

SN: 10001-@

1шт.

28

07371-31255

FLANGE,SPLIT

SN: 10001-@

2шт.

29

07000-13032

O-RING

SN: 10001-19999

1шт.

30

07371-31049

FLANGE,SPLIT

SN: 10001-19999

2шт.

31

07372-01035

BOLT

SN: 10001-@

8шт.

32

01643-51032

WASHER

SN: 10001-@

8шт.

33

418-62-13121

ELBOW

SN: 10001-19999

1шт.

34

07002-13334

O-RING

SN: 10001-@

1шт.

35

08034-00536

BAND

SN: 10001-19999

4шт.

Выбрано товаров: 36